LEMON Manuals: Even more car manuals for everyone: 1960-2025
Home >> Cadillac >> 2019 >> Escalade Base, 4WD >> Repair and Diagnosis >> External Pages >> Different car >> Section 52 (Component Connector End Views (K20 LUW/LWE-M74LR)) >> Component Connector End Views >> K43 Power Steering Control Module X2 (NJ1+AYF)
April 5, 2026: LEMON Manuals is launched! Read the announcement.

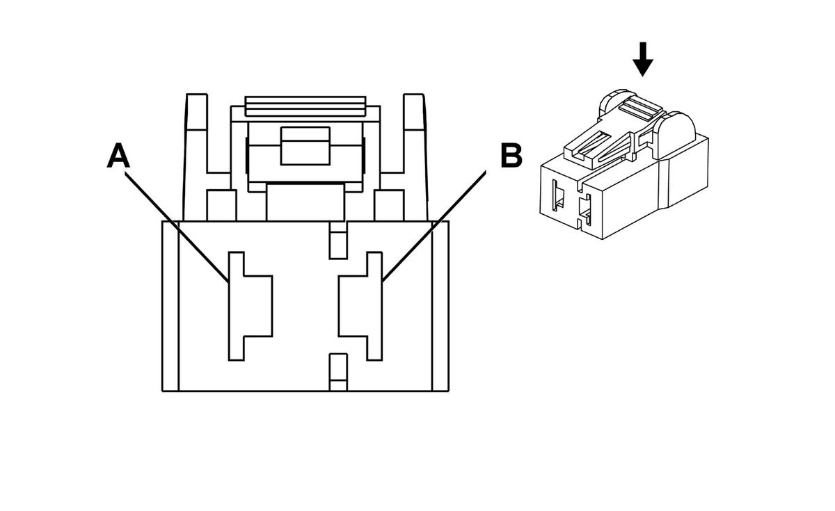
K43 Power Steering Control Module X2 (NJ1+AYF)

WARNING: This page is about a different car, the 2018 Chevrolet Sonic. However, it is still accessible from the selected car via links, so may be relevant.
GM2713935Courtesy of GENERAL MOTORS COMPANY
Connector Part Information
  • Harness Type: Power Steering Jumper
  • OEM Connector: 45-40312
  • Service Connector: Service by Harness - See Part Catalog
  • Description: 2-Way F 8.0 Series (BK)
Terminal Part Information

Terminal Type ID Terminated Lead Diagnostic Test Probe Terminal Removal Tool Service Terminal Tray Name Core Crimp Insulation Crimp
I Not Required J-35616-44 (YE) No Tool Required Not Required Not Required Not Required Not Required
Pin Size Color Circuit Function Terminal Type ID Option
A 8 RD/GN 40 Battery Positive Voltage I AYF+NJ1
B 8 BK 1950 Ground I AYF+NJ1