LEMON Manuals: Even more car manuals for everyone: 1960-2025
Home >> Cadillac >> 2019 >> XT5 Base, FWD >> Repair and Diagnosis (Single Page) >> Quick Lookups >> Wiring Diagrams >> Component Connector End Views (A3L-B174G) >> Component Connector End Views >> B77LF Radio Volume Compensator Interior Noise Microphone - Left Front
April 5, 2026: LEMON Manuals is launched! Read the announcement.

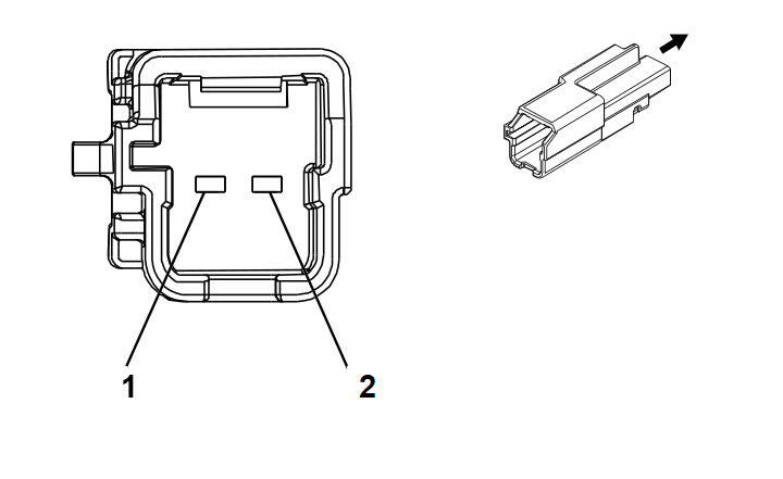
B77LF Radio Volume Compensator Interior Noise Microphone - Left Front

GM4116496Courtesy of GENERAL MOTORS COMPANY
Connector Part Information
  • Harness Type: Headliner
  • OEM Connector: 13588641
  • Service Connector: 19332376
  • Description: 2-Way M 1.2 Series (BK)
Terminal Part Information

Terminal Type ID Terminated Lead Diagnostic Test Probe Terminal Removal Tool Service Terminal Tray Name Core Crimp Insulation Crimp
I Not Required J-35616-17 (LT GN) No Tool Required Not Required Not Required Not Required Not Required
Pin Size Color Circuit Function Terminal Type ID Option
1 0.5 GN/BK 3008 Noise Reduction Microphone 1 Low Reference I NKC
2 0.5 GN/BN 3005 Noise Reduction Microphone 1 Signal I NKC