LEMON Manuals: Even more car manuals for everyone: 1960-2025
Home >> Cadillac >> 2019 >> XT5 Base, FWD >> Repair and Diagnosis >> External Pages >> Different car >> Section 115 (Component Connector End Views (A3L-B68A)) >> Component Connector End Views >> B18 Battery Current Sensor
April 5, 2026: LEMON Manuals is launched! Read the announcement.

B18 Battery Current Sensor

WARNING: This page is about a different car, the 2019 Chevrolet Malibu. However, it is still accessible from the selected car via links, so may be relevant.
GM4569745Courtesy of GENERAL MOTORS COMPANY
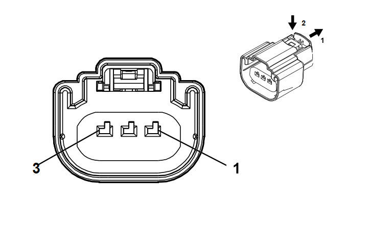
Connector Part Information
  • Harness Type: Body
  • OEM Connector: 33343869
  • Service Connector: 19179750
  • Description: 3-Way F 150 MX Series, Sealed (BK)
Terminal Part Information

Terminal Type ID Terminated Lead Diagnostic Test Probe Terminal Removal Tool Service Terminal Tray Name Core Crimp Insulation Crimp
I Not Required J-35616-14 (GN) No Tool Required Not Required Not Required Not Required Not Required
Pin Size Color Circuit Function Terminal Type ID Option
1 0.35 BU/VT 5076 Current Sensor Control I -
2 0.35 BK/VT 5077 Current Sensor Low Reference I -
3 0.35 WH/YE 5075 Current Sensor Signal I -