LEMON Manuals: Even more car manuals for everyone: 1960-2025
Home >> Cadillac >> 2019 >> XT5 Base, FWD >> Repair and Diagnosis >> External Pages >> Different car >> Section 116 (Component Connector End Views (B68B-F106LR)) >> Component Connector End Views >> B130A Exhaust Gas Recirculation Temperature Sensor 1 (LKN)
April 5, 2026: LEMON Manuals is launched! Read the announcement.

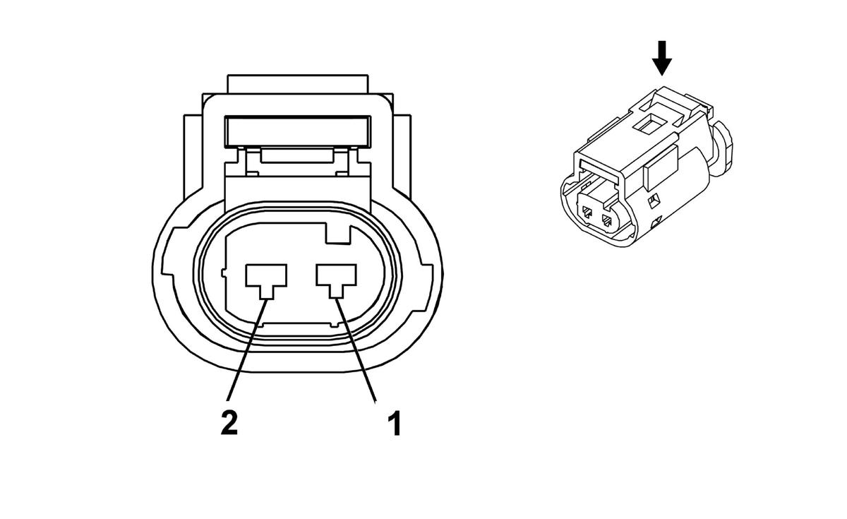
B130A Exhaust Gas Recirculation Temperature Sensor 1 (LKN)

WARNING: This page is about a different car, the 2019 Chevrolet Malibu. However, it is still accessible from the selected car via links, so may be relevant.
GM2817247Courtesy of GENERAL MOTORS COMPANY
Connector Part Information
  • Harness Type: Engine
  • OEM Connector: 13835571
  • Service Connector: 19301825
  • Description: 2-Way F 1.2 Series, Sealed (BK)
Terminal Part Information

Terminal Type ID Terminated Lead Diagnostic Test Probe Terminal Removal Tool Service Terminal Tray Name Core Crimp Insulation Crimp
I Not Required J-35616-16 (LT GN) No Tool Required Not Required Not Required Not Required Not Required
Pin Size Color Circuit Function Terminal Type ID Option
1 0.5 WH/BN 3237 Exhaust Gas Recirculation Temperature Sensor Signal I -
2 0.5 BK/BU 6274 Exhaust Gas Recirculation Temperature Sensor Low Reference I -