LEMON Manuals: Even more car manuals for everyone: 1960-2025
Home >> Cadillac >> 2019 >> XT5 Base, FWD >> Repair and Diagnosis >> External Pages >> Different car >> Section 119 (Component Connector End Views (K84-K112C)) >> Component Connector End Views >> K114B Hybrid/EV Powertrain Control Module 2 X5 (HP4)
April 5, 2026: LEMON Manuals is launched! Read the announcement.

K114B Hybrid/EV Powertrain Control Module 2 X5 (HP4)

WARNING: This page is about a different car, the 2019 Chevrolet Malibu. However, it is still accessible from the selected car via links, so may be relevant.
GM5112891Courtesy of GENERAL MOTORS COMPANY
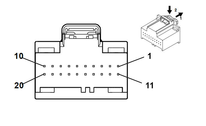
Connector Part Information
  • Harness Type: Hybrid-EV Battery
  • OEM Connector: 35160140
  • Service Connector: Service by Harness - See Part Catalog
  • Description: 20-Way F 0.64 Series (BK)
Terminal Part Information

Terminal Type ID Terminated Lead Diagnostic Test Probe Terminal Removal Tool Service Terminal Tray Name Core Crimp Insulation Crimp
I Not Required J-35616-64B (LT BU) No Tool Required Not Required Not Required Not Required Not Required
Pin Size Color Circuit Function Terminal Type ID Option
1 0.5 VT 5087 High Voltage Interlock Loop Signal 1 I -
2 - 3 - - - Not Occupied - -
4 0.35 BU/YE 2962 High Voltage Battery Current Sensor Course Signal I -
5 - 10 - - - Not Occupied - -
11 0.5 BK/BN 5088 High Voltage Interlock Loop Low Reference 1 I -
12 - - - Not Occupied - -
13 0.35 VT/RD 2965 High Voltage Battery Current Sensor Voltage Reference I -
14 0.35 BK/GY 2963 High Voltage Battery Current Sensor Low Reference I -
15 - 20 - - - Not Occupied - -