LEMON Manuals: Even more car manuals for everyone: 1960-2025
Home >> Cadillac >> 2019 >> XT5 Base, FWD >> Repair and Diagnosis >> External Pages >> Different car >> Section 121 (Component Connector End Views (S79P-X92 Except A45)) >> Component Connector End Views >> T6 Power Inverter Module X1 (HP4)
April 5, 2026: LEMON Manuals is launched! Read the announcement.

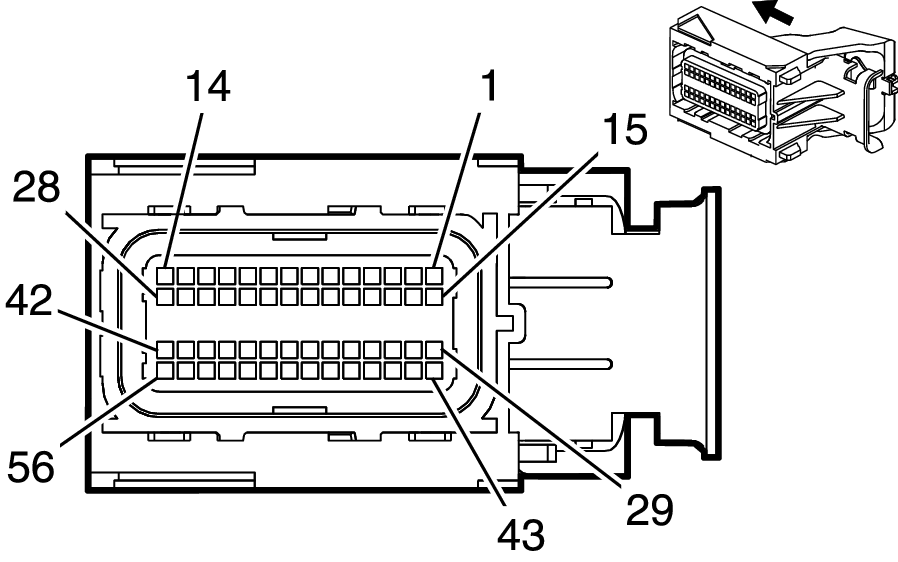
T6 Power Inverter Module X1 (HP4)

WARNING: This page is about a different car, the 2019 Chevrolet Malibu. However, it is still accessible from the selected car via links, so may be relevant.
GM4114799Courtesy of GENERAL MOTORS COMPANY
Connector Part Information
  • Harness Type: Engine
  • OEM Connector: 13946578
  • Service Connector: 19352787
  • Description: 56-Way F MX123 34576 Series (BK with GY Terminal Position Assurance)
Terminal Part Information

Terminal Type ID Terminated Lead Diagnostic Test Probe Terminal Removal Tool Service Terminal Tray Name Core Crimp Insulation Crimp
I 13575812 J-35616-64B (LT BU) J-38125-213 33467-0005 Delphi 23 J J
Pin Size Color Circuit Function Terminal Type ID Option
1 0.75 BK/WH 151 Signal Ground I -
2 0.75 RD/GN 1840 Battery Positive Voltage I -
3 0.5 VT/BK 2139 Run/Crank Ignition 1 Voltage I -
4 0.5 BU/WH 3977 Accessory Wakeup Serial Data 2 I -
5 - - - Not Occupied - -
6 0.5 BU/YE 6105 High Speed GMLAN Serial Data (+) 2 I -
7 0.5 WH 6106 High Speed GMLAN Serial Data (-) 2 I -
8 0.5 BU/YE 6105 High Speed GMLAN Serial Data (+) 2 I -
9 0.5 WH 6106 High Speed GMLAN Serial Data (-) 2 I -
10 - 19 - - - Not Occupied - -
20 0.5 BU/YE 6105 High Speed GMLAN Serial Data (+) 2 I -
21 0.5 WH 6106 High Speed GMLAN Serial Data (-) 2 I -
22 - 28 - - - Not Occupied - -
29 0.5 VT/BU 6091 Crankshaft Position Sensor Replicated Signal I -
30 - - - Not Occupied - -
31 0.5 BU 2500 High Speed GMLAN Serial Data (+) 1 I -
32 0.5 WH 2501 High Speed GMLAN Serial Data (-) 1 I -
33 0.5 BU/BK 7493 High Speed GMLAN Serial Data (+)3 I -
34 0.5 WH 7494 High Speed GMLAN Serial Data (-)3 I -
35 - 44 - - - Not Occupied - -
45 0.5 BU 2500 High Speed GMLAN Serial Data (+) 1 I -
46 0.5 WH 2501 High Speed GMLAN Serial Data (-) 1 I -
47 0.5 BU/BK 7493 High Speed GMLAN Serial Data (+)3 I -
48 0.5 WH 7494 High Speed GMLAN Serial Data (-)3 I -
49 - - - Not Occupied - -
50 0.75 RD/WH 2040 Battery Positive Voltage I -
51 0.75 BK/WH 151 Signal Ground I -
52 - 56 - - - Not Occupied - -