LEMON Manuals: Even more car manuals for everyone: 1960-2025
Home >> Cadillac >> 2019 >> XT5 Base, FWD >> Repair and Diagnosis >> External Pages >> Different car >> Section 25 (Component Connector End Views (M37B-S2R)) >> Component Connector End Views >> S2L Transmission Manual Shift Switch - Left
April 5, 2026: LEMON Manuals is launched! Read the announcement.

S2L Transmission Manual Shift Switch - Left

WARNING: This page is about a different car, the 2018 Cadillac XT5. However, it is still accessible from the selected car via links, so may be relevant.
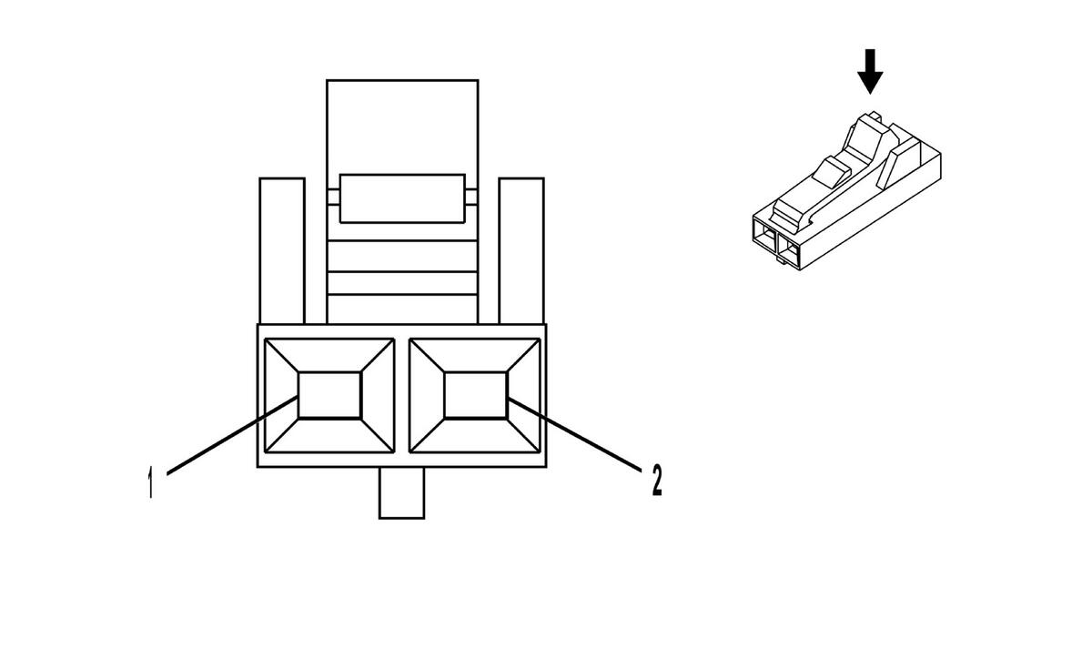
GM3292018Courtesy of GENERAL MOTORS COMPANY
Connector Part Information
  • Harness Type: Steering Wheel
  • OEM Connector: 104257-1
  • Service Connector: Service by Harness - See Part Catalog
  • Description: 2-Way F 0.64 Series (BK)
Terminal Part Information

Terminal Type ID Terminated Lead Diagnostic Test Probe Terminal Removal Tool Service Terminal Tray Name Core Crimp Insulation Crimp
I Not Required J-35616-65B (LT BU) No Tool Required Not Required Not Required Not Required Not Required
Pin Size Color Circuit Function Terminal Type ID Option
1 0.35 BK 1050 Ground I -
2 0.35 GN 5525 Tap Up/Tap Down Enable Signal I -