LEMON Manuals: Even more car manuals for everyone: 1960-2025
Home >> Cadillac >> 2019 >> XTS Base >> Repair and Diagnosis (Single Page) >> Electrical >> Body Electrical >> Component Connector End Views - (B87-C1) >> Component Connector End Views >> B233RF Radar Sensor Module - Short Range Right Front
April 5, 2026: LEMON Manuals is launched! Read the announcement.

B233RF Radar Sensor Module - Short Range Right Front

GM4708234Courtesy of GENERAL MOTORS COMPANY
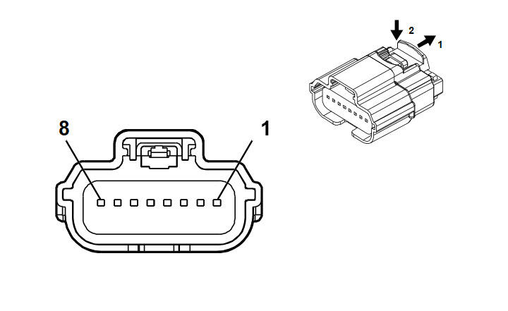
Connector Part Information
  • Harness Type: Front Fascia
  • OEM Connector: 31404-8131
  • Service Connector: Service by Harness - See Part Catalog
  • Description: 8-Way F 64 Series, Sealed (BK)
Terminal Part Information

Terminal Type ID Terminated Lead Diagnostic Test Probe Terminal Removal Tool Service Terminal Tray Name Core Crimp Insulation Crimp
I Not Required J-35616-64B (LT BU) No Tool Required Not Required Not Required Not Required Not Required
Pin Size Color Circuit Function Terminal Type ID Option
1 0.5
0.5
WH
WH
3811
3811
High Speed GMLAN Serial Data (-) 4
High Speed GMLAN Serial Data (-) 4
I
I
UGN-CZ2
UVZ
2 0.5
0.5
BU/VT
BU/VT
3813
3813
High Speed GMLAN Serial Data (+) 4
High Speed GMLAN Serial Data (+) 4
I
I
UGN-CZ2
UVZ
3 0.35 BK 1150 Ground I -
4 - - - Not Occupied - -
5 0.35 GY/VT 3808 Front Object Sensor Control 2 I -
6 0.5
0.5
WH
WH
3811
3811
High Speed GMLAN Serial Data (-) 4
High Speed GMLAN Serial Data (-) 4
I
I
UGN-CZ2
UVZ
7 0.5
0.5
BU/VT
BU/VT
3813
3813
High Speed GMLAN Serial Data (+) 4
High Speed GMLAN Serial Data (+) 4
I
I
UGN-CZ2
UVZ
8 0.35 BK 1150 Ground I -