LEMON Manuals: Even more car manuals for everyone: 1960-2025
Home >> Cadillac >> 2019 >> XTS Base >> Repair and Diagnosis >> External Pages >> Different car >> Section 13 (Component Connector End Views (A3L-B150)) >> Component Connector End Views >> B118B Windshield Washer Fluid Level Switch
April 5, 2026: LEMON Manuals is launched! Read the announcement.

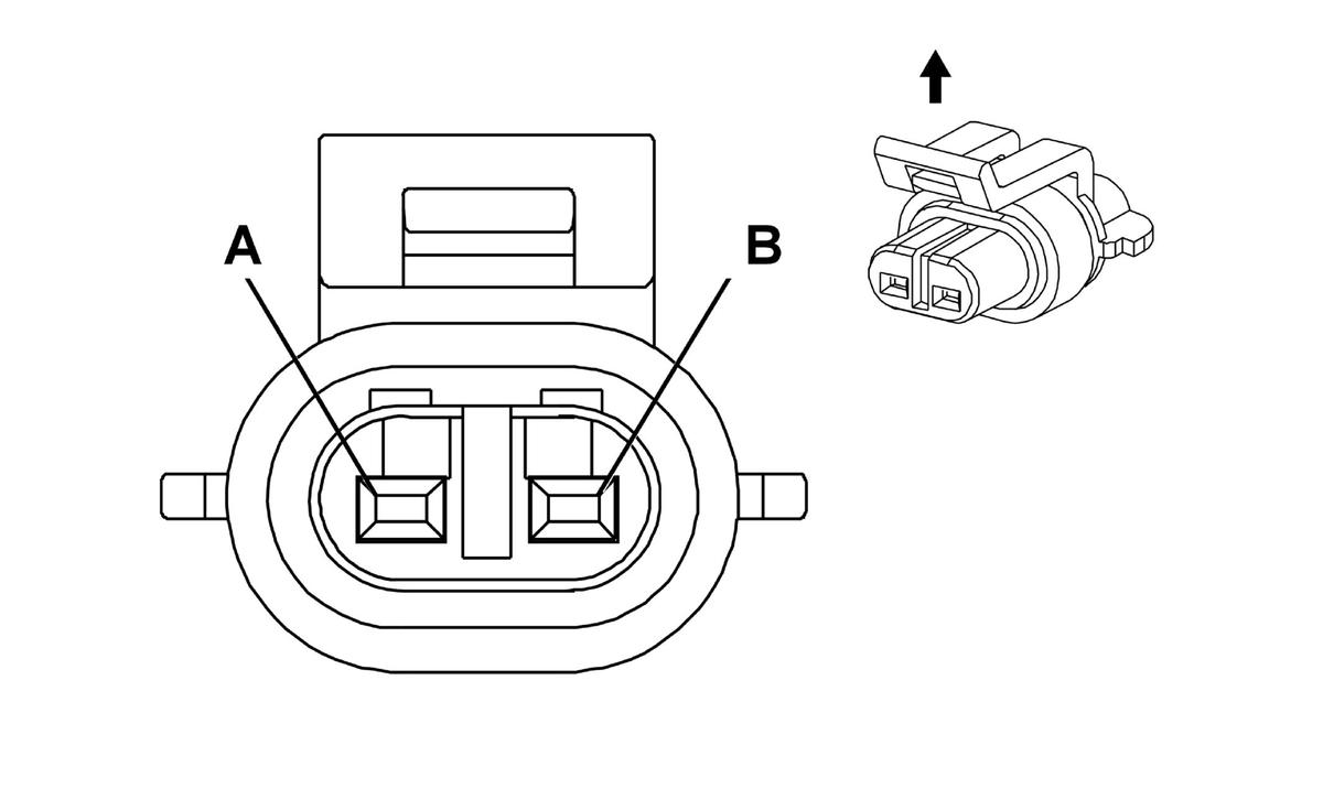
B118B Windshield Washer Fluid Level Switch

WARNING: This page is about a different car, the 2018 Cadillac XTS. However, it is still accessible from the selected car via links, so may be relevant.
GM2179756Courtesy of GENERAL MOTORS COMPANY
Connector Part Information
  • Harness Type: Forward Lamp
  • OEM Connector: 90346580
  • Service Connector: 13580106
  • Description: 2-Way F 150 Metri-Pack Series, Sealed (BK)
Terminal Part Information

Terminal Type ID Terminated Lead Diagnostic Test Probe Terminal Removal Tool Service Terminal Tray Name Core Crimp Insulation Crimp
I Not Required J-35616-14 (GN) No Tool Required Not Required Not Required Not Required Not Required
Pin Size Color Circuit Function Terminal Type ID Option
A 0.5 VT 185 Low Washer Fluid Indicator Control I -
B 0.5 BK 1150 Ground I -