LEMON Manuals: Even more car manuals for everyone: 1960-2025
Home >> Cadillac >> 2019 >> XTS Base >> Repair and Diagnosis >> External Pages >> Different car >> Section 16 (Component Connector End Views (K20-K50)) >> Component Connector End Views >> K29F Seat Heating Control Module - Front X2 (CZ2)
April 5, 2026: LEMON Manuals is launched! Read the announcement.

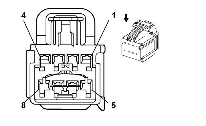
K29F Seat Heating Control Module - Front X2 (CZ2)

WARNING: This page is about a different car, the 2018 Cadillac XTS. However, it is still accessible from the selected car via links, so may be relevant.
GM1849808Courtesy of GENERAL MOTORS COMPANY
Connector Part Information
  • Harness Type: Passenger Seat Cushion
  • OEM Connector: 7283-3441-40
  • Service Connector: Service by Harness - See Part Catalog
  • Description: 8-Way F 1.5 YESC Kaizen Series (L-GY)
Terminal Part Information

Terminal Type ID Terminated Lead Diagnostic Test Probe Terminal Removal Tool Service Terminal Tray Name Core Crimp Insulation Crimp
I Not Required J-35616-2A (GY) No Tool Required Not Required Not Required Not Required Not Required
Pin Size Color Circuit Function Terminal Type ID Option
1 - - - Not Occupied - -
2 0.75 RD/YE 1442 Battery Positive Voltage I -
3 0.75 RD/GY 1342 Battery Positive Voltage I -
4 1 BN/VT 2077 Driver Heated Seat Element Control I -
5 0.5 BN/BU 2479 Passenger Heated Seat Element Control I -
6 0.5 GY 2045 Video Synchronization Signal 1 I -
7 0.75 BK 2050 Ground I -
8 1 BN 2432 Driver Heated Back Element Control I -