LEMON Manuals: Even more car manuals for everyone: 1960-2025
Home >> Cadillac >> 2020 >> XT6 Sport >> Repair and Diagnosis >> External Pages >> Different car >> Section 249 (Suspension Controls) >> Schematic Wiring Diagrams >> Electronic Suspension Control Schematics >> Module Power, Ground, and Serial Data
April 5, 2026: LEMON Manuals is launched! Read the announcement.

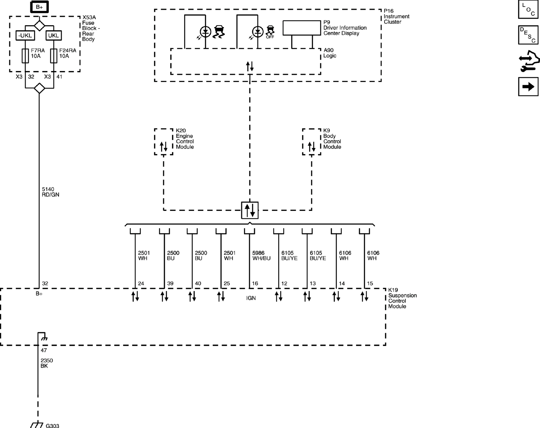
Module Power, Ground, and Serial Data

WARNING: This page is about a different car, the 2020 Cadillac CT6. However, it is still accessible from the selected car via links, so may be relevant.
GM5363796Courtesy of GENERAL MOTORS COMPANY