LEMON Manuals: Even more car manuals for everyone: 1960-2025
Home >> Cadillac >> 2021 >> CT4 V, 4WD >> Repair and Diagnosis >> External Pages >> Different car >> Section 356 (Component Connector End Views (K71 - K157)) >> Component Connector End Views >> K124 Image Processing Module X2 (UGN)
April 5, 2026: LEMON Manuals is launched! Read the announcement.

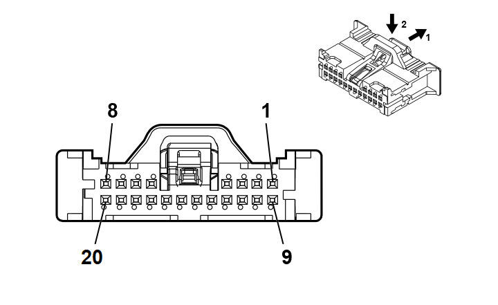
K124 Image Processing Module X2 (UGN)

WARNING: This page is about a different car, the 2022 Cadillac CT5. However, it is still accessible from the selected car via links, so may be relevant.
GM5360760Courtesy of GENERAL MOTORS COMPANY
Connector Part Information
  • Harness Type:Body Wiring Harness
  • OEM Connector: 35068197
  • Service Connector: 13529922
  • Description: 20-Way F 050 CTS Series (GY)
Terminal Part Information

Terminal Type ID Terminated Lead Diagnostic Test Probe Terminal Removal Tool
I 19333221 EL-35616-58 (BK) J-38125-215A
Pin Size Color Circuit Function Terminal Type ID Option
1 0.35 WH 4978 AUTOSAR CAN Bus [-] 2 Serial Data I -
2 0.35 WH 4978 AUTOSAR CAN Bus [-] 2 Serial Data I -
3 0.35 BU/YE 4979 AUTOSAR CAN Bus [+] 2 Serial Data I -
4 0.35 BU/YE 4979 AUTOSAR CAN Bus [+] 2 Serial Data I -
5 0.35 WH/GY 4104 AUTOSAR CAN Bus [-] 8 Serial Data I -
6 - 9 - - - Not Occupied - -
10 0.35 WH 4978 AUTOSAR CAN Bus [-] 2 Serial Data I -
11 0.35 BU/YE 4979 AUTOSAR CAN Bus [+] 2 Serial Data I -
12 - 16 - - - Not Occupied - -
17 0.35 BU/GY 4105 AUTOSAR CAN Bus [+] 8 Serial Data I -
18 - 20 - - - Not Occupied - -