LEMON Manuals: Even more car manuals for everyone: 1960-2025
Home >> Cadillac >> 2021 >> CT4 V, 4WD >> Repair and Diagnosis >> External Pages >> Different car >> Section 357 (Component Connector End Views (K160 - M50P)) >> Component Connector End Views >> K219 Lighting Control Module X3
April 5, 2026: LEMON Manuals is launched! Read the announcement.

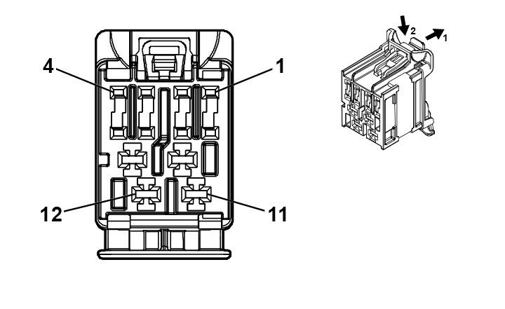
K219 Lighting Control Module X3

WARNING: This page is about a different car, the 2022 Cadillac CT5. However, it is still accessible from the selected car via links, so may be relevant.
GM5203797Courtesy of GENERAL MOTORS COMPANY
Connector Part Information
  • Harness Type:Forward Lamp Wiring Harness
  • OEM Connector: 33382116
  • Service Connector: 13509989
  • Description: 12-Way F 1.2, 2.8 stAK50h Series (GN)
Terminal Part Information

Terminal Type ID Terminated Lead Diagnostic Test Probe Terminal Removal Tool
I 84729890 J-35616-12 (BU) J-38125-553
II 87814662 J-35616-4A (PU) J-38125-557
Pin Size Color Circuit Function Terminal Type ID Option
1 0.5 GY/BU 7538 Left Front DRL Control I -
2 0.5
0.5
BU/BN
GY
7539
2748
Right Front DRL Control
Right Front Lamp Assembly 2 Supply Voltage
I
I
-T87
T87-TR7
3 - - - Not Occupied - -
4 0.5 BU/GN 1203 Right Park Lamp Control 2 I -
5 - - - Not Occupied - -
6 0.75 GN/VT 1315 Right Front Turn Signal Lamp Control I -
7 0.35
0.5
BU/GN
WH
1253
2749
Right Front Park Lamp Control
Right Front Lamp Assembly Control
I
I
-T87
T87-TR7
8 - - - Not Occupied - -
9 1 RD/BN 2940 Battery Positive Voltage II -
10 1 RD/GY 2840 Battery Positive Voltage II -
11 0.5 WH 311 Right Headlamp High Beam Control II -
12 0.5 YE 312 Right Headlamp Low Beam Control II -