LEMON Manuals: Even more car manuals for everyone: 1960-2025
Home >> Cadillac >> 2021 >> XT5 Sport >> Repair and Diagnosis >> External Pages >> Different car >> Section 31 (Component Connector End Views (A7-B80)) >> Component Connector End Views >> B71L Liftgate Object Sensor - Left
April 5, 2026: LEMON Manuals is launched! Read the announcement.

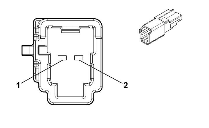
B71L Liftgate Object Sensor - Left

WARNING: This page is about a different car, the 2020 Cadillac XT5. However, it is still accessible from the selected car via links, so may be relevant.
GM5355341Courtesy of GENERAL MOTORS COMPANY
Connector Part Information
  • Harness Type: Liftgate
  • OEM Connector: 6098-9070
  • Service Connector: Service by Harness - See Part Catalog
  • Description: 2-Way M 1.2 MCON Series (BK)
Terminal Part Information

Terminal Type ID Terminated Lead Diagnostic Test Probe Terminal Removal Tool Service Terminal Tray Name Core Crimp Insulation Crimp
I Not Required J-35616-17 (LT GN) No Tool Required Not Required Not Required Not Required Not Required
Pin Size Color Circuit Function Terminal Type ID Option
1 0.5 GY/BK 5802 Liftgate Object Sensor Signal I TB5
2 0.5 BK/PU 5801 Liftgate Object Sensor Low Reference I TB5