LEMON Manuals: Even more car manuals for everyone: 1960-2025
Home >> Cadillac >> 2021 >> XT5 Sport >> Repair and Diagnosis >> External Pages >> Different car >> Section 35 (Component Connector End Views (K71-M123)) >> Component Connector End Views >> K84 Keyless Entry Control Module X2
April 5, 2026: LEMON Manuals is launched! Read the announcement.

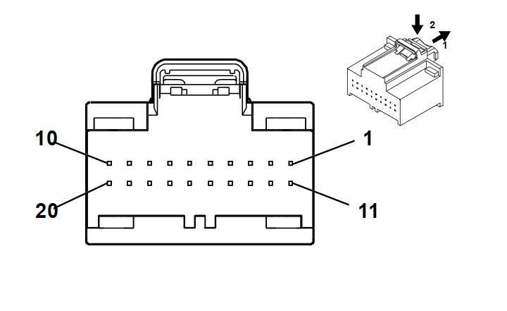
K84 Keyless Entry Control Module X2

WARNING: This page is about a different car, the 2020 Cadillac XT5. However, it is still accessible from the selected car via links, so may be relevant.
GM5109537Courtesy of GENERAL MOTORS COMPANY
Connector Part Information
  • Harness Type: Body
  • OEM Connector: 13525991
  • Service Connector: 13525991
  • Description: 20-Way F 0.64 Series (GY)
Terminal Part Information

Terminal Type ID Terminated Lead Diagnostic Test Probe Terminal Removal Tool Service Terminal Tray Name Core Crimp Insulation Crimp
I 13575742 J-35616-64B (LT BU) J-38125-215A SAIT-A03T-M064 Yazaki 14 P P
II 13582297 J-35616-64B (LT BU) J-38125-215A Not Available Not Available Not Available Not Available
Pin Size Color Circuit Function Terminal Type ID Option
1 0.35 YE/GY 6158 Right Rear Door Handle Switch Signal II -
2 0.35 BN/YE 6157 Left Rear Door Handle Switch Signal II -
3 - 5 - - - Not Occupied - -
6 0.35 PU 3560 Driver Door Keyless Entry Antenna High Signal II -
7 0.35 PU/GY 3561 Driver Door Keyless Entry Antenna Low Signal II -
8 0.5 GY 2066 Hands-Free Liftgate Sensor Lamp Control I TC2
9 0.35 GN/BK 3563 Passenger Door Keyless Entry Antenna Low Signal II -
10 - - - Not Occupied - -
11 0.35 PU/WH 3571 Passenger Door Handle Switch Signal II -
12 0.35 GN/WH 3570 Driver Door Handle Switch Signal II -
13 - 15 - - - Not Occupied - -
16 0.35 BN/GN 3568 Rear Closure Keyless Entry Antenna High Signal II -
17 - - - Not Occupied - -
18 0.35 GN/GY 3569 Rear Closure Keyless Entry Antenna Low Signal II -
19 - - - Not Occupied - -
20 0.35 GN/YE 3562 Passenger Door Keyless Entry Antenna High Signal II -