LEMON Manuals: Even more car manuals for everyone: 1960-2025
Home >> Cadillac >> 2021 >> XT5 Sport >> Repair and Diagnosis >> External Pages >> Different car >> Section 36 (Component Connector End Views (M128-S48A)) >> Component Connector End Views >> P17 Info Display Module X2
April 5, 2026: LEMON Manuals is launched! Read the announcement.

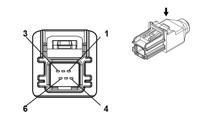
P17 Info Display Module X2

WARNING: This page is about a different car, the 2020 Cadillac XT5. However, it is still accessible from the selected car via links, so may be relevant.
GM4806625Courtesy of GENERAL MOTORS COMPANY
Connector Part Information
  • Harness Type: Instrument Panel LVDS
  • OEM Connector: 13522802
  • Service Connector: Service by Cable Assembly - See Part Catalog
  • Description: 6-Way M HSAL-2 Series (BK)
Terminal Part Information

Terminal Type ID Terminated Lead Diagnostic Test Probe Terminal Removal Tool Service Terminal Tray Name Core Crimp Insulation Crimp
I Not Required No Tool Required No Tool Required Not Required Not Required Not Required Not Required
Pin Size Color Circuit Function Terminal Type ID Option
- - LVDS - (Infotainment) Infotainment Display Signal I -