LEMON Manuals: Even more car manuals for everyone: 1960-2025
Home >> Cadillac >> 2021 >> XT5 Sport >> Repair and Diagnosis >> External Pages >> Different car >> Section 521 (Component Connector End Views (K9 (X4)-K40D (X6))) >> Component Connector End Views >> K40D Seat Memory Control Module - Driver X1 (AAB)
April 5, 2026: LEMON Manuals is launched! Read the announcement.

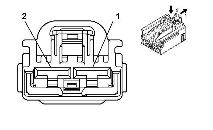
K40D Seat Memory Control Module - Driver X1 (AAB)

WARNING: This page is about a different car, the 2021 Chevrolet Traverse. However, it is still accessible from the selected car via links, so may be relevant.
GM5116029Courtesy of GENERAL MOTORS COMPANY
Connector Part Information
  • Harness Type: Driver Seat
  • OEM Connector: 7289-7782-40
  • Service Connector: Service by Harness - See Part Catalog
  • Description: 2-Way F 6.3 Series (GY)
Terminal Part Information

Terminal Type ID Terminated Lead Diagnostic Test Probe Terminal Removal Tool
I Not required J-35616-42 (RD) No Tool Required
Pin Size Color Circuit Function Terminal Type ID Option
1 1 RD / GN 5140 Battery Positive Voltage I -
2 2 RD / YE 5040 Battery Positive Voltage I -