K34 Glow Plug Control Module X2
WARNING: This page is about a different car, the 2023 GMC Sierra 3500 HD and 2023 GMC Sierra 2500 HD. However, it is still accessible from the selected car via links, so may be relevant.
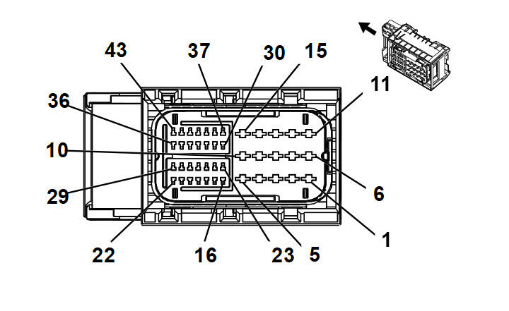
Courtesy of GENERAL MOTORS COMPANY
|
Connector Part Information
- Harness Type: Engine Wiring Harness
- OEM Connector: 12639358
- Service Connector: 13576417
- Description: 43-Way F 1.2, 2.8 Series, Sealed (BK)
|
Terminal Part Information
| Terminal Type ID |
Terminated Lead |
Diagnostic Test Probe |
Terminal Removal Tool |
| I |
13576372 |
J-35616-4A (PU) |
J-38125-556 |
| II |
19331734 |
J-35616-12 (BU) |
J-38125-11A |
| Pin |
Size |
Color |
Circuit |
Function |
Terminal Type ID |
Option |
| 1 |
- |
- |
- |
Not Occupied |
- |
- |
| 2 |
2 |
GY/YE |
1584 |
Glow Plug 4 Control |
I |
L5P |
| 3 |
2 |
GY/GN |
1583 |
Glow Plug 3 Control |
I |
L5P |
| 4 |
2 |
GY/BN |
1582 |
Glow Plug 2 Control |
I |
L5P |
| 5 |
2 |
GY/BU |
1581 |
Glow Plug 1 Control |
I |
L5P |
| 6 - 9 |
- |
- |
- |
Not Occupied |
- |
- |
| 10 |
2 |
BK |
250 |
Ground |
I |
L5P |
| 11 |
- |
- |
- |
Not Occupied |
- |
- |
| 12 |
2 |
GY/WH |
1585 |
Glow Plug 5 Control |
I |
L5P |
| 13 |
2 |
GY/VT |
1586 |
Glow Plug 6 Control |
I |
L5P |
| 14 |
2 |
WH/BK |
1587 |
Glow Plug 7 Control |
I |
L5P |
| 15 |
2 |
WH/BU |
1588 |
Glow Plug 8 Control |
I |
L5P |
| 16 |
0.5 |
BK |
C92 |
Cavity Seal |
II |
L5P |
| 17 |
0.5 |
BK |
C93 |
Cavity Seal |
II |
L5P |
| 18 |
0.5 |
WH |
2501 |
High Speed GMLAN Serial Data [-] 1 |
II |
L5P |
| 19 |
0.5 |
WH |
2501 |
High Speed GMLAN Serial Data [-] 1 |
II |
L5P |
| 20 - 22 |
- |
- |
- |
Not Occupied |
- |
- |
| 23 |
0.5 |
BK |
D23 |
Cavity Seal |
II |
L5P |
| 24 |
0.5 |
BK |
D24 |
Cavity Seal |
II |
L5P |
| 25 |
0.5 |
BU |
2500 |
High Speed GMLAN Serial Data [+] 1 |
II |
L5P |
| 26 |
0.5 |
BU |
2500 |
High Speed GMLAN Serial Data [+] 1 |
II |
L5P |
| 27 - 29 |
- |
- |
- |
Not Occupied |
- |
- |
| 30 |
0.5 |
BK |
D30 |
Cavity Seal |
II |
L5P |
| 31 |
0.5 |
BK |
D31 |
Cavity Seal |
II |
L5P |
| 32 |
- |
- |
- |
Not Occupied |
- |
- |
| 33 |
0.5 |
VT/BK |
2139 |
Run/Crank Ignition 1 Voltage |
II |
L5P |
| 34 - 36 |
- |
- |
- |
Not Occupied |
- |
- |
| 37 |
0.5 |
BK |
D37 |
Cavity Seal |
II |
L5P |
| 38 |
0.5 |
BK |
D38 |
Cavity Seal |
II |
L5P |
| 39 |
- |
- |
- |
Not Occupied |
- |
- |
| 40 |
0.5 |
VT/YE |
443 |
Accessory Ignition Voltage |
II |
L5P |
| 41 - 43 |
- |
- |
- |
Not Occupied |
- |
- |