LEMON Manuals: Even more car manuals for everyone: 1960-2025
Home >> Dodge and Ram >> 1982 >> Challenger Standard Trans >> Repair and Diagnosis >> General Information >> Basic Trouble Shooting >> Semi-Automatic Temperature Control >> Testing >> Electronic SATC Testing >> In-Car Sensor
April 5, 2026: LEMON Manuals is launched! Read the announcement.

In-Car Sensor

  1. With glove box removed, separate in-car sensor wiring connector from harness connector. Do not disconnect aspirator tubes or remove sensor from instrument panel. Perform aspirator paper test as previously described in this section.
  2. Place stem of thermometer into air inlet grille near the in-car sensor. With blower speed M2, depress "MAX A/C" button, then pull out to turn off compressor and close water valve.
  3. Operate blower and connect ohmmeter to sensor wiring terminals. Quickly measure in-car sensor resistance. Resistance should be between 1100 and 1800 ohms when the thermometer reads between 70° and 80°F.
    NOTE: Do not connect meter for more than 5 seconds because ohmmeter can affect resistance and measurement accuracy.
    Fig 1: SATC Control System Component Relationship
    G09361730Courtesy of CHRYSLER GROUP, LLC
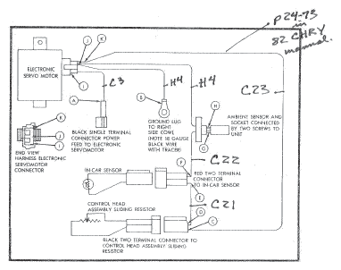
    Fig 2: Electrical Harness Test Points on SATC System
    G09361731Courtesy of CHRYSLER GROUP, LLC
    Fig 3: Testing Electronic Servomotor
    G09361732Courtesy of CHRYSLER GROUP, LLC
    Fig 4: Testing Control Head Sliding Resistor
    G09361733Courtesy of CHRYSLER GROUP, LLC