LEMON Manuals: Even more car manuals for everyone: 1960-2025
Home >> Dodge and Ram >> 1989 >> Lancer Base, 2.2 D, Standard >> Repair and Diagnosis >> Engine Performance >> System >> 2.2L/2.5L SPFI Tests/Code >> DRIVEABILITY Tests >> Dr-4, Intermittent Test For Map Sensor Signal
April 5, 2026: LEMON Manuals is launched! Read the announcement.

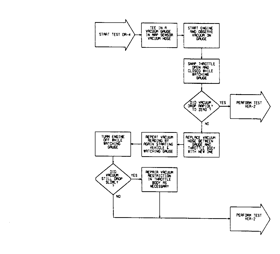
Dr-4, Intermittent Test For Map Sensor Signal

Fig 1: DR-4, Intermittent Test For MAP Sensor Signal
G108071