LEMON Manuals: Even more car manuals for everyone: 1960-2025
Home >> Dodge and Ram >> 1990 >> Caravan Base, 2.5 K, Standard >> Repair and Diagnosis >> Engine Performance >> System >> Engine Controls - Tests W/Codes - Body Control Computer >> Trouble Shooting Charts >> Test 30B - Checking Ground Supply & Diode Assembly For Open
April 5, 2026: LEMON Manuals is launched! Read the announcement.

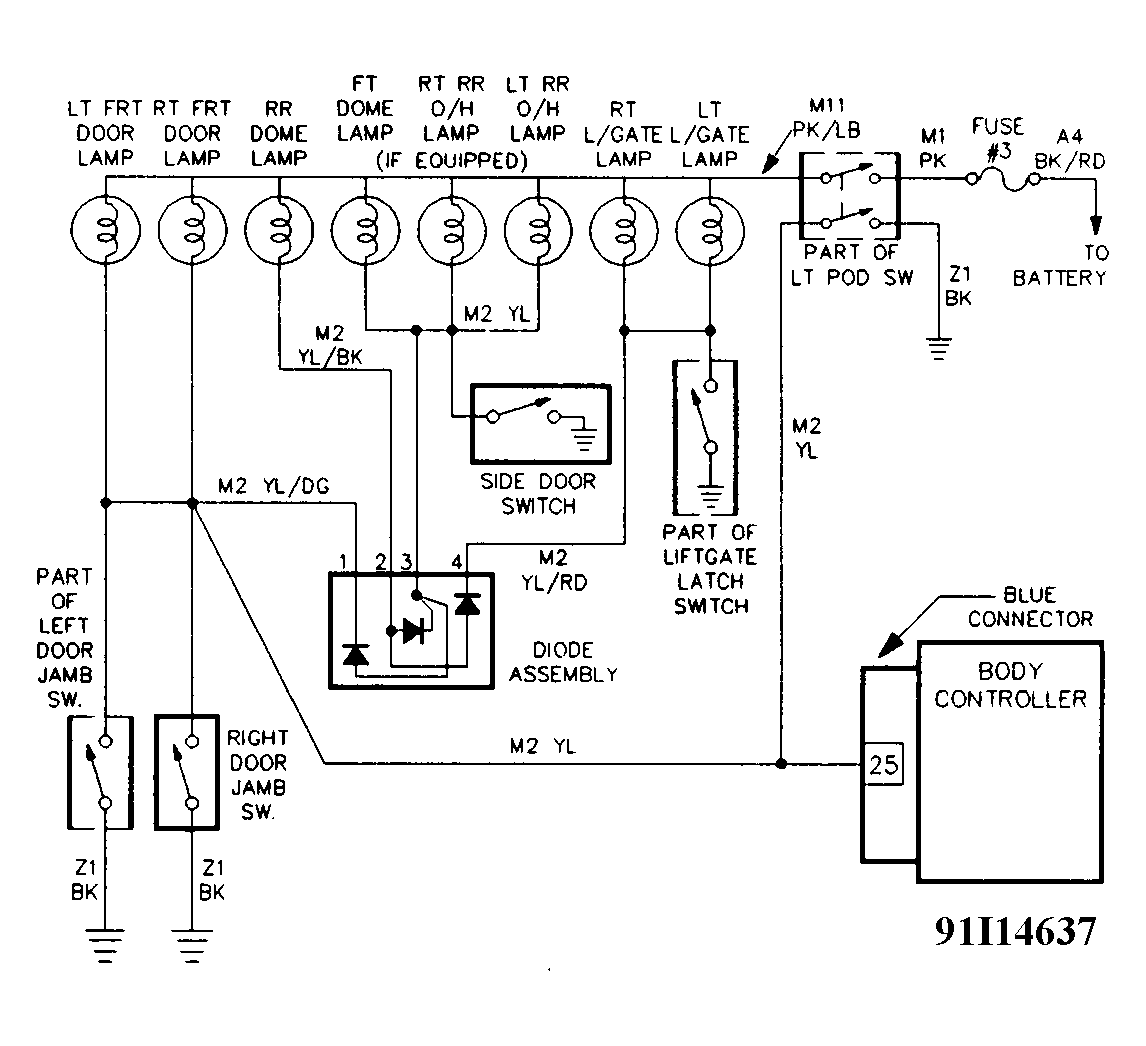
Test 30B - Checking Ground Supply & Diode Assembly For Open

Fig 1: Test 30B Schematic - Checking Ground Supply & Diode Assembly For Open
G91I14637
Fig 2: Test 30B Flow Chart - Checking Ground Supply & Diode Assembly For Open
G91G14643