LEMON Manuals: Even more car manuals for everyone: 1960-2025
Home >> Dodge and Ram >> 1990 >> Monaco ES >> Repair and Diagnosis >> Engine Performance >> System >> Engine Controls - System/Component Tests >> Introduction
April 5, 2026: LEMON Manuals is launched! Read the announcement.

Engine Controls - System/Component Tests: Introduction

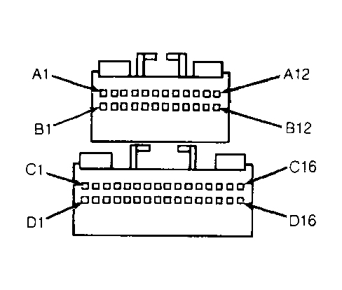
Prior to testing separate components or systems, it is highly recommended that all procedures listed in BASIC TESTING article be performed. Since many computer controlled and monitored components will set a trouble code if they malfunction, it is also recommended that self-diagnosis be performed. See Figure .

NOTE: Testing of individual components does not isolate possible shorts or opens in the control harness of electronically controlled systems. Use an ohmmeter to isolate shorts or opens in harness. All voltage tests should be performed with a Digital Volt Ohmmeter (DVOM) with a minimum 10-megohm input impedance, unless specifically stated different in testing procedures.