LEMON Manuals: Even more car manuals for everyone: 1960-2025
Home >> Dodge and Ram >> 1992 >> Colt Base, Automatic >> Repair and Diagnosis >> Engine Performance >> System >> Engine Controls - Tests W/Codes >> Code Charts >> Dr-1: Testing For MPI System Fault Codes
April 5, 2026: LEMON Manuals is launched! Read the announcement.

Dr-1: Testing For MPI System Fault Codes

Fig 1: DR-1 Test Schematic MPI System Fault Codes
G90G15368
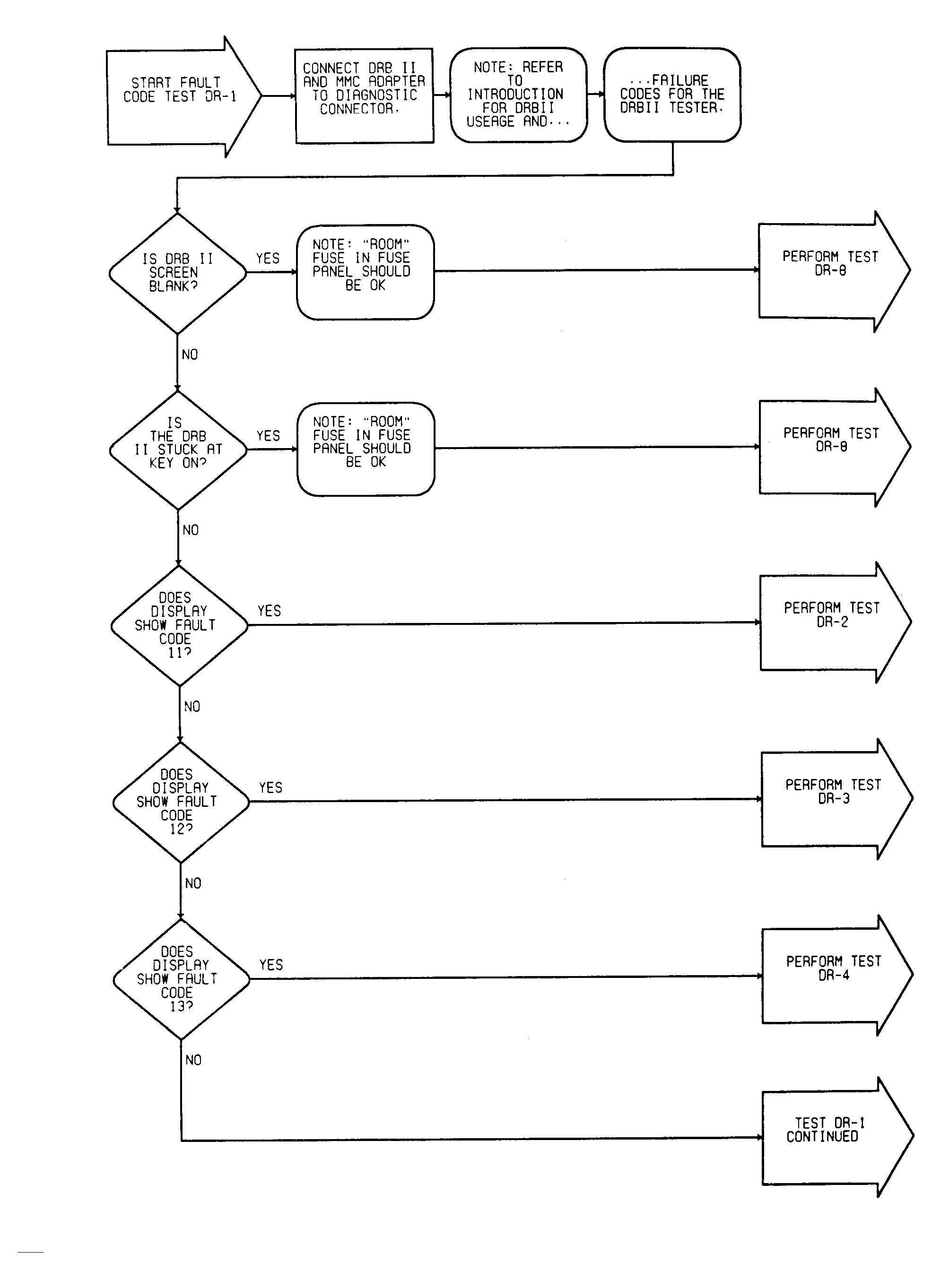
Fig 2: DR-1 Test Flow Chart (1 Of 2) MPI System Fault Codes
G91G16713
Fig 3: DR-1 Test Flow Chart (2 Of 2) MPI System Fault Codes
G91H16714