LEMON Manuals: Even more car manuals for everyone: 1960-2025
Home >> Dodge and Ram >> 1992 >> Colt Base, Standard >> Repair and Diagnosis >> Engine Performance >> System >> Engine Controls - Tests W/Codes >> Code Charts >> Dr-14: Testing EGR Temperature Sensor Circuit
April 5, 2026: LEMON Manuals is launched! Read the announcement.

Dr-14: Testing EGR Temperature Sensor Circuit

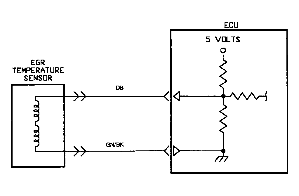
Fig 1: DR-14 Test Schematic Testing EGR Temperature Sensor Circuit
G90I15386
Fig 2: DR-14 Test Flow Chart (1 Of 3) Testing EGR Temperature Sensor Circuit
G91D17254
Fig 3: DR-14 Test Flow Chart (2 Of 3) Testing EGR Temperature Sensor Circuit
G91E17255
Fig 4: DR-14 Test Flow Chart (3 Of 3) Testing EGR Temperature Sensor Circuit
G91F17256