LEMON Manuals: Even more car manuals for everyone: 1960-2025
Home >> Dodge and Ram >> 1992 >> Spirit R/T >> Repair and Diagnosis >> Body & Frame >> Body, Cab Control Systems >> Traveler Module >> Connector Identification
April 5, 2026: LEMON Manuals is launched! Read the announcement.

Connector Identification

CONNECTOR IDENTIFICATION DIRECTORY

Connector See Fig.
Headlight Switch Fig 1
Ignition Switch Fig 2
Instrument Cluster (Black) Fig 3
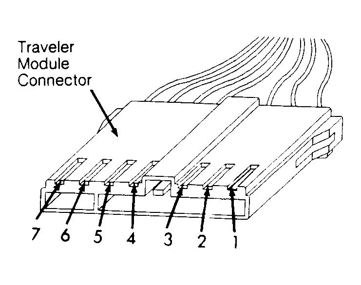
Traveler Module Fig 4
Visual Message Center Fig 5
Fig 1: Headlight Switch Connector Terminal ID
G92C03537Courtesy of CHRYSLER MOTORS.
Fig 2: Ignition Switch Connector Terminal ID
G92E03538Courtesy of CHRYSLER MOTORS.
Fig 3: Instrument Cluster Black Connector Terminal ID
G92G03539Courtesy of CHRYSLER MOTORS.
Fig 4: Traveler Module Connector Terminal ID
G92I03540Courtesy of CHRYSLER MOTORS.
Fig 5: Visual Message Center Connector Terminal ID
G92A03541Courtesy of CHRYSLER MOTORS.