LEMON Manuals: Even more car manuals for everyone: 1960-2025
Home >> Dodge and Ram >> 1994 >> Intrepid Base, 3.5 F >> Repair and Diagnosis >> Engine Performance >> System >> Engine Controls - Tests W/Codes - 3.3L >> Connector Identification
April 5, 2026: LEMON Manuals is launched! Read the announcement.

Connector Identification

CONNECTOR IDENTIFICATION DIRECTORY

Connector See
Camshaft Position Sensor Fig 1
Crankshaft Position Sensor Fig 2
Distributor Connector (Harness Side) Fig 3
Engine Coolant Temperature (ECT) Sensor Fig 4
Evaporative Purge Solenoid Fig 5
Flexible Fuel Sensor Fig 6
Fuel Pump Fig 7
Idle Air Control (IAC) Motor Fig 8
Ignition Coil Fig 9
Intake Air Temperature (IAT) Sensor Fig 10
Knock Sensor Fig 11
Manifold Absolute Pressure (MAP) Sensor Fig 12
Manifold Tuning Valve (MTV) Solenoid Fig 13
Oxygen Sensor Fig 14
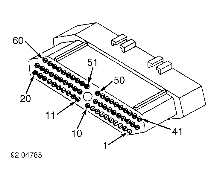
Powertrain Control Module (PCM) Fig 15
Torque Converter Clutch Solenoid Fig 16
Throttle Position Sensor (TPS) Fig 17
CAMSHAFT POSITION SENSOR CONNECTOR TERMINAL ID

Terminal Wire Color Function
1 Orange 8-Volt Supply
2 Black/Light Blue Ground
3 Tan/Yellow Signal
Fig 1: Camshaft Position Sensor Connector Terminal ID
G93D41064Courtesy of CHRYSLER CORP.
CRANKSHAFT POSITION SENSOR CONNECTOR TERMINAL ID

Terminal Wire Color Function
1 Orange 8-Volt Supply
2 Black/Light Blue Ground
3 Gray/Black Signal
Fig 2: Crankshaft Position Sensor Connector Terminal ID
G93E41065Courtesy of CHRYSLER CORP.
DISTRIBUTOR CONNECTOR TERMINAL ID

Terminal Wire Color Function
1 Gray/Black Crankshaft Signal
2 Tan/Yellow Camshaft Signal
3 Orange 8-Volt Supply
4 Black/Light Blue Ground
Fig 3: Distributor Connector Terminal ID
G94I32563Courtesy of CHRYSLER CORP.
ENGINE TEMP COOLANT (ECT) SENSOR CONNECTOR TERMINAL ID

Terminal Wire Color Function
1 Tan/Black Signal
2 Black/Light Blue Ground
Fig 4: Engine Coolant Temperature (ECT) Sensor Connector Term. ID
G93G41067Courtesy of CHRYSLER CORP.
EVAPORATIVE PURGE SOLENOID CONNECTOR TERMINAL ID

Terminal Wire Color Function
1 Pink/Black Control
2 Light Green/Black Ignition 12-Volt Feed
Fig 5: Evaporative Purge Solenoid Connector Terminal ID
G94J32564Courtesy of CHRYSLER CORP.
FLEXIBLE FUEL SENSOR CONNECTOR TERMINAL ID

Terminal Wire Color Function
1 Yellow/White Signal
2 Black/Light Blue Ground
3 Orange 8-Volt Supply
Fig 6: Flexible Fuel Sensor Connector Terminal ID
G94A32565Courtesy of CHRYSLER CORP.
FUEL PUMP CONNECTOR TERMINAL ID

Terminal Wire Color Function
1 Dark Green/Black Fuel Pump Relay Output
2 Dark Blue Fuel Level Sense
3 Not Used 4
Black/Tan Sending Unit Ground 5
Black Fuel Pump Ground 6
Fig 7: Fuel Pump Connector Terminal ID
G94B32566Courtesy of CHRYSLER CORP.
IDLE AIR CONTROL (IAC) MOTOR CONNECTOR TERMINAL ID

Terminal Wire Color Function
1 Gray/Red IAC Driver No. 1
2 Yellow/Black IAC Driver No. 2
3 Brown/White IAC Driver No. 3
4 Violet/Black IAC Driver No. 4
Fig 8: Idle Air Control (IAC) Motor Connector Terminal ID
G94B32574Courtesy of CHRYSLER CORP.
IGNITION COIL CONNECTOR TERMINAL ID

Terminal Wire Color Function
1 Red Ignition Coil Driver No. 3
2 Black Ignition Coil Driver No. 1
3 White Ignition Coil Driver No. 2
4 Dark Green/Orange ASD Relay Output
Fig 9: Ignition Coil Connector Terminal ID
G94C32575Courtesy of CHRYSLER CORP.
INTAKE AIR TEMPERATURE SENSOR CONNECTOR TERMINAL ID

Terminal Wire Color Function
1 Black/Red Signal
2 Black/Light Blue Ground
Fig 10: Intake Air Temperature (IAT) Sensor Connector Terminal ID
G93G41133Courtesy of CHRYSLER CORP.
KNOCK SENSOR CONNECTOR TERMINAL ID

Terminal Wire Color Function
1 Black/Light Green Signal No. 1
2 Gray/Black Signal No. 2
Fig 11: Knock Sensor Connector Terminal ID
G94E32577Courtesy of CHRYSLER CORP.
MAP SENSOR CONNECTOR TERMINAL ID

Terminal Wire Color Function
1 Black/Light Blue Ground
2 Dark Green/Red Signal
3 Violet/White 5-Volt Supply
Fig 12: MAP Sensor Connector Terminal ID
G93H41134Courtesy of CHRYSLER CORP.
MANIFOLD TUNING VALVE SOLENOID CONNECTOR TERMINAL ID

Terminal Wire Color Function
1 Violet/White Control
2 Light Green/Black Ignition 12-Volt Feed
Fig 13: Manifold Tuning Valve (MTV) Solenoid Connector Terminal ID
G93I41135Courtesy of CHRYSLER CORP.
OXYGEN SENSOR CONNECTOR TERMINAL ID

Terminal Wire Color Function
1 Black/Light Blue Sensor Ground
2 (1) Black/Dark Green Signal
3 Black Heater Ground
4 Light Green/Black Heater Feed
(1) Tan/White on right oxygen sensor connector.
Fig 14: Oxygen Sensor Connector Terminal ID
G94G32579Courtesy of CHRYSLER CORP.
Fig 15: Powertrain Control Module (PCM) Connector Terminal ID
G92I04785Courtesy of CHRYSLER CORP.
TORQUE CONVERTER CLUTCH SOLENOID CONNECTOR TERMINAL ID

Terminal Wire Color Function
1 ** Not Used
2 Dark Blue Ignition 12-Volt Feed
3 Orange/Black Control
Fig 16: Torque Converter Clutch Solenoid Connector Terminal ID
G94C32583Courtesy of CHRYSLER CORP.
THROTTLE POSITION SENSOR (TPS) CONNECTOR TERMINAL ID

Terminal Wire Color Function
1 Black/Light Blue Ground
2 Orange/Dark Blue Signal
3 Violet/White 5-Volt Supply
Fig 17: Throttle Position Sensor (TPS) Connector Terminal ID
G94D32584Courtesy of CHRYSLER CORP.
CAUTION: When battery is disconnected, vehicle computer and energy systems may lose memory data. Driveability problems may exist until computer systems have completed a relearn cycle. See COMPUTER RELEARN PROCEDURES article in the GENERAL INFORMATION before disconnecting battery.