LEMON Manuals: Even more car manuals for everyone: 1960-2025
Home >> Dodge and Ram >> 1995 >> Grand Caravan Base >> Repair and Diagnosis >> Engine Performance >> System >> Engine Controls - Tests W/Codes - Body Control Computer >> Connector Identification >> Body Control System Connectors
April 5, 2026: LEMON Manuals is launched! Read the announcement.

Body Control System Connectors

NOTE: For terminal identification of body control system connectors, see Fig 1 -21. Connector terminal numbers are molded into connectors. If connector terminal identification differs from what is shown in figure, use wire colors to ensure correct circuit is being tested. For wiring diagrams, see WIRING DIAGRAMS  section at the end of this article.
CONNECTOR IDENTIFICATION

Connector See
Body Control Module
Blue Fig. Fig 1
Natural Fig. Fig 2
CCD BUS Data Link Fig. Fig 3
Compass/Mini-Trip Module Fig. Fig 4
Front & Side Door Jamb Switch Fig. Fig 5
Fuel Pump/Sending Unit Fig. Fig 6
Instrument Cluster Fig. Fig 7
Ignition Key In Ignition Switch Fig. Fig 8
Left Pod Switch Assembly Fig. Fig 9
Left Pod Switch Connectors
Black Fig. Fig 10
Blue & Gray Fig. Fig 11
Liftgate Switch Fig. Fig 12
Multifunction Switch Fig. Fig 13
Powertrain Control Module (PCM) Fig. Fig 14
Radio Connectors
Black Fig. Fig 15
Gray Fig. Fig 16
Relay Block Fig. Fig 17
Remote Keyless Entry (RKE) Module Fig. Fig 18
Speaker Connectors
Door Fig. Fig 19
Rear Fig. Fig 20
Fig 1: Blue Body Control Module Connector Terminal ID (All Models)
G95H27190Courtesy of CHRYSLER CORP.
Fig 2: Natural Body Control Module Connector Terminal ID (All Models)
G95I27191Courtesy of CHRYSLER CORP.
Fig 3: CCD BUS Data Link Connector Terminal ID (All Models)
G95D12784Courtesy of CHRYSLER CORP.
Fig 4: Compass/Mini-Trip Module Connector Terminal ID (All Models)
G94B65897Courtesy of CHRYSLER CORP.
Fig 5: Front & Side Door Jamb Switch Connector Terminal ID (All Models)
G93I76495Courtesy of CHRYSLER CORP.
Fig 6: Fuel Pump/Sending Unit Connector Terminal ID (All Models)
G94C65898Courtesy of CHRYSLER CORP.
Fig 7: Instrument Cluster Connector Terminal ID (All Models)
G92D22726Courtesy of CHRYSLER CORP.
Fig 8: Key-In-Ignition Switch Connector Terminal ID (All Models)
G95J27192Courtesy of CHRYSLER CORP.
Fig 9: Left Pod Switch Assembly Connector Terminal ID (All Models)
G92F22728Courtesy of CHRYSLER CORP.
Fig 10: Left Pod Switch Connector Terminal ID (Black Connector - All Models)
G92J22730Courtesy of CHRYSLER CORP.
Fig 11: Left Pod Switch Connector Term. ID (Blue & Gray Connectors - All Models)
G92G22729Courtesy of CHRYSLER CORP.
Fig 12: Liftgate Switch Connector Terminal ID (All Models)
G92A22731Courtesy of CHRYSLER CORP.
Fig 13: Multifunction Switch Connector Terminal ID (All Models)
G94G65900Courtesy of CHRYSLER CORP.
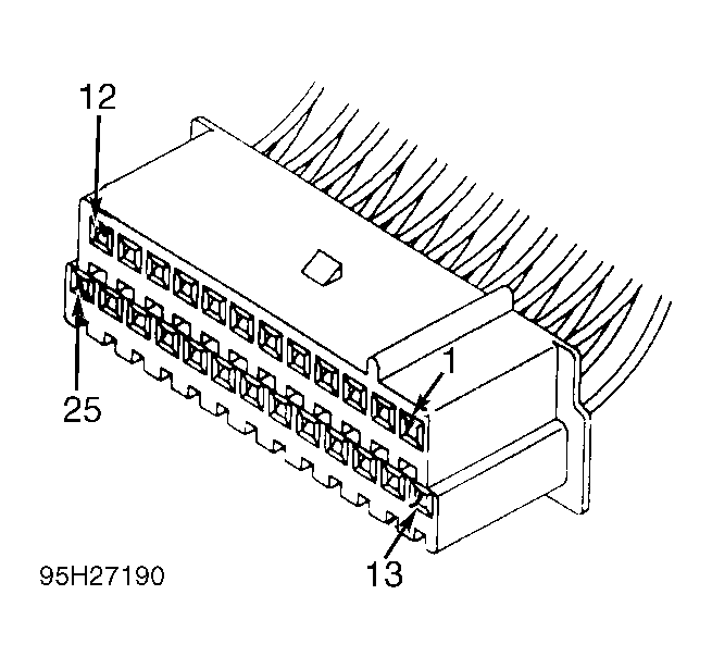
Fig 14: PCM Connector Terminal ID (All Models)
G92I05780Courtesy of CHRYSLER CORP.
Fig 15: Identifying Radio Black Connector Terminals (All Models)
G95B27194Courtesy of CHRYSLER CORP.
Fig 16: Identifying Radio Gray Connector Terminals (All Models)
G95C27195Courtesy of CHRYSLER CORP.
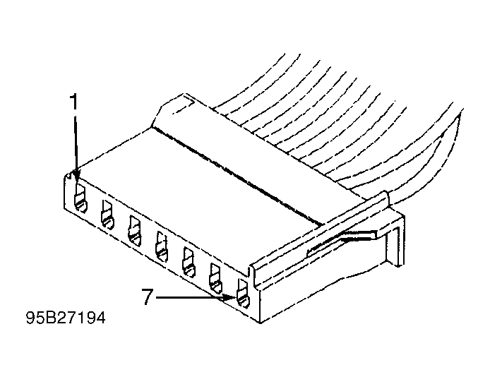
Fig 17: Identifying Relay Block Connector Terminals (All Models)
G95A27193Courtesy of CHRYSLER CORP.
Fig 18: RKE Module Connector Terminal ID (All Models)
G94I65902Courtesy of CHRYSLER CORP.
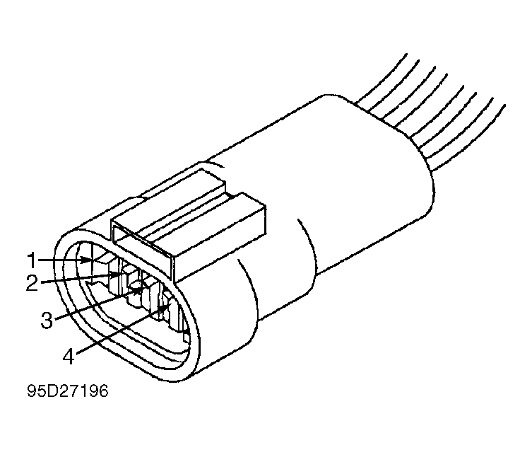
Fig 19: Speaker Door Connector Terminal ID (All Models)
G95D27196Courtesy of CHRYSLER CORP.
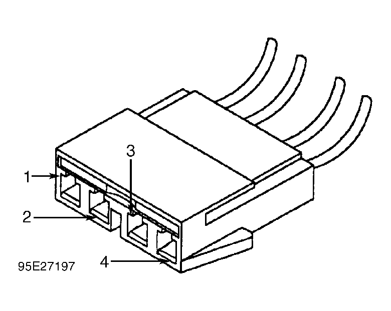
Fig 20: Identifying Rear Speaker Connector Terminals (All Models)
G95E27197Courtesy of CHRYSLER CORP.