LEMON Manuals: Even more car manuals for everyone: 1960-2025
Home >> Dodge and Ram >> 1996 >> Viper RT/10 >> Repair and Diagnosis >> Engine Performance >> System >> Engine Control Self-Diagnostics >> Trouble Code Tests >> TC-103A: 1/1 O2 Sensor Heater Failure
April 5, 2026: LEMON Manuals is launched! Read the announcement.

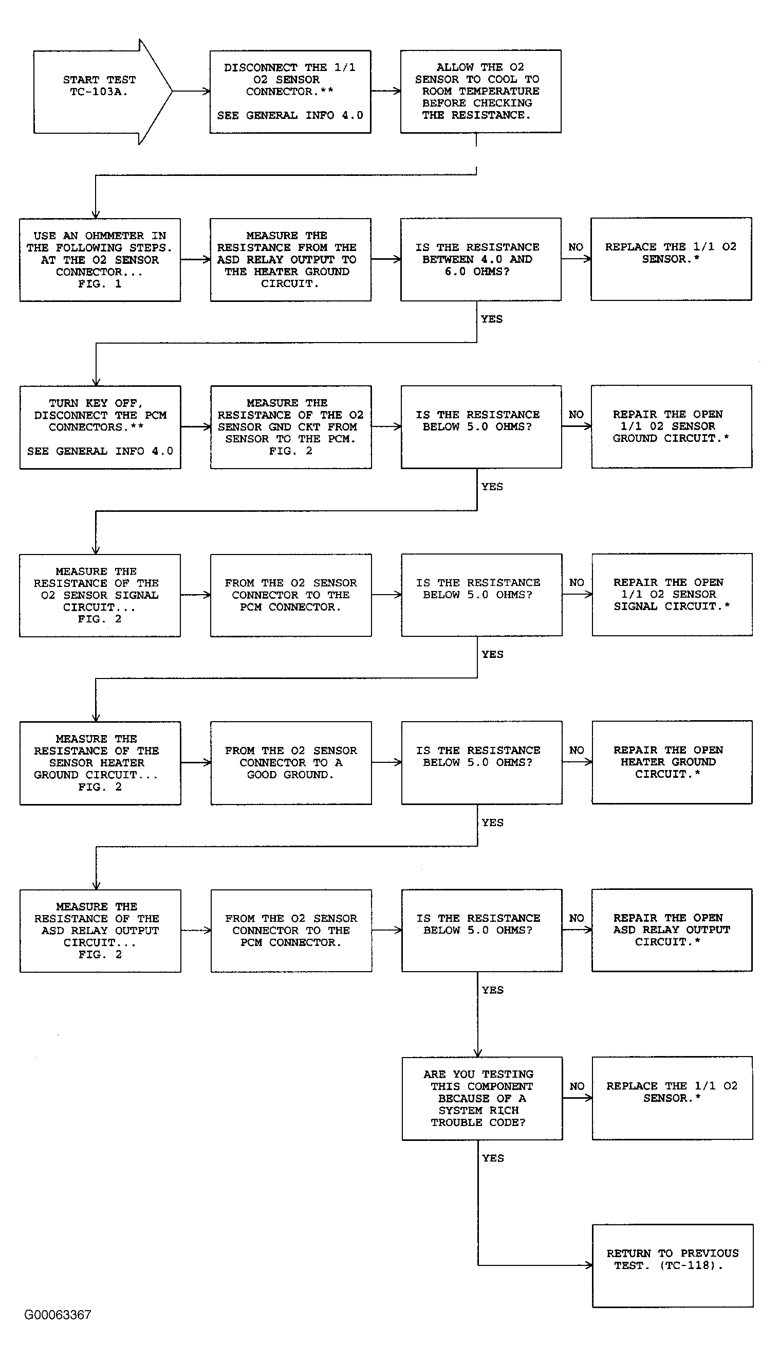
TC-103A: 1/1 O2 Sensor Heater Failure

Fig 1: TC-103A: 1/1 O2 Sensor Heater Failure (1 Of 2)
G00063366Courtesy of DAIMLERCHRYSLER CORPORATION
Fig 2: TC-103A: 1/1 O2 Sensor Heater Failure (2 Of 2)
G00063367Courtesy of DAIMLERCHRYSLER CORPORATION