LEMON Manuals: Even more car manuals for everyone: 1960-2025
Home >> Dodge and Ram >> 1996 >> Viper RT/10 >> Repair and Diagnosis >> Engine Performance >> System >> Engine Control Self-Diagnostics >> Trouble Code Tests >> TC-121A: Fuel System 2/1 Lean
April 5, 2026: LEMON Manuals is launched! Read the announcement.

TC-121A: Fuel System 2/1 Lean

Fig 1: TC-121A: Fuel System 2/1 Lean (1 Of 4)
G00063393Courtesy of DAIMLERCHRYSLER CORPORATION
Fig 2: TC-121A: Fuel System 2/1 Lean (2 Of 4)
G00063400Courtesy of DAIMLERCHRYSLER CORPORATION
Fig 3: TC-121A: Fuel System 2/1 Lean (3 Of 4)
G00063401Courtesy of DAIMLERCHRYSLER CORPORATION
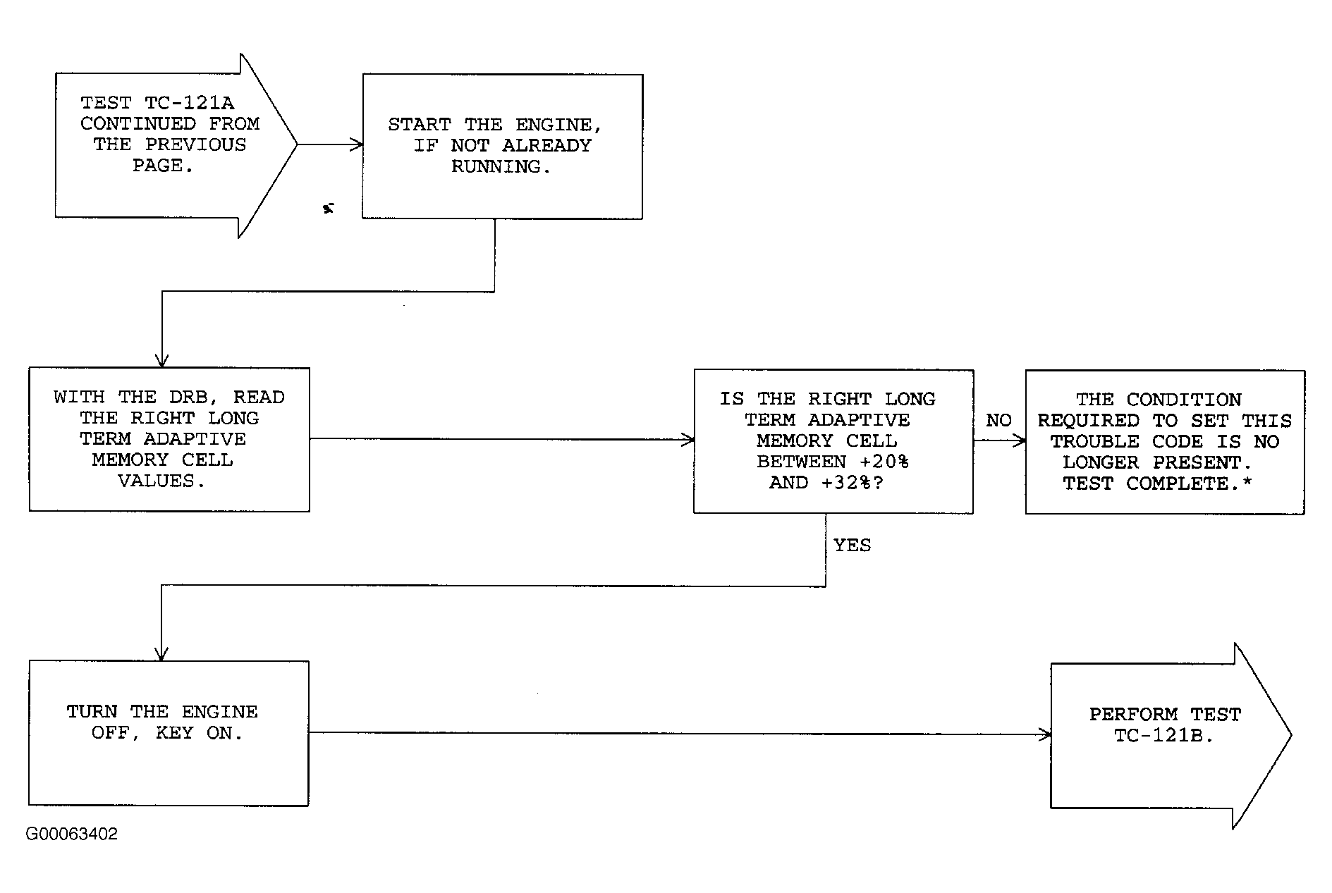
Fig 4: TC-121A: Fuel System 2/1 Lean (4 Of 4)
G00063402Courtesy of DAIMLERCHRYSLER CORPORATION