LEMON Manuals: Even more car manuals for everyone: 1960-2025
Home >> Dodge and Ram >> 1996 >> Viper RT/10 >> Repair and Diagnosis >> Engine Performance >> System >> Engine Control Self-Diagnostics >> Trouble Code Tests >> TC-122A: O2 Sensor 2/1 Slow Response
April 5, 2026: LEMON Manuals is launched! Read the announcement.

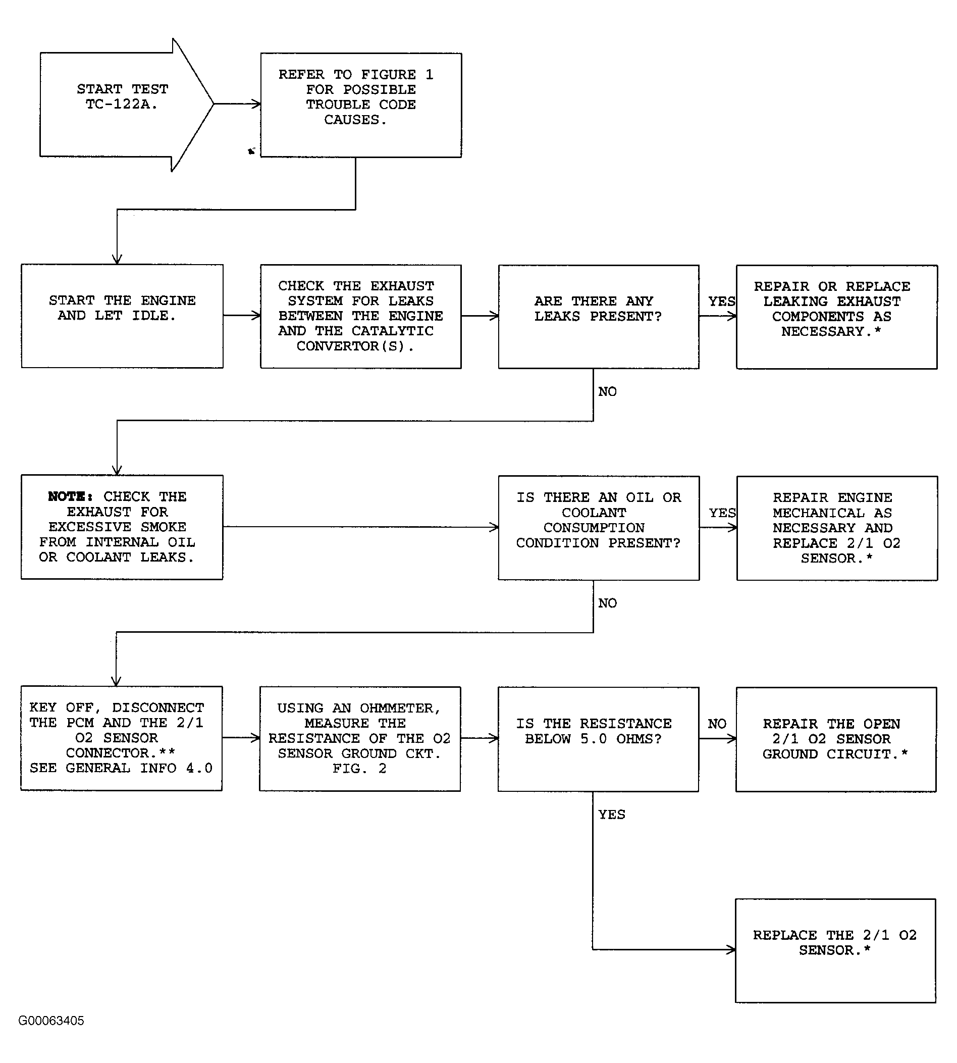
TC-122A: O2 Sensor 2/1 Slow Response

Fig 1: TC-122A: O2 Sensor 2/1 Slow Response (1 Of 2)
G00063404Courtesy of DAIMLERCHRYSLER CORPORATION
Fig 2: TC-122A: O2 Sensor 2/1 Slow Response (2 Of 2)
G00063405Courtesy of DAIMLERCHRYSLER CORPORATION