LEMON Manuals: Even more car manuals for everyone: 1960-2025
Home >> Dodge and Ram >> 1998 >> Viper GTS-R >> Repair and Diagnosis >> Body & Frame >> Windows >> Power Window System >> Diagnosis & Testing >> Power Window Switch >> Notes
April 5, 2026: LEMON Manuals is launched! Read the announcement.

Power Window Switch: Notes

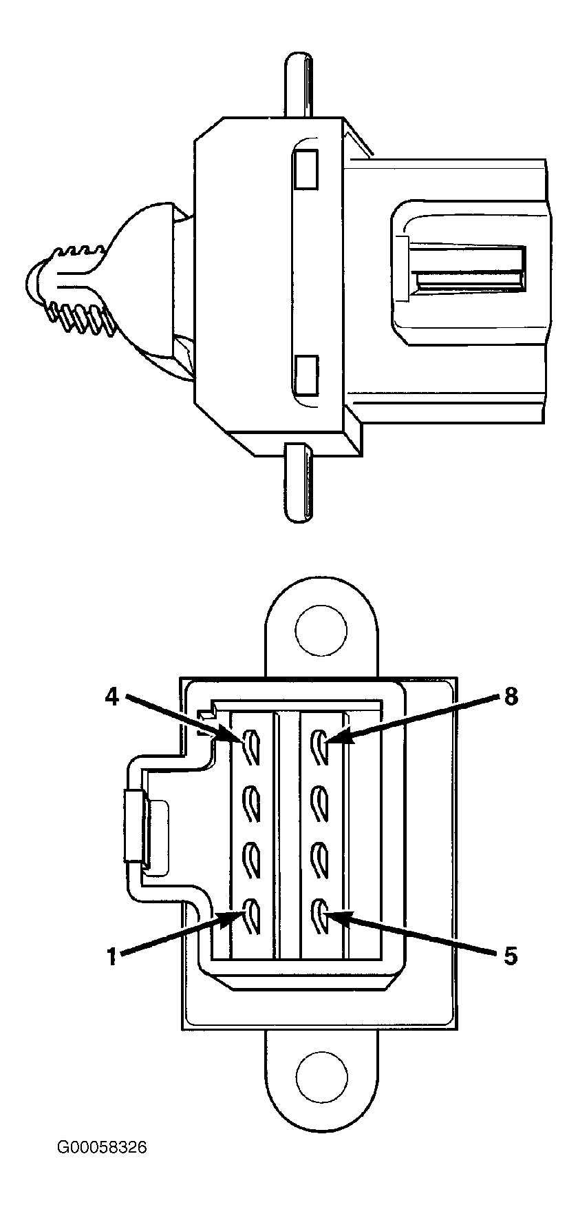
Remove switch from its mounting. See POWER WINDOW SWITCH . Using an ohmmeter, refer to Drivers (Figure) & Passenger (Figure) Side Window Switch Continuity Test tables to determine if continuity is correct. If results are not obtained, replace switch.

Fig 1: Identifying Power Window Switch Connector
G00058326Courtesy of DAIMLERCHRYSLER CORPORATION