LEMON Manuals: Even more car manuals for everyone: 1960-2025
Home >> Dodge and Ram >> 1998 >> Viper GTS-R >> Repair and Diagnosis >> External Pages >> Different car >> Section 2 (Engine Control Self-Diagnostics) >> Trouble Code Tests >> TC-119A: Fuel System 1/1 Lean
April 5, 2026: LEMON Manuals is launched! Read the announcement.

TC-119A: Fuel System 1/1 Lean

WARNING: This page is about a different car, the 1997 Dodge Viper and 1996 Dodge Viper. However, it is still accessible from the selected car via links, so may be relevant.
Fig 1: TC-119A: Fuel System 1/1 Lean (1 Of 3)
G00063393Courtesy of DAIMLERCHRYSLER CORPORATION
Fig 2: TC-119A: Fuel System 1/1 Lean (2 Of 3)
G00063394Courtesy of DAIMLERCHRYSLER CORPORATION
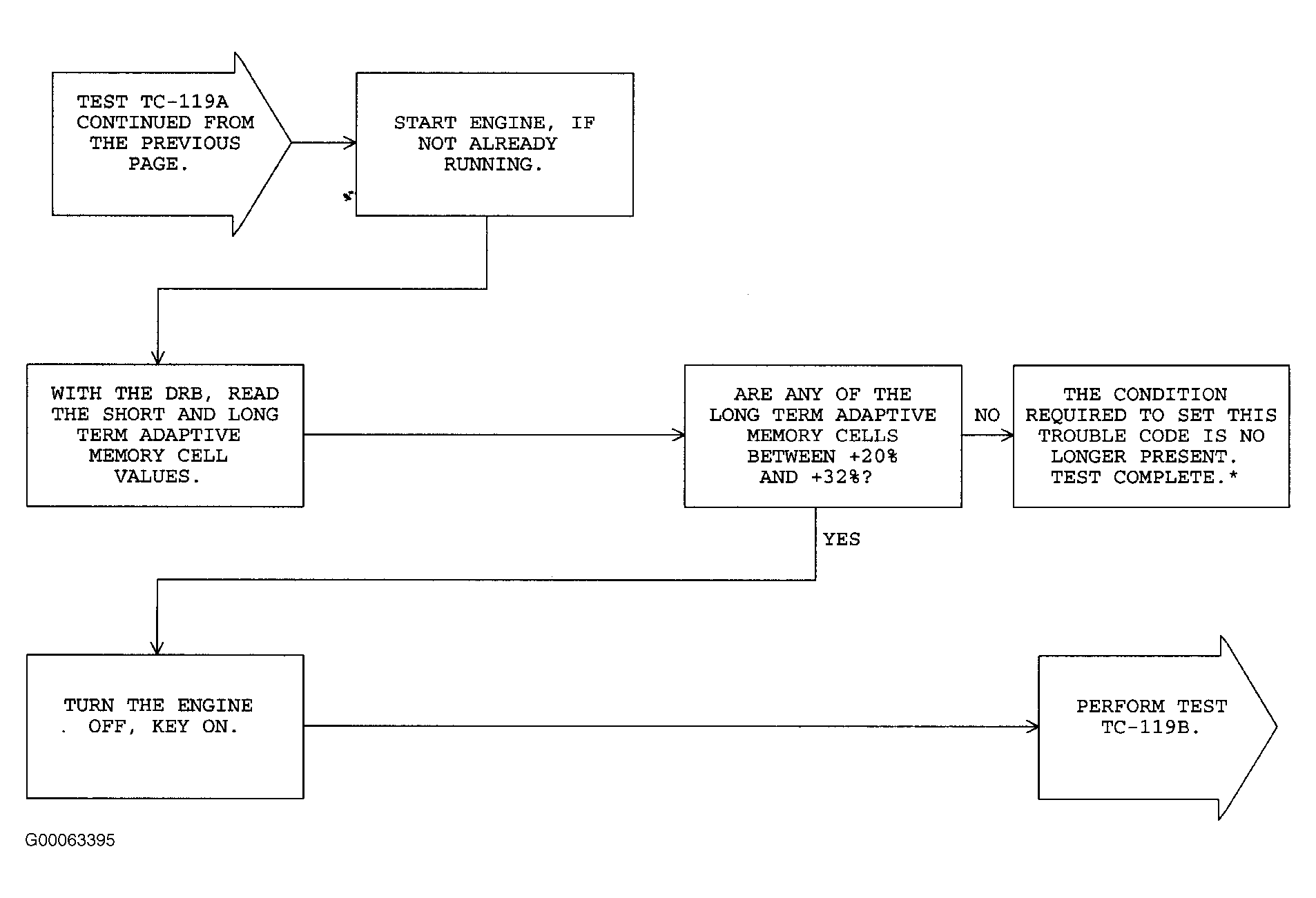
Fig 3: TC-119A: Fuel System 1/1 Lean (3 Of 3)
G00063395Courtesy of DAIMLERCHRYSLER CORPORATION