LEMON Manuals: Even more car manuals for everyone: 1960-2025
Home >> Dodge and Ram >> 1999 >> Viper RT/10 >> Repair and Diagnosis >> Engine Performance >> System >> Engine Control - Self-Diagnostics >> System Tests >> DTC P0157-A: 2/2 O2 Sensor Shorted To Ground
April 5, 2026: LEMON Manuals is launched! Read the announcement.

DTC P0157-A: 2/2 O2 Sensor Shorted To Ground

Fig 1: P0157-A: 2/2 O2 Sensor Shorted To Ground (1 Of 6)
G00065560Courtesy of DAIMLERCHRYSLER CORPORATION
Fig 2: P0157-A: 2/2 O2 Sensor Shorted To Ground (2 Of 6)
G00065561Courtesy of DAIMLERCHRYSLER CORPORATION
Fig 3: P0157-A: 2/2 O2 Sensor Shorted To Ground (3 Of 6)
G00065499Courtesy of DAIMLERCHRYSLER CORPORATION
Fig 4: P0157-A: 2/2 O2 Sensor Shorted To Ground (4 Of 6)
G00065562Courtesy of DAIMLERCHRYSLER CORPORATION
Fig 5: P0157-A: 2/2 O2 Sensor Shorted To Ground (5 Of 6)
G00065563Courtesy of DAIMLERCHRYSLER CORPORATION
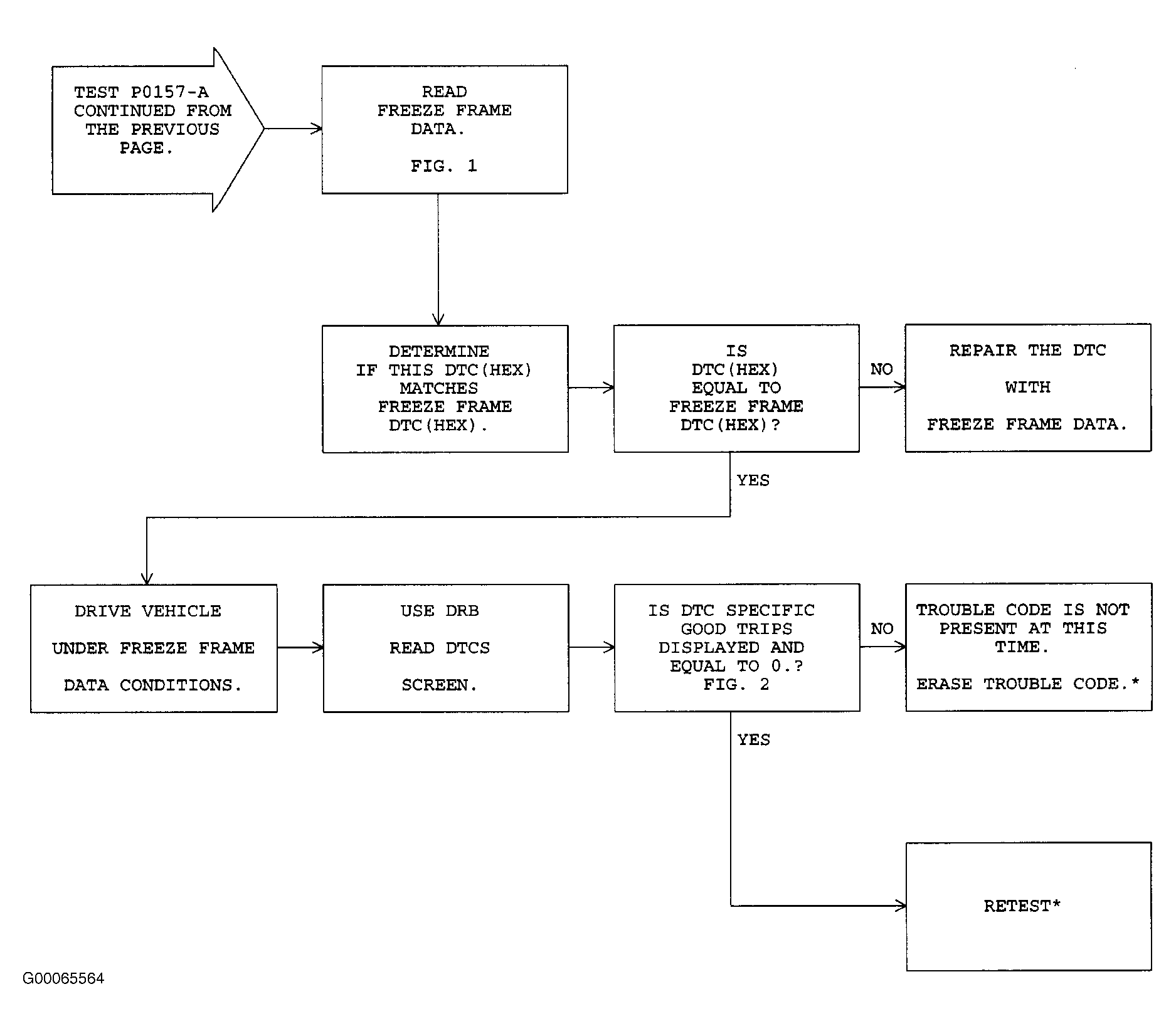
Fig 6: P0157-A: 2/2 O2 Sensor Shorted To Ground (6 Of 6)
G00065564Courtesy of DAIMLERCHRYSLER CORPORATION