LEMON Manuals: Even more car manuals for everyone: 1960-2025
Home >> Dodge and Ram >> 2000 >> Caravan Base, 2.4 B >> Repair and Diagnosis >> External Pages >> Different car >> Section 1 (Memory Systems) >> Component Tests >> Memory Seat & Mirror Module (MSMM)
April 5, 2026: LEMON Manuals is launched! Read the announcement.

Memory Seat & Mirror Module (MSMM)

WARNING: This page is about a different car, the 2000 Chrysler Town & Country. However, it is still accessible from the selected car via links, so may be relevant.

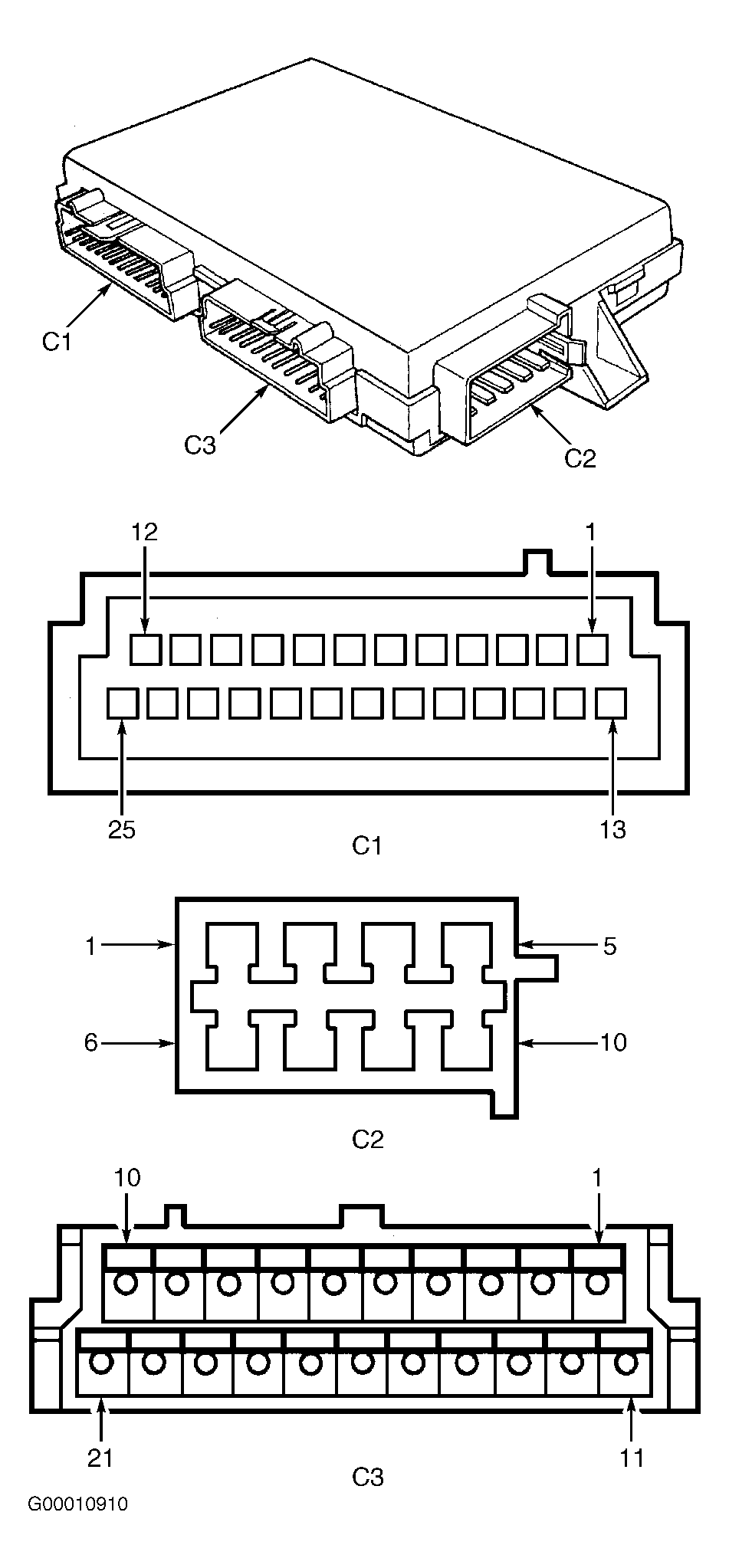
Before testing MSMM, test all other components. If system does not operate properly, check for poor or damaged connectors, test memory seats and memory mirrors circuits for opens and/or shorts to ground. See WIRING DIAGRAMS  . See Fig 1 . Repair as necessary. If system does not operate properly, replace MSSM with known-good MSMM. See MEMORY SEAT& MIRROR MODULE  under REMOVAL & INSTALLATION.

Fig 1: Identifying Memory Seat Mirror Module (MSMM) Harness Connectors
G00010910Courtesy of CHRYSLER CORP.