LEMON Manuals: Even more car manuals for everyone: 1960-2025
Home >> Dodge and Ram >> 2000 >> Caravan Base, 3.3 R >> Repair and Diagnosis >> Body & Frame >> Body, Cab Control Systems >> Body Control Modules >> System Tests >> Vehicle Theft Security System (VTSS) >> VTSS Problems
April 5, 2026: LEMON Manuals is launched! Read the announcement.

VTSS Problems

  1. Turn ignition on. Using scan tool, read Body Control Module (BCM) Diagnostic Trouble Codes (DTCs). If any power door lock DTCs are present, perform appropriate test. See DIAGNOSTIC TROUBLE CODE IDENTIFICATION  table under SELF-DIAGNOSTIC SYSTEM. If no power door lock DTCs are present, go to next step.
  2. Using scan tool, select THEFT ALARM, VTSS, then MONITOR DISPLAY. Read VTSS status. If scan tool displays NO RESPONSE, go to next step. If scan tool displays VTSS mode is ARMED, cycle key in door cylinder or push unlock button on RKE transmitter. If problem still exists, go to SYMPTOM IDENTIFICATION  table under SELF-DIAGNOSTIC SYSTEM and perform appropriate test. If scan tool displays 1 NO RESPONSE/2 NO RESPONSE, go to step  6 . If scan tool does not display any of the above messages, go to step  9 .
  3. Using scan tool, read BCM information. If scan tool displays NS PREMIUM W/VTSS, go to BATTERY POWER TO MODULE DISCONNECTED OR NO RESPONSE FROM BCM  under COMMUNICATIONS. If scan tool does not display NS PREMIUM W/VTSS, go to next step.
  4. Check if vehicle is equipped with hood ajar switch. If switch is not present, vehicle is not equipped with VTSS. If switch is present, go to next step.
  5. Close all doors and open hood. Insert key into liftgate key cylinder and turn to UNLOCK position. Using scan tool, read BCM controller information. VTSS must be enabled before BCM has clocked 10 miles. If scan tool displays NS PREMIUM W/VTSS, system is functioning properly at this time. Fault may be intermittent. If scan tool does not display NS PREMIUM W/VTSS, replace BCM. BCM is located with junction block under driver's side instrument panel. See Figure .
  6. If engine runs, go to next step. If engine does not run, repair running problem. See TEST NS-SEL: NO-START TEST SELECTION in SELF-DIAGNOSTICS - CARAVAN, TOWN & COUNTRY, & VOYAGER article in ENGINE PERFORMANCE. Retest system.
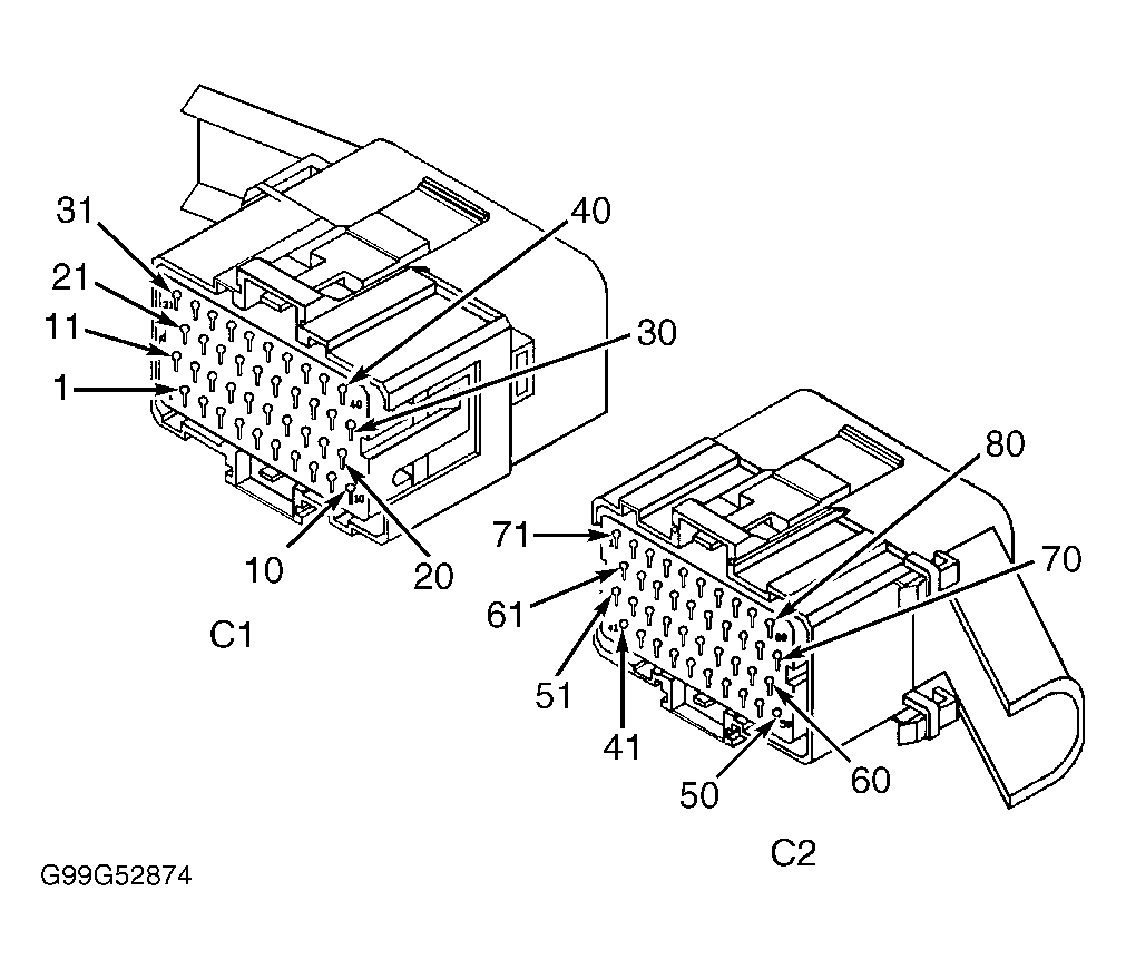
  7. Turn ignition off. Disconnect Powertrain Control Module (PCM) connectors. PCM is located in engine compartment between left inner fender and power distribution center. Inspect terminals No. 59 and 60 at PCM connector C2 for damaged pins, corrosion and loose terminals. See Figure . Repair connector as necessary. If connector is okay, connect a jumper wire between ground and terminal No. 59 (Violet/Brown wire) PCM connector C2. Using scan tool, perform CCD BUS TEST. If scan tool displays SHORT TO GROUND, disconnect jumper wire and go to next step. If scan tool does not display SHORT TO GROUND, repair open in Violet/Brown wire.
  8. Reconnect jumper wire between ground and terminal No. 60 (White/Black wire) at PCM connector C2. Using scan tool, perform CCD BUS TEST. If scan tool displays SHORT TO GROUND, replace PCM. If scan tool does not display SHORT TO GROUND, repair open in White/Black wire.
  9. Using scan tool, actuate horn, headlights, park/tail lights and VTSS indicator light. If horn does not sound, go to next step. If headlights do not flash, go to HEADLIGHTS WILL NOT TURN ON  under EXTERIOR LIGHTING. If park/tail lights do not flash, go to PARK LIGHTS WILL NOT TURN ON  under EXTERIOR LIGHTING. IF VTSS light does not flash, go to step  21 . If all actuated (flashed), go to step  27 .
  10. Push horn button on steering wheel. If horn sounds, replace BCM. BCM is located with junction block under driver's side instrument panel. See Figure . If horn does not sound, go to next step.
  11. Remove and inspect fuse No. 7 from Power Distribution Center (PDC). See Figure . If fuse is blown, go to next step. If fuse is okay, reinstall fuse and go to step  14 .
  12. Replace fuse No. 9. Depress horn button on steering wheel. Inspect horn fuse. If fuse is okay, system is functioning properly at this time. Fault may be intermittent. Recheck system operation. If fuse is blown, replace fuse and go to next step.
  13. Disconnect horns. Remove horn relay from PDC. See Figure . Measure resistance between ground and terminal No. 87 (Dark Green/Red wire) at horn relay socket in PDC. If resistance is less than 5 ohms, repair short to ground in Dark Green/Red wire between horns and ground. Ground location is located behind right kick panel. If resistance is 5 ohms or more, replace horns.
  14. Remove horn relay from PDC. See Figure . Measure voltage between ground and terminal No. 86 at horn relay socket in PDC. If voltage is more than 10 volts, go to next step. If voltage is 10 volts or less, repair power circuit to PDC or replace PDC.
  15. Measure voltage between ground and terminal No. 30 at horn relay socket in PDC. If voltage is more than 10 volts, go to next step. If voltage is 10 volts or less, replace PDC.
  16. Connect a jumper wire between terminals No. 30 and 87 at horn relay socket in PDC. If horn sounds, go to next step. If horn does not sound, go to step  19 .
  17. Connect a test light between terminals No. 30 and 85 at horn relay socket in PDC. Using scan tool, actuate horn. If test light flashes, replace horn relay. If test light does not flash, go to next step.
  18. Install horn relay. Backprobing, connector a jumper wire between ground and terminal No. 4 (Gray/Orange wire) at junction block connector C2. See Figure . If horn sounds, replace BCM. If does not sound, repair open in Gray/Orange wire.
  19. Ensure jumper wire is still connected. Disconnect horns. Measure resistance between ground and Black wire at each horn harness connector. If resistance is less than 5 ohms, go to next step. If resistance is 5 ohms or more, repair open in Black wire(s) between horns and ground. Ground location is behind right kick panel.
  20. Measure voltage between ground and Dark Green/Red wire at horn harness connector. If voltage is more than 10 volts, replace horns. If voltage is 10 volts or less, repair open in Dark Green/Red wire(s) between horns and horn relay.
  21. Turn ignition on. Once BCM has completed light check, if VTSS indicator light is illuminated constantly, go to next step. If light is not illuminated constantly, go to step  24 .
  22. Using scan tool, read Powertrain Control Module (PCM) status. If scan tool does not display ACTIVE ON THE BUS, go to NO RESPONSE FROM PCM  under COMMUNICATIONS. If scan tool displays ACTIVE ON THE BUS, go to next step.
  23. Disconnect BCM connector "A". BCM is located with junction block under driver's side instrument panel. See Figure . If VTSS indicator light is not illuminated, replace BCM. If VTSS indicator light is illuminated, repair short to ground in VTSS indicator light driver circuit (Black/Orange wire) between BCM and information center.
  24. Connect a jumper wire between ground and terminal No. 16 (Black/Orange wire) at BCM connector "A". See Figure . If VTSS indicator light illuminates, replace BCM. If VTSS indicator light does not illuminate, go to next step.
  25. Disconnect information center connector. Inspect connector for damaged pins, corrosion and loose terminals. Repair connector as necessary. If connector is okay, inspect circuit board. Replace circuit board as necessary. Remove and inspect VTSS indicator light bulb. Replace bulb as necessary. If bulb is okay, go to next step.
  26. Measure voltage between ground and terminal No. 12 (Pink wire) at information center connector. See Figure . If voltage is more than 10 volts, repair open in Black/Orange wire between information center and BCM. If voltage is 10 volts or less, repair open in Pink wire between information center and BCM.
  27. Turn ignition on. Using scan tool, select THEFT ALARM, then MISCELLANEOUS. Select CHANGE MODE, then DIAGNOSTICS. VTSS should now be in diagnostic mode. Follow instructions displayed by scan tool. If TURN KEY TO ACC POSITION is not displayed, go to step  64 . If TURN KEY TO ACC POSITION is displayed for more than 15 seconds or NO RESPONSE is displayed once ignition is turned to ACC position, go to step  29 . If none of the above messages are displayed, go to next step.
  28. Turn ignition off. Remove BCM to gain access to junction block internal 23-pin connector. BCM is located with junction block under driver's side instrument panel. See Figure . Turn ignition on. Measure voltage between ground and terminal No. 14 (Black/White wire) at junction block internal 23-pin connector. See Figure . If voltage is more than 10 volts, replace BCM. If voltage is 10 volts or less, repair open in Black/White wire between ignition switch and junction block.
  29. NOTE: Do not rotate door or liftgate lock cylinder to UNLOCK position. This will cancel self-diagnostic test. If problem is with unlock function, replace lock cylinder switch.
  30. Turn ignition off. Remove key from ignition switch. Wait 2 seconds after performing each of the following actions. Open, then close each door, liftgate and hood. Operate power door lock switch to lock, then unlock position. Rotate key to LOCK position only in each door and liftgate lock. Horn should sound after each action. If horn does not sound, go to appropriate test step. See VTSS SYMPTOM DIRECTORY  table. If horn sounds after each performed action, go to step  62 .
    VTSS SYMPTOM DIRECTORY

    Problem Circuit Perform Step
    Driver's Door Ajar Switch  30
    Passenger's Door Ajar Switch  31
    Right Sliding Door Ajar Switch  32
    Left Sliding Door Ajar Switch  33
    Liftgate Ajar Switch  34
    Driver's Door Lock Switch  35
    Passenger's Door Lock Switch  39
    Driver's Door Key Cylinder  48
    Passenger's Door Key Cylinder  53
    Liftgate Key Cylinder  58
    Hood Ajar  43
  31. Ensure driver's door is closed. Turn ignition on. Using scan tool, select BODY SYSTEM, then BODY COMPUTER. Select INPUTS/OUTPUTS. Observe driver's door ajar state. If scan tool displays CLOSED, go to SHORTED DRIVER'S DOOR AJAR CIRCUIT  under INTERIOR LIGHTING. If scan tool does not display CLOSED, go to OPEN DRIVER'S DOOR AJAR CIRCUIT OR COURTESY LIGHTS INOPERATIVE WITH DRIVER'S DOOR  under INTERIOR LIGHTING.
  32. Ensure passenger's door is closed. Turn ignition on. Using scan tool, select BODY SYSTEM, then BODY COMPUTER. Select INPUTS/OUTPUTS. Observe passenger's door ajar state. If scan tool displays CLOSED, go to SHORTED PASSENGER'S DOOR AJAR CIRCUIT  under INTERIOR LIGHTING. If scan tool does not display CLOSED, go to OPEN PASSENGER'S DOOR AJAR CIRCUIT OR COURTESY LIGHTS INOPERATIVE WITH PASSENGER'S DOOR  under INTERIOR LIGHTING.
  33. Ensure right sliding door is closed. Turn ignition on. Using scan tool, select BODY SYSTEM, then BODY COMPUTER. Select INPUTS/OUTPUTS. Observe right sliding door ajar state. If scan tool displays CLOSED, go to SHORTED RIGHT SLIDING DOOR AJAR CIRCUIT  under INTERIOR LIGHTING. If scan tool does not display CLOSED, go to OPEN RIGHT SLIDING DOOR AJAR CIRCUIT OR COURTESY LIGHTS INOPERATIVE WITH RIGHT SLIDING DOOR  under INTERIOR LIGHTING.
  34. Ensure left sliding door is closed. Turn ignition on. Using scan tool, select BODY SYSTEM, then BODY COMPUTER. Select INPUTS/OUTPUTS. Observe left sliding door ajar state. If scan tool displays CLOSED, go to SHORTED LEFT SLIDING DOOR AJAR CIRCUIT  under INTERIOR LIGHTING. If scan tool does not display CLOSED, go to OPEN LEFT SLIDING DOOR AJAR CIRCUIT OR COURTESY LIGHTS INOPERATIVE WITH LEFT SLIDING DOOR  under INTERIOR LIGHTING.
  35. Ensure liftgate is closed. Turn ignition on. Using scan tool, select BODY SYSTEM, then BODY COMPUTER. Select INPUTS/OUTPUTS. Observe liftgate ajar state. If scan tool displays CLOSED, go to SHORTED LIFTGATE AJAR CIRCUIT  under INTERIOR LIGHTING. If scan tool does not display CLOSED, go to OPEN LIFTGATE AJAR CIRCUIT OR COURTESY LIGHTS INOPERATIVE WITH LIFTGATE  under INTERIOR LIGHTING.
  36. Disconnect driver's door lock switch connector. Measure voltage between ground and White/Dark Green wire at driver's door lock switch. If voltage is 6 volts or less, go to next step. If voltage is more than 6 volts, repair short to voltage in White/Dark Green wire between BCM and driver's door lock switch.
  37. If voltage is less than 4.5 volts, go to next step. If voltage is 4.5 volts or more, go to step  38 .
  38. If doors lock properly from door key cylinder, repair open in White/Dark Green wire between BCM and driver's door lock switch. If doors do not lock properly from door key cylinder, go to step  52 .
  39. Turn ignition off. Turn all lights and accessories off. Measure resistance between ground and Black/Light Green wire at driver's door lock switch. If resistance is less than 5 ohms, replace driver's door lock switch. If resistance is 5 ohms or more, repair open in Black/Light Green wire between driver's door lock switch and ground. Ground location is located behind right kick panel.
  40. Disconnect passenger's door lock switch connector. Measure voltage between ground and White/Light Green wire at passenger's door lock switch. If voltage is 6 volts or less, go to next step. If voltage is more than 6 volts, repair short to voltage in White/Light Green wire between BCM and passenger's door lock switch.
  41. If voltage is less than 4.5 volts, go to next step. If voltage is 4.5 volts or more, go to step  42 .
  42. If doors lock properly from door key cylinder, repair open in White/Light Green wire between BCM and passenger's door lock switch. If doors do not lock properly from door key cylinder, go to step  57 .
  43. Turn ignition off. Turn all lights and accessories off. Measure resistance between ground and Black/Light Green wire at passenger's door lock switch. If resistance is less than 5 ohms, replace passenger's door lock switch. If resistance is 5 ohms or more, repair open in Black/Light Green wire between BCM and passenger's door lock switch.
  44. Ensure hood is closed and correctly aligned. Using scan tool, read hood ajar switch status. If scan tool displays CLOSED, go to next step. If scan tool does not display CLOSED, go to step  46 .
  45. Disconnect hood ajar switch. Using scan tool, read hood ajar switch status. If scan tool displays CLOSED, go to next step. If scan tool does not display CLOSED, replace hood ajar switch.
  46. Disconnect BCM connector "B". BCM is located with junction block under driver's side instrument panel. See Figure . Measure resistance between ground and terminal No. 43 (Brown/Tan wire) at BCM connector "B". See Figure . If resistance is less than 5 ohms, repair short to ground in Brown/Tan wire between BCM and hood ajar switch. If resistance is 5 ohms or more, replace BCM.
  47. Disconnect hood ajar switch connector. Connect a jumper wire between ground and Brown/Tan wire at hood ajar switch connector. Using scan tool, read hood ajar switch status. If scan tool displays CLOSED, replace hood ajar switch. If scan tool does not display CLOSED, go to next step.
  48. Access BCM connector "B". BCM is located with junction block under driver's side instrument panel. See Figure . Remove connector cover. Do not disconnect connector. Connect one end of a jumper wire to ground. Using other end of jumper wire, backprobe terminal No. 43 (Brown/Tan wire) at BCM connector "B". See Figure . Using scan tool, read hood ajar switch status. If scan tool displays CLOSED, repair open in Brown/Tan wire between BCM and hood ajar switch. If scan tool does not display CLOSED, replace BCM.
  49. Disconnect driver's door key cylinder switch connector. Measure voltage between ground and White/Dark Green wire at driver's door key cylinder switch connector. If voltage is 4.5 volts or less, go to step  51 . If voltage is more than 4.5 volts, go to next step.
  50. Turn ignition off. Turn all lights and accessories off. Measure resistance between ground and Black/Light Green wire at driver's door key cylinder switch connector. If resistance is less than 5 ohms, go to next step. If resistance is 5 ohms or more, repair open in Black/Light Green wire between driver's door key cylinder switch and ground. Ground location is located behind right kick panel.
  51. Measure voltage between ground and White/Dark Green wire at driver's door key cylinder switch. If voltage is more than 10 volts, repair short to voltage in White/Dark Green wire. If voltage is 10 volts or less, replace driver's door key cylinder switch.
  52. If door locks operate properly from interior door lock switch, repair open in White/Dark Green wire between driver's door lock switch and driver's door key cylinder switch. If door locks do not operate properly from interior door lock switch, go to next step.
  53. Access BCM connector "B". BCM is located with junction block under driver's side instrument panel. See Figure . Remove connector cover. Do not disconnect connector. Backprobing, measure voltage between ground and terminal No. 45 (White/Dark Green wire) at BCM connector "B". See Figure . If voltage is more than 4.5 volts, repair open in White/Dark Green wire. If voltage is 4.5 volts or less, replace BCM.
  54. Disconnect passenger's door key cylinder switch connector. Measure voltage between ground and White/Light Green wire at passenger's door key cylinder switch connector. If voltage is 4.5 volts or less, go to step  56 . If voltage is more than 4.5 volts, go to next step.
  55. Turn ignition off. Turn all lights and accessories off. Measure resistance between ground and Black/Light Green wire at passenger's door key cylinder switch. If resistance is less than 5 ohms, go to next step. If resistance is 5 ohms or more, repair open in Black/Light Green wire between passenger's door key cylinder switch and ground. Ground location is located behind right front kick panel.
  56. Measure voltage between ground and White/Light Green wire at passenger's door key cylinder switch connector. If voltage is more than 10 volts, repair short to voltage in White/Light Green wire. If voltage is 10 volts or less, replace passenger's door key cylinder switch.
  57. If door locks operate properly from interior door lock switch, repair open in White/Light Green wire between passenger's door lock switch and passenger's door key cylinder switch. If door locks do not operate properly from interior door lock switch, go to next step.
  58. Access BCM connector "B". BCM is located with junction block under passenger's side instrument panel. See Figure . Remove connector cover. Do not disconnect connector. Backprobing, measure voltage between ground and terminal No. 55 (White/Light Green wire) at BCM connector "B". See Figure . If voltage is more than 4.5 volts, repair open in White/Light Green wire. If voltage is 4.5 volts or less, replace BCM.
  59. Disconnect liftgate key cylinder switch connector. Measure voltage between ground and White/Red wire at liftgate key cylinder switch connector. If voltage is 4.5 volts or less, go to step  61 . If voltage is more than 4.5 volts, go to next step.
  60. Turn ignition off. Turn all lights and accessories off. Measure resistance between ground and Black/Light Green wire at liftgate key cylinder switch connector. If resistance is less than 5 ohms, go to next step. If resistance is 5 ohms or more, repair open in Black/Light Green wire between liftgate key cylinder switch and ground. Ground location is located in liftgate. See Figure .
  61. Measure voltage between ground and White/Red wire at liftgate key cylinder switch connector. If voltage is more than 10 volts, repair short to voltage in White/Red wire between BCM and liftgate key cylinder switch. If voltage is 10 volts or less, replace liftgate key cylinder switch.
  62. Access BCM connector "B". BCM is located with junction block under passenger's side instrument panel. See Figure . Remove connector cover. Do not disconnect connector. Backprobing, measure voltage between ground and terminal No. 44 (White/Red wire) at BCM connector "B". See Figure . If voltage is more than 4.5 volts, repair open in White/Red wire between BCM and liftgate key cylinder switch. If voltage is 4.5 volts or less, replace BCM.
  63. Insert key in ignition cylinder. Turn key to START position. If horn fails to sound, go to next step. If horn sounds, go to step  64 .
  64. Turn ignition off. Remove BCM connector "B". BCM is located with junction block under passenger's side instrument panel. See Figure . Gain access to junction block internal 23-pin connector. Measure voltage between ground and terminals No. 11, 12 and 13 at junction block internal connector. See Figure . If voltage is more than 10 volts at all terminals, replace BCM. If voltage is 10 volts or less at any terminal, repair open in fused ignition switch output circuit to junction block.
  65. Using scan tool, select THEFT ALARM, then MONITOR DISPLAY. Read VTSS status. If scan tool displays 1 NO RESPONSE/2 NO RESPONSE, go to NO RESPONSE FROM PCM  under COMMUNICATIONS. If scan tool displays 1 NOT OK TO ARM VTSS/2 OK TO RUN ENGINE, 4 engine start cycles must be completed before system is operational. If scan tool does not display 1 NO RESPONSE/2 NO RESPONSE or 1 NOT OK TO ARM VTSS/2 OK TO RUN ENGINE, system is functioning properly at this time. Fault may be intermittent. Also, check for any applicable Technical Service Bulletins (TSBs) that may apply to vehicle application.