LEMON Manuals: Even more car manuals for everyone: 1960-2025
Home >> Dodge and Ram >> 2000 >> Durango 5.9 Z, 4WD, Part Time >> Repair and Diagnosis >> Body & Frame >> Body, Cab Control Systems >> Body Control Modules >> Connector Identification
April 5, 2026: LEMON Manuals is launched! Read the announcement.

Connector Identification

NOTE: For terminal identification of body control system component harness connectors, use appropriate illustration(s). See CONNECTOR IDENTIFICATION DIRECTORY  . Connector terminal numbers may, or may not, be molded into connector faces. However, if connector terminal identification differs from that shown in following illustrations, use wire colors to ensure correct circuit is being tested. See WIRING DIAGRAMS  .
CONNECTOR IDENTIFICATION DIRECTORY

Connector See
Air Bag Control Module (ACM) Fig 1
Central Timer Module Connectors Fig 2 and Fig 3
Compass Mini Trip Computer (CMTC) Fig 4
Data Link Connector (DLC) Fig 5
Door Lock Motor/Ajar Switch Fig 6
Key-In Ignition Switch Fig 7
Multifunction Switch Fig 8
Power Door Lock (PDL) Switch Fig 9
Power Door Lock/Window Switch Fig 10
Powertrain Control Module (PCM) Fig 11
Relay & Fuse Center Fig 12
Relay (Typical) Fig 13
Wiper Motor Fig 14
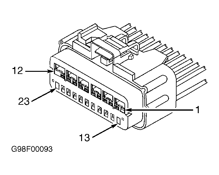
Fig 1: Identifying Air Bag Control Module (ACM) Connector Terminals
G98F00093Courtesy of CHRYSLER CORP.
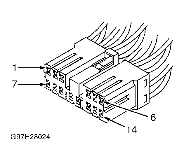
Fig 2: Identifying Central Timer Module (CTM) C1 Connector Terminals (Except Dakota Base-Line Models)
G97H28024Courtesy of CHRYSLER CORP.
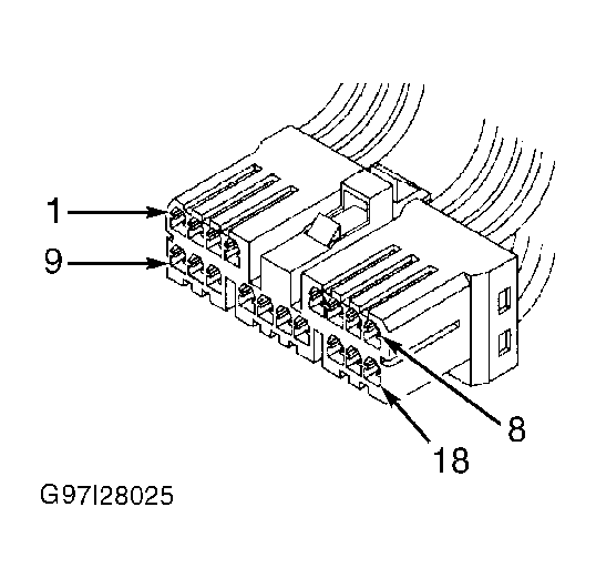
Fig 3: Identifying Central Timer Module (CTM) C2 Connector Terminals (Dakota Base-Line Model C1 Connector Is Similar)
G97I28025Courtesy of CHRYSLER CORP.
Fig 4: Identifying Compass Mini Trip Computer (CMTC) Connector Terminals (Dakota Shown; Durango Is Similar)
G97G28023Courtesy of CHRYSLER CORP.
Fig 5: Identifying Data Link Connector (DLC) Terminals (Durango Shown; Dakota Is Similar)
G95H14289Courtesy of CHRYSLER CORP.
Fig 6: Identifying Door Lock Motor/Ajar Switch Connector Terminals (Dakota Shown; Durango Is Similar)
G98B00100Courtesy of CHRYSLER CORP.
Fig 7: Identifying Key-In Ignition Connector Terminals
G98G00105Courtesy of CHRYSLER CORP.
Fig 8: Identifying Multifunction Switch Connector Terminals
G98H00106Courtesy of CHRYSLER CORP.
Fig 9: Identifying Power Door Lock/Window (PDL) Switch Connector Terminals (Dakota 2-Door)
G98D00110Courtesy of CHRYSLER CORP.
Fig 10: Identifying Power Door Lock/Window (PDL) Switch Connector Terminals (Dakota 4-Door & Durango)
G99F02134Courtesy of CHRYSLER CORP.
Fig 11: Identifying Powertrain Control Module (PCM) Connectors & Terminals
G99H50945Courtesy of CHRYSLER CORP.
Fig 12: Identifying Relay & Fuse Center Connector
G98F00112Courtesy of CHRYSLER CORP.
Fig 13: Identifying Typical Relay Terminals For Testing
G98J00090Courtesy of CHRYSLER CORP.
Fig 14: Identifying Wiper Motor Connector Terminals (Dakota Shown; Durango Is Similar)
G98I00115Courtesy of CHRYSLER CORP.