LEMON Manuals: Even more car manuals for everyone: 1960-2025
Home >> Dodge and Ram >> 2000 >> Intrepid Base >> Repair and Diagnosis (Single Page) >> Engine Performance >> System >> Engine Controls - Self-Diagnostics >> Diagnostic Tests >> DTC P1282: Fuel Pump Relay Control Circuit >> Testing
April 5, 2026: LEMON Manuals is launched! Read the announcement.

DTC P1282: Fuel Pump Relay Control Circuit: Testing

  1. Turn ignition on. Using scan tool, actuate fuel pump relay. Fuel pump relay is located in Power Distribution Center (PDC). PDC is located on left side of engine compartment. See Figure. If fuel pump relay clicks, go to next step. If fuel pump relay does not click, go to step  4.
  2. Turn ignition off. Visually inspect related connectors and wiring harness. Repair connectors and wiring harness as necessary. If connectors and wiring harness are okay, go to next step.
  3. Ensure ignition is on. Wiggle wiring harness from fuel pump relay to Powertrain Control Module (PCM) while actuating fuel pump relay. PCM is located on left side of engine compartment, between Power Distribution Center (PDC) and Transmission Control Module (TCM). See Figure. If fuel pump relay stops clicking at any time while wiggling wiring harness, repair wiring harness where wiggling caused fuel pump relay to stop clicking. If fuel pump relay does not stop clicking at any time while wiggling wiring harness, go to next step.
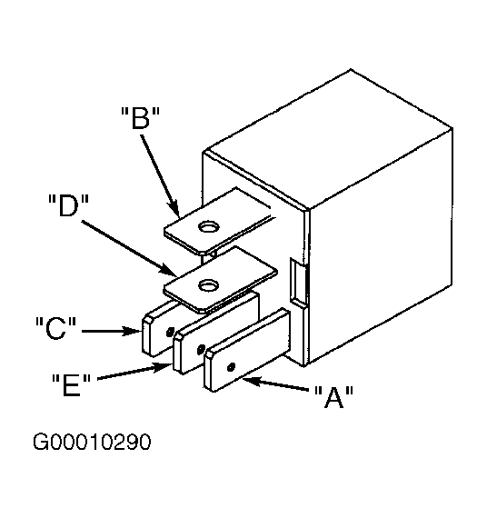
  4. Remove fuel pump relay from PDC. Turn ignition on. Measure voltage between ground and terminal "B" (Red wire) at fuel pump relay socket in PDC. See Fig 1. If voltage is more than 10 volts, go to next step. If voltage is 10 volts or less, Check for open in fused ignition switch output circuit (Red wire) between fuel pump relay and PDC. Repair wiring as necessary. Also check fuse "G" (40-amp) in PDC. Replace fuse as necessary.
    Fig 1: Locating & Identifying Fuel Pump Relay Connector Terminals
    G98D00151Courtesy of DAIMLERCHRYSLER CORPORATION
  5. Using an ohmmeter, check resistance between terminals "A" and "C" at fuel pump relay. See Figure. If resistance is 50-90 ohms, go to next step. If resistance is not 50-90 ohms, replace fuel pump relay.
  6. Ensure ignition is off. Disconnect PCM connectors. PCM is located on left side of engine compartment, between Power Distribution Center (PDC) and Transmission Control Module (TCM). See Figure. Inspect connectors for damaged pins, corrosion and loose terminals. Repair connectors as necessary. If connectors are okay, measure resistance of Brown wire between terminal "C" at fuel pump relay socket in PDC and terminal No. 74 at PCM C2 harness connector. See Figure and Fig 1 . If resistance is less than 5 ohms, go to next step. If resistance is 5 ohms or more, repair open in Brown wire between fuel pump relay and PCM.
  7. Measure resistance between ground and terminal No. 74 (Brown wire) at PCM C2 harness connector. If resistance is 5 ohms or more, go to next step. If resistance is less than 5 ohms, repair short to ground in Brown wire between fuel pump relay and PCM.
  8. At this time, PCM is assumed to be defective. Replace PCM.