LEMON Manuals: Even more car manuals for everyone: 1960-2025
Home >> Dodge and Ram >> 2000 >> Intrepid R/T >> Repair and Diagnosis >> Body & Frame >> Body, Cab Control Systems >> Body Control Modules >> System Tests >> Electrically Heated Systems >> Driver Heated Seat Switch Open/Shorted To Ground
April 5, 2026: LEMON Manuals is launched! Read the announcement.

Driver Heated Seat Switch Open/Shorted To Ground

  1. Turn ignition off. Disconnect Memory Heated Seat/Mirror Module (MHSMM) harness connector C1. Turn ignition on. Measure voltage at terminal No. 18 (Tan/Dark Green wire) at MHSMM harness connector C1. See Figure . If battery voltage does not exist, go to next step. If battery voltage exists, replace MHSMM.
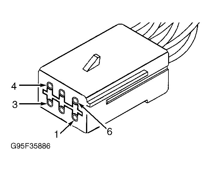
  2. Turn ignition off. Disconnect driver's heated seat switch harness connector. Measure resistance in Tan/Dark Green wire between terminal No. 6 at driver's heated seat switch harness connector and terminal No. 18 at MHSMM harness connector C1. See Figure and Fig 1 . If resistance is 5 ohms or less, go to next step. If resistance is greater than 5 ohms, repair open in Tan/Dark Green wire between driver's heated seat switch and MHSMM.
  3. Measure resistance between ground and terminal No. 18 (Tan/Dark Green wire) at MHSMM harness connector C1. If resistance is greater than 1000 ohms, replace driver's heated seat switch. If resistance is 1000 ohms or less, repair short to ground in Tan/Dark Green wire between driver's heated seat switch and MHSMM.
Fig 1: Identifying Heated Seat Switch Harness Connector Terminals
G95F35886Courtesy of CHRYSLER CORP.