LEMON Manuals: Even more car manuals for everyone: 1960-2025
Home >> Dodge and Ram >> 2000 >> Neon High Line, Automatic >> Repair and Diagnosis >> Body & Frame >> Body, Cab Control Systems >> Body Control Modules >> System Tests >> Instrument Cluster >> Fuel Level Sensor Open
April 5, 2026: LEMON Manuals is launched! Read the announcement.

Fuel Level Sensor Open

NOTE: After making any repairs, perform POWERTRAIN VERIFICATION TEST  under VERIFICATION TESTS. Unless instructed otherwise in test step, reconnect any disconnected connectors.
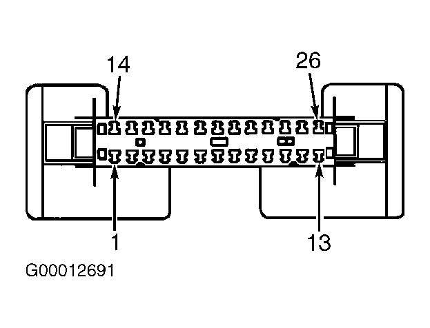
  1. Turn ignition off. Disconnect instrument cluster connector. Instrument cluster connector is a 26-pin Black connector, located behind left upper instrument panel. Go to next step.
  2. Using an ohmmeter, check resistance between ground and instrument cluster connector terminal No. 7, fuel level sensor signal circuit (Dark Blue wire). See Figure. If resistance is more than 1060 ohms, reconnect instrument cluster connector and go to next step. If resistance is 1060 ohms or less, reconnect instrument cluster connector, and disconnect fuel pump module connector (located on fuel tank, and go to step  4.
  3. Disconnect fuel pump module connector. Fuel pump module connector is located on fuel tank. Using ohmmeter, check resistance between ground and fuel pump module connector terminals No. 1, ground circuit (Black wire) and No. 2, ground circuit (Black/Light Green wire). See Fig 1. If resistance is less than 5 ohms on both circuits, leave fuel pump module connector disconnected, and go to next step. If resistance is 5 ohms or more on either circuit, repair open Black wire and/or Black/Light Green wire.
    Fig 1: Identifying Fuel Pump Module Connector Terminals
    G00012696Courtesy of DAIMLERCHRYSLER CORP.
  4. Disconnect instrument cluster connector. Using ohmmeter check resistance between fuel pump module (component side) terminals No. 2, fuel level sensor ground circuit (Black/Light Green wire) and No. 3, fuel level sensor signal circuit (Dark Blue wire). If resistance is more than 1060 ohms, replace fuel level sensor. Fuel level sensor is mounted on fuel pump module. See appropriate procedure in REMOVAL, OVERHAUL & INSTALLATION - CARS article in ENGINE PERFORMANCE. If resistance is 1060 ohms or less, leave fuel pump module connector disconnected, disconnect instrument cluster connector and go to next step.
  5. Connect a jumper wire between ground and instrument cluster connector terminal No. 7, fuel level sensor signal circuit (Dark Blue wire). Using ohmmeter, check resistance between ground and fuel pump connector terminal No. 3, fuel level sensor signal circuit (Dark Blue wire). If resistance is less than 5 ohms, replace instrument cluster. See ANALOG INSTRUMENT PANELS - NEON article. If resistance is 5 ohms or more, repair open Dark Blue wire.