LEMON Manuals: Even more car manuals for everyone: 1960-2025
Home >> Dodge and Ram >> 2001 >> Intrepid Base >> Repair and Diagnosis (Single Page) >> Body & Frame >> Body, Cab Control Systems >> Body Control Modules >> System Tests >> Power Door Locks/Remote Keyless Entry System >> All Doors Failing To Lock From Any Switch
April 5, 2026: LEMON Manuals is launched! Read the announcement.

All Doors Failing To Lock From Any Switch

NOTE: After making any repairs, perform BODY CONTROL MODULES SYSTEM VERIFICATION TEST  under VERIFICATION TESTS.
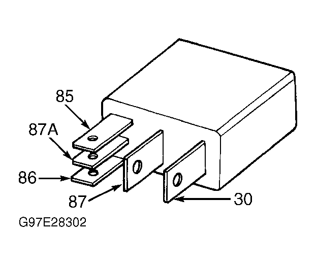
  1. Turn ignition off. Remove door lock relay from junction block. See Figure . Connect a 12-volt test light between ground and door lock relay connector terminals No. 82 and 83. If test light illuminates brightly at both terminals, leave door lock relay removed, and go to next step. If test light does not illuminate brightly at both terminals, replace junction block.
  2. Connect scan tool to Data Link Connector (DLC). Connect test light between door lock relay connector terminals No. 83 and 85. Using scan tool, actuate door lock relay. If test light flashes, leave door lock relay removed, and go to next step. If test light does not flash, leave door lock relay removed, and go to step  8 .
  3. Measure resistance between door lock relay (component side) terminals No. 85 and 86. See Figure . If resistance is 50-90 ohms, leave door lock relay removed, and go to next step. If resistance is not 50-90, replace door lock relay.
  4. Measure resistance between door lock relay (component side) terminal No. 86 and terminals No. 30, 87 and 87a. If any resistance is less than 5 ohms, replace door lock relay. If all resistances are 5 ohms or more, leave door lock relay removed, and go to next step.
  5. Remove door unlock relay and driver door unlock relay from junction block. See Figure . Measure resistance between ground and door lock relay connector terminal No. 81. If resistance is less than 100 ohms, replace junction block. If resistance is 100 ohms or more, leave door unlock relay removed, and go to next step.
  6. Measure resistance between door unlock relay (component side) terminals No. 30 and 87a. If resistance is more than 5 ohms, replace door unlock relay. If resistance is 5 ohms or less, leave door unlock relay removed, and go to next step.
  7. Measure resistance between ground and door unlock relay connector terminal No. 79. If resistance is 5 ohms or more, replace junction block. If resistance is less than 5 ohms, fault may be intermittent. Check related wiring and connectors for poor connections or damage to wiring harness. See WIRING DIAGRAMS  . Repair any problems found as necessary. If no problems are found, check if any Technical Service Bulletins (TSBs) apply to vehicle. If no TSBs apply, test is complete.
  8. Ensure ignition is off. Remove Body Control Module (BCM) from back of junction block. Measure resistance between door lock relay connector terminal No. 85 and terminal No. 15 at BCM connector on back of junction block. See Figure and Figure . If resistance is less than 5 ohms, replace BCM. If resistance is 5 ohms or more, replace junction block.