LEMON Manuals: Even more car manuals for everyone: 1960-2025
Home >> Dodge and Ram >> 2001 >> Neon Base >> Repair and Diagnosis >> Body & Frame >> Power Windows >> Component Tests >> Power Window Switch
April 5, 2026: LEMON Manuals is launched! Read the announcement.

Power Window Switch

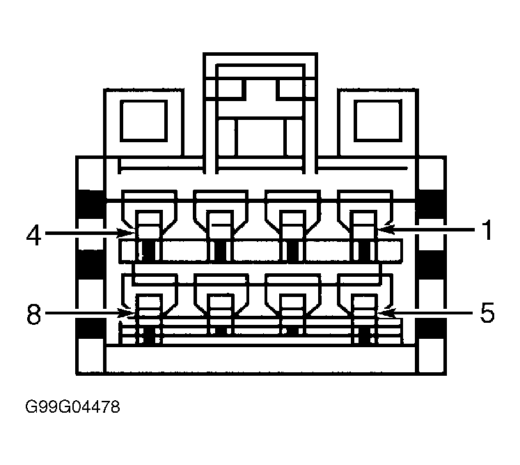
Remove power window switch. Check continuity between appropriate switch terminals with switch in appropriate position. See WINDOW SWITCH CONTINUITY TEST  table. See Fig 1 . If continuity is not as specified, replace appropriate power window switch. See WINDOW SWITCH  under REMOVAL & INSTALLATION.

WINDOW SWITCH CONTINUITY TEST

Switch Position (1) Continuity Between Terminals No.
Up 3 & 8; 4 & 5
Neutral 3 & 8; 2 & 5
Down 4 & 8; 2 & 5
(1) Driver's window switch has 2 connectors. Gray connector is for operation of passenger's window and Black connector is for operation of driver's window. See Fig 1 .
Fig 1: Identifying Window Switch Terminals (Harness Side Shown)
G99G04478Courtesy of DAIMLERCHRYSLER CORP.