LEMON Manuals: Even more car manuals for everyone: 1960-2025
Home >> Dodge and Ram >> 2003 >> Durango Base, 5.9 Z, 4WD, Part Time >> Repair and Diagnosis >> External Pages >> Different car >> Section 9 (Engine Controls - System & Component Testing) >> Connector Identification
April 5, 2026: LEMON Manuals is launched! Read the announcement.

Connector Identification

WARNING: This page is about a different car, the 2002 Dodge Durango and 2002 Dodge Dakota. However, it is still accessible from the selected car via links, so may be relevant.
NOTE: For connector identification not given in this article, see CONNECTOR IDENTIFICATION in appropriate SELF-DIAGNOSTICS article. See SELF-DIAGNOSTICS - DAKOTA , SELF-DIAGNOSTICS - DURANGO - JTEC or SELF-DIAGNOSTICS - DURANGO - NGC article.
Fig 1: Identifying Fuel Injector No. 1 Harness Connector Terminals (2.5L)
G00088623Courtesy of DAIMLERCHRYSLER
Fig 2: Identifying Fuel Injector No. 1 Harness Connector Terminals (3.9L, 4.7L & 5.9L)
G00088624Courtesy of DAIMLERCHRYSLER
Fig 3: Identifying Fuel Injector No. 2 Harness Connector Terminals (2.5L)
G00088625Courtesy of DAIMLERCHRYSLER
Fig 4: Identifying Fuel Injector No. 2 Harness Connector Terminals (3.9L, 4.7L & 5.9L)
G00088626Courtesy of DAIMLERCHRYSLER
Fig 5: Identifying Fuel Injector No. 3 Harness Connector Terminals (2.5L)
G00088627Courtesy of DAIMLERCHRYSLER
Fig 6: Identifying Fuel Injector No. 3 Harness Connector Terminals (3.9L, 4.7L & 5.9L)
G00088628Courtesy of DAIMLERCHRYSLER
Fig 7: Identifying Fuel Injector No. 4 Harness Connector Terminals (2.5L)
G00088629Courtesy of DAIMLERCHRYSLER
Fig 8: Identifying Fuel Injector No. 4 Harness Connector Terminals (3.9L, 4.7L & 5.9L)
G00088630Courtesy of DAIMLERCHRYSLER
Fig 9: Identifying Fuel Injector No. 5 Harness Connector Terminals (3.9L, 4.7L & 5.9L)
G00088631Courtesy of DAIMLERCHRYSLER
Fig 10: Identifying Fuel Injector No. 6 Harness Connector Terminals (3.9L, 4.7L & 5.9L)
G00088632Courtesy of DAIMLERCHRYSLER
Fig 11: Identifying Fuel Injector No. 7 Harness Connector Terminals (4.7L & 5.9L)
G00088633Courtesy of DAIMLERCHRYSLER
Fig 12: Identifying Fuel Injector No. 8 Harness Connector Terminals (4.7L & 5.9L)
G00088634Courtesy of DAIMLERCHRYSLER
Fig 13: Identifying Fuel Pump Module Harness Connector Terminals (Dakota)
G00088635Courtesy of DAIMLERCHRYSLER
Fig 14: Identifying Fuel Pump Module Harness Connector Terminals (Durango - JTEC)
G00117229Courtesy of DAIMLERCHRYSLER CORP.
Fig 15: Identifying Fuel Pump Module Harness Connector Terminals (Durango - NGC)
G00096107Courtesy of DAIMLERCHRYSLER CORP.
Fig 16: Identifying Power Distribution Center Components (Dakota)
G00096045Courtesy of DAIMLERCHRYSLER
Fig 17: Identifying Power Distribution Center Components (Durango)
G00117189Courtesy of DAIMLERCHRYSLER CORP.
Fig 18: Identifying Power Distribution Center Circuits (Dakota - 1 Of 2)
G00096046Courtesy of DAIMLERCHRYSLER
Fig 19: Identifying Power Distribution Center Circuits (Dakota - 2 Of 2)
G00096047Courtesy of DAIMLERCHRYSLER
Fig 20: Identifying Power Distribution Center Fused Circuits (Durango - JTEC & NGC)
G00117190Courtesy of DAIMLERCHRYSLER CORP.
Fig 21: Identifying Power Distribution Center Relay Circuits (Durango - JTEC)
G00117239Courtesy of DAIMLERCHRYSLER CORP.
Fig 22: Identifying Power Distribution Center Relay Circuits (Durango - NGC)
G00117191Courtesy of DAIMLERCHRYSLER CORP.
Fig 23: Identifying Powertrain Control Module Harness Connector C1 Terminals (2.5L)
G00096049Courtesy of DAIMLERCHRYSLER
Fig 24: Identifying Powertrain Control Module Harness Connector C1 Terminals (3.9L, 4.7L & 5.9L - JTEC)
G00096050Courtesy of DAIMLERCHRYSLER
Fig 25: Identifying Powertrain Control Module Harness Connector C1 Terminals (4.7L - NGC)
G00117193Courtesy of DAIMLERCHRYSLER
Fig 26: Identifying Radiator Fan Motor Harness Connector Terminals
G00117198Courtesy of DAIMLERCHRYSLER
Fig 27: Identifying Relay Terminals (Typical - Type-1)
G97E28302Courtesy of DAIMLERCHRYSLER CORPORATION
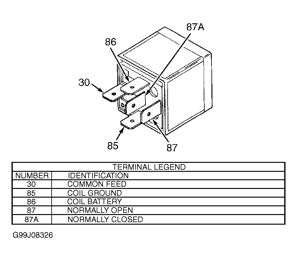
Fig 28: Identifying Relay Terminals (Typical - Type-2)
G99J08326Courtesy of DAIMLERCHRYSLER CORPORATION