LEMON Manuals: Even more car manuals for everyone: 1960-2025
Home >> Dodge and Ram >> 2003 >> Intrepid SXT >> Repair and Diagnosis >> Steering >> Steering Control Systems >> Body Diagnostic Procedures >> Schematic Diagram >> Interior Lighting
April 5, 2026: LEMON Manuals is launched! Read the announcement.

Interior Lighting

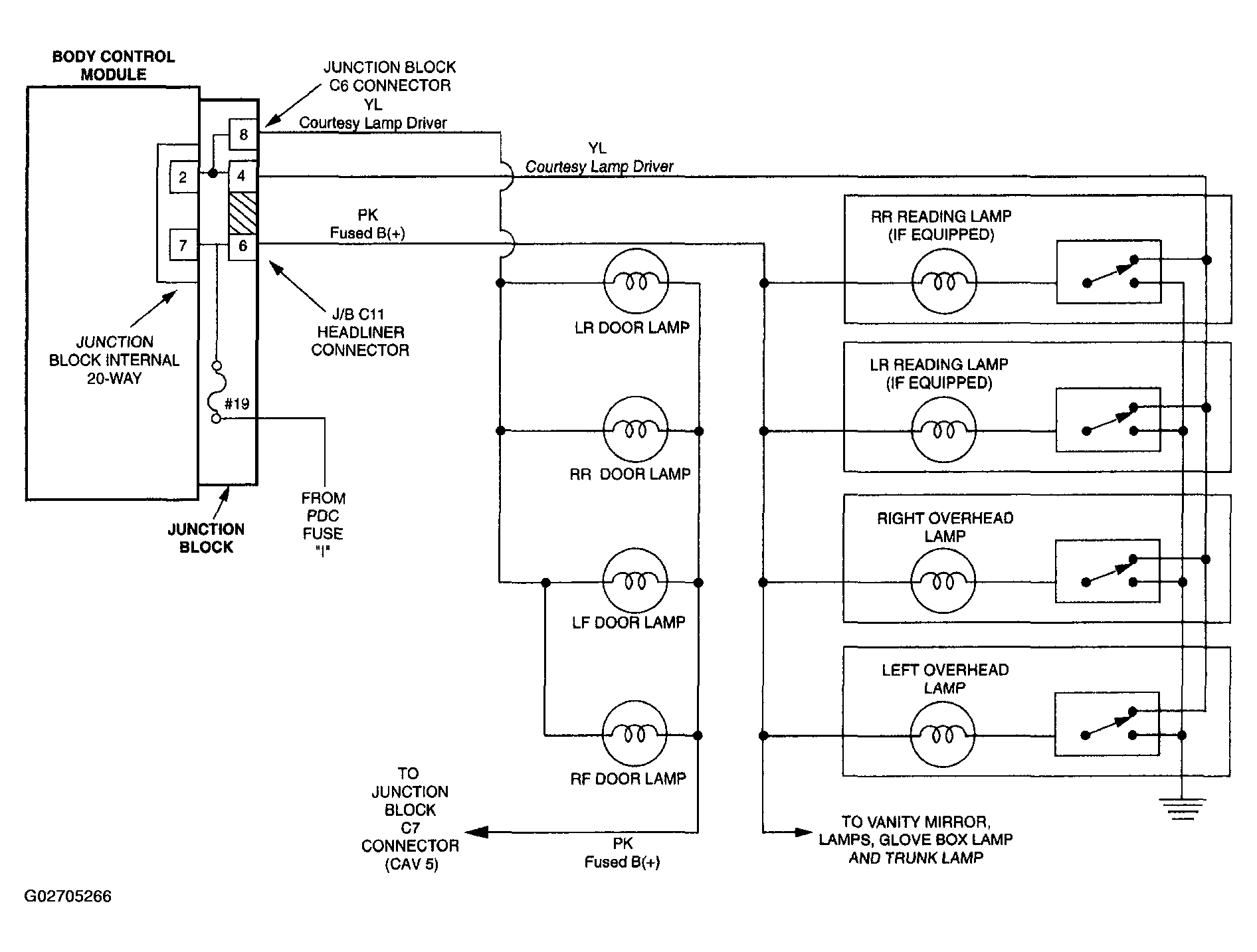
Fig 1: Schematic Diagrams - Interior Lighting (1 Of 2)
G02705266Courtesy of DAIMLERCHRYSLER CORP.
Fig 2: Schematic Diagrams - Interior Lighting (2 Of 2)
G02705267Courtesy of DAIMLERCHRYSLER CORP.