LEMON Manuals: Even more car manuals for everyone: 1960-2025
Home >> Dodge and Ram >> 2007 >> Caliber R/T, AWD >> Repair and Diagnosis >> Engine Performance >> System >> DTCS P2009 To P2116 >> P2066-Fuel Level Sensor 2 Performance >> Diagnostic Test
April 5, 2026: LEMON Manuals is launched! Read the announcement.

Diagnostic Test

  1. 1) DTC IS ACTIVE 

    Turn the ignition on.

    With the scan tool, select View DTCs and review the DTC environmental information.

    Is the good trip counter greater than 0? 

    Yes 

    1. The DTC is not active at this time. Refer to *CHECKING FOR AN INTERMITTENT CONDITION .

    No 

    1. Go to step  2).
  2. 2) EXTERIOR FUEL TANK DAMAGE 

    Inspect the exterior of the fuel tank for any damage that may restrict the movement of the fuel level sensor floats.

    Were any problems found? 

    Yes 

    1. Replace the fuel tank as necessary.
    2. Perform BODY VERIFICATION TEST - VER 1 .

    No 

    1. Go to step  3).
  3. 3) FUEL PUMP MODULE WIRING AND CONNECTORS 

    Using the wiring diagram/schematic as a guide, inspect the wiring and connectors between the Fuel Pump Module harness connector and the Instrument Cluster (CCN).

    Look for any chafed, pierced, pinched, or partially broken wires.

    Look for broken, bent, pushed out or corroded terminals.

    Refer to any Technical Service Bulletins that may apply.

    Were any problems found? 

    Yes 

    1. Repair as necessary.
    2. Perform BODY VERIFICATION TEST - VER 1 .

    No 

    1. Go to step  4).
  4. 4) (N5) FUEL LEVEL SIGNAL 2 CIRCUIT VOLTAGE 
    Fig 1: Measuring Voltage Of (N5) Fuel Level Signal 2 Circuit In Fuel Level Sensor 2 Harness Connector
    GC0054162Courtesy of CHRYSLER LLC

    Turn the ignition off.

    Disconnect the Fuel Pump Module harness connector.

    Turn the ignition on.

    With the scan tool, read the Fuel Level Sensor 2 circuit voltage.

    NOTE: The sensor voltage should be approximately 5.0 volts (plus or minus.1 volt) with connector disconnected.

    Turn the ignition off.

    Connect a jumper wire between ground and the (N5) Fuel Level Signal 2 circuit in the Fuel Pump Module harness connector.

    Turn the ignition on.

    With the scan tool, read the Fuel Level Sensor 2 circuit voltage.

    NOTE: The sensor voltage should be approximately 0.0 volts (plus or minus.1 volt) with the jumper wire in place.

    Does the scan tool display the voltage as described above? 

    Yes 

    1. Go to step  5).

    No 

    1. Go to step  11).
  5. 5) (N4) FUEL LEVEL SIGNAL 1 CIRCUIT VOLTAGE 
    Fig 2: Measuring Voltage Of (N4) Fuel Level Signal 1 Circuit In Fuel Level Sensor 1 Harness Connector
    GC0053903Courtesy of CHRYSLER LLC

    With the scan tool, read the Fuel Level Sensor 1 circuit voltage.

    NOTE: The sensor voltage should be approximately 5.0 volts (plus or minus.1 volt) with connector disconnected.

    Turn the ignition off.

    Connect a jumper wire between ground and the (N4) Fuel Level Signal 1 circuit in the Fuel Pump Module harness connector.

    Turn the ignition on.

    With the scan tool, read the Fuel Level Sensor 1 circuit voltage.

    NOTE: The sensor voltage should be approximately 0.0 volts (plus or minus.1 volt) with the jumper wire in place.

    Does the scan tool display the voltage as described above? 

    Yes 

    1. Go to step  6).

    No 

    1. Go to step  14).
  6. 6) (Z965) GROUND CIRCUIT OPEN OR HIGH RESISTANCE 
    Fig 3: Measuring Resistance Between Ground And (Z965) Ground Circuit In The Fuel Pump Module Harness Connector
    GC0054179Courtesy of CHRYSLER LLC

    Turn the ignition off.

    Measure the resistance between ground and the (Z965) Ground circuit in the Fuel Pump Module harness connector.

    Is the resistance below 5 ohms? 

    Yes 

    1. Go to step  7).

    No 

    1. Repair the (Z965) Ground circuit for an open circuit or high resistance.
    2. Perform BODY VERIFICATION TEST - VER 1 .
  7. 7) FUEL TANK WIRING HARNESS INSPECTION 
    WARNING: The fuel system is under a constant pressure (even with the engine off). Before testing or servicing any fuel system hose, fitting or line, the fuel system pressure must be released. Failure to follow these instructions can result in personal injury or death.

    Remove the fuel tank in accordance with the Service Information.

    Inspect the wiring and connectors between the Fuel Pump Module harness connector and both Fuel Level Sensors.

    Look for any chafed, pierced, pinched, or partially broken wires.

    Look for broken, bent, pushed out or corroded terminals.

    Were any problems found? 

    Yes 

    1. Repair as necessary.
    2. Perform BODY VERIFICATION TEST - VER 1 .

    No 

    1. Go to step  8).
  8. 8) FUEL LEVEL SENSOR 1 INSPECTION 

    Remove the Fuel Level Sensor 1.

    Inspect the Fuel Level Sensor 1 and the inside of the fuel tank for any condition that would restrict the movement of the fuel level sensor float.

    Were any problems found? 

    Yes 

    1. Repair or replace the fuel tank components as necessary.
    2. Perform BODY VERIFICATION TEST - VER 1 .

    No 

    1. Go to step  9).
  9. 9) FUEL LEVEL SENSOR 1 RESISTANCE 

    Move the Fuel Level Sensor 1 float to its lowest point of travel.

    Measure the resistance between the terminals of Fuel Level Sensor 1.

    NOTE: The resistance should be approximately 120 ohms with the float at its lowest point of travel (empty).

    Move the Fuel Level Sensor 1 float to its highest point of travel.

    Measure the resistance between the terminals of Fuel Level Sensor 1.

    NOTE: The resistance should be approximately 13 ohms with the float at its highest point of travel (full).

    Is the resistance of the sensor within the values described above? 

    Yes 

    1. Go to step  10).

    No 

    1. Replace the Fuel Level Sensor 1.
    2. Perform BODY VERIFICATION TEST - VER 1 .
  10. 10) FUEL LEVEL SENSOR 2 INSPECTION 

    Remove the Fuel Level Sensor 2 sensor.

    Inspect the Fuel Level Sensor 2 and the inside of the fuel tank for any condition that would restrict the movement of the fuel level sensor float.

    Were any problems found? 

    Yes 

    1. Repair or replace the fuel tank components as necessary.
    2. Perform BODY VERIFICATION TEST - VER 1 .

    No 

    1. Replace the Fuel Level Sensor 2.
    2. Perform BODY VERIFICATION TEST - VER 1 .
  11. 11) (N5) FUEL LEVEL SIGNAL 2 CIRCUIT SHORTED TO VOLTAGE 
    Fig 4: Measuring Voltage Of (N5) Fuel Level Signal 2 Circuit In Fuel Level Sensor 2 Harness Connector
    GC0054162Courtesy of CHRYSLER LLC

    Turn the ignition off.

    Disconnect the Instrument Cluster (CCN) connector.

    Turn the ignition on.

    Measure the voltage of the (N5) Fuel Level Signal 2 circuit in the Fuel Level Sensor 2 harness connector.

    Is there any voltage present? 

    Yes 

    1. Repair the (N5) Fuel Level Signal 2 circuit for a short to voltage.
    2. Perform BODY VERIFICATION TEST - VER 1 .

    No 

    1. Go to step  12).
  12. 12) (N5) FUEL LEVEL SIGNAL 2 CIRCUIT SHORTED TO GROUND 
    Fig 5: Measuring Resistance Between Ground And (N5) Fuel Level Signal 2 Circuit In Fuel Level Sensor 2 Harness Connector
    GC0054163Courtesy of CHRYSLER LLC

    Turn the ignition off.

    Measure the resistance between ground and the (N5) Fuel Level Signal 2 circuit in the Fuel Level Sensor 2 harness connector.

    Is the resistance above 100 ohms? 

    Yes 

    1. Go to step  13).

    No 

    1. Repair the (N5) Fuel Level Signal 2 circuit for a short to ground.
    2. Perform BODY VERIFICATION TEST - VER 1 .
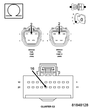
  13. 13) (N5) FUEL LEVEL SIGNAL 2 CIRCUIT OPEN OR HIGH RESISTANCE 
    Fig 6: Measuring Resistance Of (N5) Fuel Level Signal 2 Circuit Between Fuel Level Sensor 2 Harness Connector And Instrument Cluster (CCN) Harness Connector.
    GC0054164Courtesy of CHRYSLER LLC

    Measure the resistance of the (N5) Fuel Level Signal 2 circuit between the Fuel Level Sensor 2 harness connector and the Instrument Cluster (CCN) harness connector.

    Is the resistance below 5.0 ohms? 

    Yes 

    1. Go to step  17).

    No 

    1. Repair the (N5) Fuel Level Signal 2 circuit for an open circuit or high resistance.
    2. Perform BODY VERIFICATION TEST - VER 1 .
  14. 14) (N4) FUEL LEVEL SIGNAL 1 CIRCUIT SHORTED TO VOLTAGE 
    Fig 7: Measuring Voltage Of (N4) Fuel Level Signal 1 Circuit In Fuel Level Sensor 1 Harness Connector
    GC0053903Courtesy of CHRYSLER LLC

    Turn the ignition off.

    Disconnect the Instrument Cluster (CCN) connector.

    Turn the ignition on.

    Measure the voltage of the (N4) Fuel Level Signal 1 circuit in the Fuel Level Sensor 1 harness connector.

    Is there any voltage present? 

    Yes 

    1. Repair the (N4) Fuel Level Signal 1 circuit for a short to voltage.
    2. Perform BODY VERIFICATION TEST - VER 1 .

    No 

    1. Go to step  15).
  15. 15) (N4) FUEL LEVEL SIGNAL 1 CIRCUIT SHORTED TO GROUND 
    Fig 8: Measuring Resistance Between Ground And (N4) Fuel Level Signal 1 Circuit In Fuel Level Sensor 1 Harness Connector
    GC0054026Courtesy of CHRYSLER LLC

    Turn the ignition off.

    Measure the resistance between ground and the (N4) Fuel Level Signal 1 circuit in the Fuel Level Sensor 1 harness connector.

    Is the resistance above 100 ohms? 

    Yes 

    1. Go to step  16).

    No 

    1. Repair the (N4) Fuel Level Signal 1 circuit for a short to ground.
    2. Perform BODY VERIFICATION TEST - VER 1 .
  16. 16) (N4) FUEL LEVEL SIGNAL 1 CIRCUIT OPEN OR HIGH RESISTANCE 
    Fig 9: Measuring Resistance Of (N4) Fuel Level Signal 1 Circuit Between Fuel Level Sensor 1 Harness Connector And Instrument Cluster (CCN) Harness Connector
    GC0053904Courtesy of CHRYSLER LLC

    Measure the resistance of the (N4) Fuel Level Signal 1 circuit between the Fuel Level Sensor 1 harness connector and the Instrument Cluster (CCN) harness connector.

    Is the resistance below 5.0 ohms? 

    Yes 

    1. Go to step  17).

    No 

    1. Repair the (N4) Fuel Level Signal 1 circuit for an open circuit or high resistance.
    2. Perform BODY VERIFICATION TEST - VER 1 .
  17. 17) INSTRUMENT CLUSTER (CCN) 

    Using the wiring diagram/schematic as a guide, inspect the wiring and connectors between the Fuel Pump Module and the Instrument Cluster (CCN).

    Look for any chafed, pierced, pinched, or partially broken wires.

    Look for broken, bent, pushed out or corroded terminals.

    Refer to any Technical Service Bulletins that may apply.

    Were any problems found? 

    Yes 

    1. Repair as necessary.
    2. Perform BODY VERIFICATION TEST - VER 1 .

    No 

    1. Replace the Instrument Cluster (CCN) in accordance with the Service Information.
    2. Perform BODY VERIFICATION TEST - VER 1 .