LEMON Manuals: Even more car manuals for everyone: 1960-2025
Home >> Dodge and Ram >> 2007 >> Nitro 2WD V6-3.7L >> Repair and Diagnosis >> Diagrams >> Connector Views >> Power Distribution Module
April 5, 2026: LEMON Manuals is launched! Read the announcement.

Power Distribution Module


Component ID: 201
Component : MODULE-TOTALLY INTEGRATED POWER

Connector:
Name : MODULE-TOTALLY INTEGRATED POWER C1
Color : BLACK
# of pins : 50




Pin Description Circuit
1 - -
2 A/C PRESSURE TRANSDUCER SIGNAL C18 20LB/BR
3 - -
4 - -
5 - -
6 A/C CLUTCH CONTROL C13 18LB/OR
6 A/C CLUTCH CONTROL C13 20LB/OR
7 BACKUP LAMP SWITCH SIGNAL T2 18DG/WT
8 - -
9 - -
10 FUSED RUN/START RELAY OUTPUT F941A 20PK/LG
10 TRANSMISSION CONTROL T15 18YL/BR
11 A/C PRESSURE 5 VOLT SUPPLY C818 20LB/OR
12 - -
13 - -
14 - -
15 CAN C BUS (-) D64 20WT/LB
16 CAN C BUS (+) D65 20WT/LG
17 A/C PRESSURE SENSOR GROUND C918 20BK/LB
18 - -
19 - -
20 - -
21 - -
22 - -
23 CABIN HEATER 2 RELAY CONTROL K361 18WT/BR
24 CABIN HEATER 3 RELAY CONTROL K363 18OR/BR
25 CABIN HEATER 1 RELAY CONTROL K360 18GY/BR
26 - -
27 GROUND Z905 18BK
28 SENSOR GROUND K91 18DB/YL
29 - -
30 - -
31 - -
32 - -
33 - -
34 GROUND Z903 18BK
35 - -
36 - -
37 - -
38 - -
39 - -
40 FUEL PUMP CONTROL K31 20BR
40 FUEL PUMP CONTROL K31 18BR
41 - -
42 - -
43 - -
44 - -
45 - -
46 MODE SENSOR SIGNAL T313 18YL/LG
46 MODE SENSOR SIGNAL T313 18YL/LB
47 TRANSFER CASE BRAKE SIGNAL T300 18YL/GY
48 - -
49 IGNITION SWITCH OUTPUT (UNLOCK-RUN-START) F1 18PK/WT
50 A/C CLUTCH CONTROL OUTPUT C3 18DB/YL

Component Location - 6




Component Location - 17

Fig. 17:





Component Location - 27




Component Location - 29




Component Location - 28

Fig. 28:







Connector:
Name : MODULE-TOTALLY INTEGRATED POWER C2
Color : BLUE
# of pins : 26




Pin Description Circuit
1 - -
2 - -
3 FUSED ASD RELAY OUTPUT F344 16BR/GY
4 - -
5 - -
6 - -
7 - -
8 STARTER RELAY OUTPUT T750 12YL/GY
9 FUSED B(+) A209 18RD
10 - -
11 - -
12 - -
13 - -
14 ASD RELAY CONTROL K51 20BR
14 ASD RELAY CONTROL K51 20BR/WT
15 - -
16 - -
17 GROUND Z905 14BK
18 - -
19 - -
20 - -
21 - -
22 FUSED RUN/START RELAY OUTPUT F202 20PK/GY
23 - -
24 STARTER RELAY CONTROL T752 20DG/OR
24 STARTER RELAY CONTROL T752 18DG/OR
25 - -
26 TRANSMISSION CONTROL OUTPUT T16 16YL/OR
26 TRANSMISSION CONTROL OUTPUT T16 14YL/OR

Component Location - 6




Component Location - 17

Fig. 17:





Component Location - 27




Component Location - 29




Component Location - 28

Fig. 28:







Connector:
Name : MODULE-TOTALLY INTEGRATED POWER C3
Color : GREEN
# of pins : 26




Pin Description Circuit
1 FUSED B(+) A16 10RD/BR
2 HIGH SPEED RAD FAN RELAY CONTROL K175 18BR/LB
3 LEFT LOW BEAM DRIVER L43 16WT/DB
4 - -
5 - -
6 RIGHT HEADLAMP RETURN SIGNAL L910 18BK/TN
7 - -
8 LOW SPEED RAD FAN CONTROL (PWM) N23 10DB/DG
9 - -
10 LEFT HIGH BEAM DRIVER L33 16WT/LG
11 RIGHT LOW BEAM DRIVER L44 16WT/TN
12 RIGHT FRONT PARK SIGNAL CONTROL L60 18WT/TN
13 LEFT HEADLAMP RETURN SIGNAL L911 18BK/LG
14 - -
15 - -
16 - -
17 - -
18 FUSED HORN CONTROL OUTPUT X21 18GY/YL
19 RIGHT HIGH BEAM DRIVER L34 16WT/GY
20 LEFT FRONT PARK SIGNAL CONTROL L61 18WT/LG
21 REAR WASHER PUMP MOTOR CONTROL W20 16BR/YL
22 FUSED RUN RELAY OUTPUT W24 18BR/OR
23 - -
24 FUSED HORN CONTROL OUTPUT X22 18GY/LB
25 FRONT WASHER PUMP MOTOR CONTROL W10 16BR
26 - -

Component Location - 6




Component Location - 17

Fig. 17:





Component Location - 27




Component Location - 29




Component Location - 28

Fig. 28:







Connector:
Name : MODULE-TOTALLY INTEGRATED POWER C4
Color : LT. GRAY
# of pins : 16




Pin Description Circuit
1 - -
2 RIGHT SIDE REPEATER LAMP CONTROL OUTPUT L162 18WT/BR
3 HOOD AJAR SWITCH SENSE G70 18VT/LB
4 - -
5 - -
6 LEFT SIDE REPEATER LAMP CONTROL OUTPUT L163 18WT/VT
7 RIGHT FRONT TURN SIGNAL CONTROL L160 18WT/TN
8 - -
9 LEFT FRONT TURN SIGNAL CONTROL L161 18WT/LG
10 - -
11 RIGHT FRONT FOG LAMP CONTROL L90 18WT/OR
12 HEADLAMP ADJUST SIGNAL L13 18WT/YL
13 HEADLAMP LEVEL CONTROL SIGNAL L135 20LG/WT
14 AAT RETURN G931 18VT/BR
15 AAT SIGNAL G31 18VT/LG
16 LEFT FRONT FOG LAMP CONTROL L89 18WT/YL

Component Location - 6




Component Location - 17

Fig. 17:





Component Location - 27




Component Location - 29




Component Location - 28

Fig. 28:







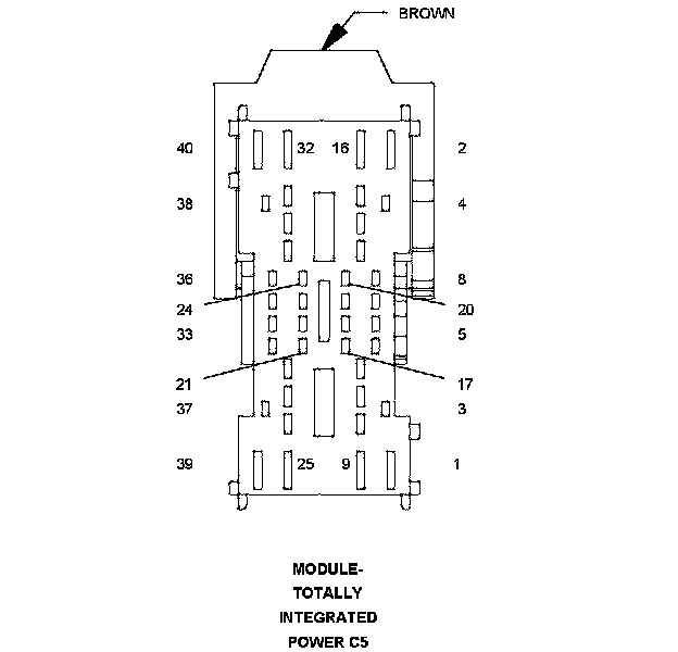
Connector:
Name : MODULE-TOTALLY INTEGRATED POWER C5
Color : BROWN
# of pins : 40




Pin Description Circuit
1 - -
2 - -
3 FUSED B(+) A901 18RD
4 FUSED RUN/START RELAY OUTPUT F943 18PK/LG
5 PASSENGER DOOR UNLOCK DRIVER P940 18TN/BR
6 FUSED B(+) A855 20DG/RD
7 RIGHT REAR DOOR UNLOCK DRIVER P34 18TN/LB
8 LEFT REAR PARK LAMP CONTROL OUTPUT L17 18WT/LG
9 FUSED ASD RELAY OUTPUT F342 14BR/WT
10 FUSED FUEL PUMP OUTPUT N1 16DB/OR
11 FRONT WIPER HIGH/LOW RELAY HIGH SPEED OUTPUT W4 14BR/OR
12 FRONT WIPER HIGH/LOW RELAY LOW SPEED OUTPUT W3 14BR/WT
13 - -
14 GROUND Z907 16BK/PK
15 BACKUP LAMP RELAY OUTPUT L1 18WT/LG
16 FUSED B(+) (PUMP) A107 12TN/RD
17 LIFTGATE UNLOCK DRIVER P306 16LG/LB
18 LEFT REAR DOOR UNLOCK DRIVER P5 18TN/OR
19 FUSED REAR WINDOW DEFOGGER RELAY OUTPUT C110 20DB/LB
20 - -
21 - -
22 FUSED B(+) A408 18WT/RD
23 FUSED B(+) (I.O.D.) A413 18RD
24 - -
25 - -
26 - -
27 FUSED REAR WIPER MOTOR CONTROL OUTPUT W13 16BR/LG
28 GROUND Z903 14BK
29 FUSED B(+) (I.O.D.) A116 14YL/RD
30 - -
31 FUSED B(+) (VALVE) A111 14DG/RD
32 FUSED REAR WINDOW DEFOGGER RELAY OUTPUT C15 12DB/WT
33 FUSED B(+) (I.O.D.) A414 18RD
34 - -
35 FUSED B(+) (I.O.D.) A416 18RD
36 RIGHT REAR PARK LAMP CONTROL OUTPUT L217 18WT/VT
37 - -
38 FUSED RUN/START RELAY OUTPUT F941 20PK/LG
39 - -
40 FUSED B(+) A959 14RD

Component Location - 6




Component Location - 17

Fig. 17:





Component Location - 27




Component Location - 29




Component Location - 28

Fig. 28:







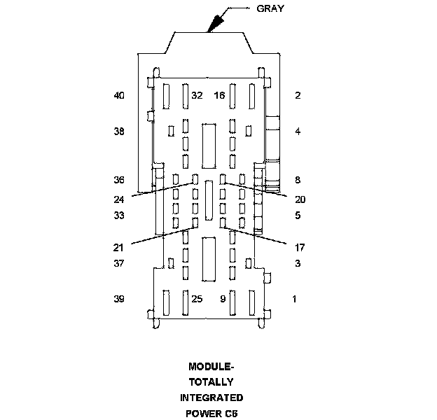
Connector:
Name : MODULE-TOTALLY INTEGRATED POWER C6
Color : GRAY
# of pins : 40




Pin Description Circuit
1 - -
2 - -
3 DRIVER DOOR UNLOCK DRIVER P910 16TN/LG
4 PASSENGER DOOR LOCK DRIVER P920 18LG/GY
5 FUSED B(+) (I.O.D.) A412 18RD
6 LIFTGATE LOCK DRIVER P304 16LG/DB
7 FUSED RUN/START RELAY OUTPUT F201 18PK/OR
8 DRIVER DOOR LOCK DRIVER P930 18TN/WT
9 - -
10 FUSED B(+) A207 18RD/LG
11 BLOWER MOTOR SUPPLY C7 10DB
12 - -
13 - -
14 HEATED SEAT MODULE SUPPLY P693 16LG/WT
15 FUSED B(+) A906 16DB/PK
15 FUSED B(+) A906 16RD
16 FUSED RUN/ACCESSORY RELAY OUTPUT F30 14PK/YL
17 TRAILER TOW IGNITION FEED F71 16PK/TN
18 LEFT REAR DOOR LOCK DRIVER P32 18TN/VT
19 FUSED RUN RELAY OUTPUT F921 20PK/YL
20 RIGHT REAR DOOR LOCK DRIVER P38 18TN/DB
21 FUSED B(+) A106 20LB/RD
22 - -
23 - -
24 FUSED B(+) A100 16RD/VT
24 FUSED B(+) A100 18RD/VT
25 - -
26 FUSED ACCESSORY RELAY OUTPUT F306 18DB/PK
26 FUSED ACCESSORY RELAY OUTPUT F306 16DB/PK
27 FUSED B(+) A904 16RD
28 - -
29 FUSED B(+) A909 18RD
30 TRAILER TOW BRAKE B(+) A206 18RD
31 FUSED B(+) A108 18LG/RD
32 FUSED B(+) A907 12RD
33 FUSED B(+) A27 20RD/LB
34 - -
35 - -
36 - -
37 - -
38 FUSED RUN RELAY OUTPUT F100 20PK/VT
39 FUSED B(+) A215 14RD/LG
40 FUSED B(+) A214 14RD/LB

Component Location - 6




Component Location - 17

Fig. 17:





Component Location - 27




Component Location - 29




Component Location - 28

Fig. 28:







Connector:
Name : MODULE-TOTALLY INTEGRATED POWER C7
Color :
# of pins : 50




Pin Description Circuit
1 BRAKE FLUID LEVEL SIGNAL B20 20DG/OR
2 DRIVER DOOR LOCK SWITCH MUX G161 20VT/DG
3 PASSENGER DOOR LOCK SWITCH MUX G160 20VT/LG
4 - -
5 - -
6 REAR FOG LAMP SIGNAL CONTROL L899 18WT/DB
6 REAR FOG LAMP SIGNAL CONTROL L899 18WT/OR
7 FUEL LEVEL SIGNAL N4 18DB/WT
8 FRONT WIPER PARK SWITCH SENSE W7 20BR/GY
9 HAZARD SWITCH SENSE L91 18WT/DB
10 BRAKE LAMP SWITCH OUTPUT L51 18WT/DG
10 BRAKE LAMP SWITCH OUTPUT L51 18WT/TN
11 DRIVER DOOR AJAR SWITCH SENSE G75 20VT
12 PASSENGER DOOR AJAR SWITCH SENSE G74 20VT/WT
13 - -
14 RIGHT REAR DOOR AJAR SWITCH SENSE G76 20VT/YL
15 LIFTGATE AJAR SWITCH SENSE G78 20VT/OR
16 LEFT REAR DOOR AJAR SWITCH SENSE G77 20VT/GY
17 - -
18 - -
19 - -
20 DRIVER SEAT BELT SWITCH SENSE R57 20LG/GY
21 - -
22 - -
23 - -
24 DIAGNOSTIC CAN C (+) D72 20WT/LB
25 DIAGNOSTIC CAN C (-) D71 20WT/DB
26 CAN INTERIOR BUS (+) D265 20WT/GY
27 CAN INTERIOR BUS (-) D264 20WT/OR
28 - -
29 - -
30 IGNITION SWITCH OUTPUT (RUN-START) F20 20PK/WT
31 REAR WIPER PARK SWITCH SENSE W17 20BR/DB
32 - -
33 - -
34 DOOR LOCK SWITCH RETURN P37 20LG/TN
35 - -
36 - -
37 - -
38 SECONDARY DOOR UNLOCK RELAY CONTROL P391 18LG/DB
39 - -
40 INVERTOR CONTROL OUTPUT P805 18LG/LB
41 SECONDARY DOOR LOCK RELAY CONTROL P390 18LG/LB
42 - -
43 - -
44 - -
45 - -
46 - -
47 LEFT REAR STOP SIGNAL CONTROL L53 18DG/WT
48 RIGHT REAR STOP SIGNAL CONTROL L54 18WT/LG
49 LEFT REAR STOP/TURN SIGNAL CONTROL L63 18DG/WT
50 RIGHT REAR STOP/TURN SIGNAL CONTROL L62 18WT/OR

Component Location - 6




Component Location - 17

Fig. 17:





Component Location - 27




Component Location - 29




Component Location - 28

Fig. 28:







Connector:
Name : MODULE-TOTALLY INTEGRATED POWER C8
Color :
# of pins : 1




Pin Description Circuit
1 B(+) A0 4RD
Pin Description Circuit
1 B(+) A0 6RD

Component Location - 6




Component Location - 17

Fig. 17:





Component Location - 27




Component Location - 29




Component Location - 28

Fig. 28: