LEMON Manuals: Even more car manuals for everyone: 1960-2025
Home >> Dodge and Ram >> 2008 >> Caliber L4-2.0L >> Repair and Diagnosis >> Diagrams >> Connector Views >> Engine Control Module
April 5, 2026: LEMON Manuals is launched! Read the announcement.

Engine Control Module




Component ID: 132
Component : MODULE-POWERTRAIN CONTROL

Connector:
Name : MODULE-POWERTRAIN CONTROL C1
Color : BLACK
# of pins : 58
Qualifier : (GAS)




Pin Circuit Description
1 F342 14BR/DG FUSED MAIN RELAY OUTPUT
2 Z925 16BK/YL GROUND
3 F342 14BR/DG FUSED MAIN RELAY OUTPUT
4 Z925 16BK/YL GROUND
5 - -
6 - -
7 K299 20BR/RD O2 1/2 HEATER CONTROL
8 - -
9 K152 20BR/LG TIP RETURN
10 - -
11 - -
12 - -
13 V937 20VT/LG S/C SWITCH GROUND
14 - -
15 F202 20PK/GY IGNITION SWITCH OUTPUT (RUN-START)
16 A931 20RD/WT FUSED B(+)
17 - -
18 - -
19 K31 20BR FUEL PUMP CONTROL
20 K904 20DB/DG O2 1/2 RETURN
21 K141 20DB/YL O2 1/2 SIGNAL
22 K858 20BR/GY 5 VOLT SUPPLY
23 F856 20YL/PK 5 VOLT SUPPLY
24 - -
25 T752 20DG/OR STARTER CONTROL
26 V72 20OR/VT S/C SIGNAL 2
27 V71 20VT/OR S/C SIGNAL 1
28 - -
29 K153 20BR/YL TIP SIGNAL
30 K914 20DB/PK SENSOR GROUND
31 - -
32 B15 20DG/WT BRAKE SIGNAL 1
33 - -
34 K400 20BR/VT APP SENSOR GROUND 2
35 K70 20DB/BR EVAP PURGE RETURN
36 K167 20BR/YL APP SENSOR GROUND 1
37 F963 20PK/DB START ENABLE
38 K75 20DB/OR VEHICLE SPEED SIGNAL
39 K52 20DB/WT EVAP PURGE CONTROL
40 - -
41 D65 20WT/BK CAN C BUS (+)
42 - -
43 T26 20DG/OR CLUTCH UPSTOP SIGNAL
44 - -
45 K547 20GY/BR TURBO COOLANT PUMP CONTROL
46 - -
47 K107 20VT/WT ESM SIGNAL
48 K29 20WT/BR APP SIGNAL 2
49 K23 20BR/OR APP SIGNAL 1
50 T141 20YL/RD CLUTCH INTERLOCK SIGNAL
51 K137 20DB/OR BOOST PRESSURE CONTROL
52 B16 20LB/DG BRAKE SIGNAL 2
53 A804 20RD/GY GEN SENSE
54 D64 20WT/LB CAN C BUS (-)
55 - -
56 - -
57 - -
58 K51 20BR/WT MAIN RELAY CONTROL

Component Location - 8




Component Location - 14




Component Location - 17






Connector:
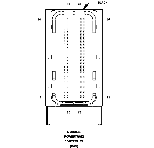
Name : MODULE-POWERTRAIN CONTROL C2
Color : BLACK
# of pins : 96
Qualifier : (GAS)




Pin Circuit Description
1 K124 20DB/GY ETC MOTOR (+)
2 - -
3 - -
4 - -
5 - -
6 C27 20LB/WT A/C COMPRESSOR CONTROL
7 - -
8 K21 20BK/RD IAT SIGNAL
9 - -
10 - -
11 K222 20BR/YL ECT 2 SIGNAL
12 - -
13 - -
14 - -
15 - -
16 - -
17 - -
18 - -
19 - -
20 - -
21 K13 20BR/LB INJECTOR 3 CONTROL
22 K14 20BR/TN INJECTOR 4 CONTROL
23 K11 20YL/BR INJECTOR 1 CONTROL
24 K12 20BR/DB INJECTOR 2 CONTROL
25 K126 20DB/LG ETC MOTOR (-)
26 - -
27 K601 20BR/VT MFV CONTROL
28 - -
29 - -
30 - -
31 - -
32 - -
33 K41 20BK/DG O2 1/1 SIGNAL
34 - -
35 - -
36 K902 20BR/DG O2 1/1 RETURN
37 G24 20VT/BR EOT SIGNAL
38 K441 20DB/BR CMP 1/2 SIGNAL
39 - -
40 - -
41 F855 20PK/YL 5 VOLT SUPPLY
42 K857 20BR/LG 5 VOLT SUPPLY
43 - -
44 - -
45 - -
46 - -
47 K150 20BR/LG SURGE SOL CONTROL
48 - -
49 K99 20BR/OR O2 1/1 HEATER CONTROL
50 - -
51 K20 20BR/GY GEN FIELD CONTROL
52 - -
53 - -
54 - -
55 - -
56 - -
57 K44 20DB CMP 1/1 SIGNAL
58 K915 20BR/WT SENSOR GROUND
59 - -
60 - -
61 - -
62 K922 20BR TP SENSOR GROUND
63 K122 20DG/BR TP SIGNAL 2
64 K22 20OR/BR TP SIGNAL 1
65 K942 20WT/BR KS RETURN
66 - -
67 - -
68 - -
69 - -
70 K76 20LB/WT CMP 1/1 CONTROL
71 - -
72 K276 20DB/WT CMP 1/2 CONTROL
73 K15 18GY/DB COIL 4 CONTROL
74 K18 18DB/OR COIL 3 CONTROL
75 K17 18DB/TN COIL 2 CONTROL
76 K19 18DG/LB COIL 1 CONTROL
77 - -
78 - -
79 K24 20LB/BR CKP SIGNAL
80 - -
81 - -
82 K900 20DB/DG SENSOR GROUND
83 K2 20VT/OR ECT 1 SIGNAL
84 K602 20YL/DB MFV SIGNAL
85 K1 20VT/LB MAP SIGNAL
86 G6 20VT/GY EOP SIGNAL
87 - -
88 K42 20LG/DB KS SIGNAL
89 - -
90 - -
91 - -
92 - -
93 - -
94 - -
95 - -
96 - -

Component Location - 8




Component Location - 14




Component Location - 17