LEMON Manuals: Even more car manuals for everyone: 1960-2025
Home >> Dodge and Ram >> 2008 >> Caliber R/T, AWD >> Repair and Diagnosis >> Engine Performance >> Testing & Diagnosis >> Intermittent Condition, System Checks, Component Checks, Tests, Pcm Verification Test, Pcm/ECM Programming - Gas, Pre- Diagnostic Troubleshooting Procedure >> *No Response With A No Start Condition >> Diagnostic Test
April 5, 2026: LEMON Manuals is launched! Read the announcement.

Diagnostic Test

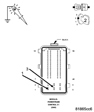
  1. (A931) FUSED B+ CIRCUIT (PCM) 
    Fig 1: Checking Fused B+ Circuit In PCM Harness Connector C1
    GC0053276Courtesy of CHRYSLER LLC
    NOTE: The scan tool and cable must be operating properly for the results of this test to be valid.
    NOTE: Make sure the ignition switch was on while trying to communicate with the PCM.

    Turn the ignition off.

    Disconnect the C1 PCM harness connectors.

    NOTE: When checking circuits at the Powertrain Control Module (PCM), be careful not to damage or distort the connector terminals. Improper measurement technique could result in poor pin to terminal contact.

    Using a 12-volt test light connected to ground, probe the (A931) Fused B+ circuit in the PCM harness connector.

    NOTE: The test light should be illuminated and bright. Compared the brightness to that of a direct connection to the battery.

    Does the test light illuminate brightly? 

    Yes 

    1. Go to step  2.

    No 

    1. Repair the open or short to ground in the (A931) Fused B+ circuit. Inspect and replace fuses as necessary.
    2. Perform PCM VERIFICATION TEST .
  2. (F202) IGNITION SWITCH OUTPUT (RUN-START) CIRCUITS (PCM) 
    Fig 2: Checking Fused Ignition Switch Output Circuit In PCM Harness Connector
    GC0053278Courtesy of CHRYSLER LLC

    Turn the ignition on.

    NOTE: When checking circuits at the Powertrain Control Module (PCM), be careful not to damage or distort the connector terminals. Improper measurement technique could result in poor pin to terminal contact.

    Using a 12-volt test light connected to ground, probe the (F202) Fused Ignition Switch Output circuit in the PCM harness connector.

    Turn the ignition to run.

    NOTE: The test light should be illuminated and bright. Compared the brightness to that of a direct connection to the battery.

    Does the test light illuminate brightly? 

    Yes 

    1. Go to step  3.

    No 

    1. Repair the (F202) Ignition Switch Output circuits. Inspect and replace fuses as necessary.
    2. Perform PCM VERIFICATION TEST .
  3. (Z925) GROUND CIRCUITS (PCM) 
    Fig 3: Checking PCM Ground Circuits
    GC0053277Courtesy of CHRYSLER LLC

    Turn the ignition off.

    NOTE: When checking circuits at the Powertrain Control Module (PCM), be careful not to damage or distort the connector terminals. Improper measurement technique could result in poor pin to terminal contact.

    Using a 12-volt test light connected to battery voltage, probe both the (Z925) PCM ground circuits

    NOTE: The test light should be illuminated and bright. Compared the brightness to that of a direct connection to the battery.

    Does the test light illuminate brightly at both terminals? 

    Yes 

    1. Go to step  4.

    No 

    1. Repair the Ground circuit(s).
    2. Perform PCM VERIFICATION TEST .
  4. (A14) FUSED B+ CIRCUIT (MAIN RELAY) 
    Fig 4: Checking Fused B+ Circuit At Main Relay Terminal
    GC0054154Courtesy of CHRYSLER LLC

    Turn the ignition off.

    Remove the Main Relay.

    Using a 12-volt test light connected to ground, probe the (A14) Fused B+ circuit at the Main Relay terminal.

    NOTE: The test light should be illuminated and bright. Compared the brightness to that of a direct connection to the battery.

    Does the test light illuminate brightly? 

    Yes 

    1. Go to step  5.

    No 

    1. Repair the (A14) Fused B+ circuit.
    2. Perform PCM VERIFICATION TEST .
  5. (A935) FUSED B+ CIRCUIT (MAIN RELAY) 
    Fig 5: Checking Fused B+ Circuit At Main Relay Terminal
    GC0054155Courtesy of CHRYSLER LLC

    Using a 12-volt test light connected to ground, probe the (A935) Fused B+ circuit at the Main Relay terminal.

    NOTE: The test light should be illuminated and bright. Compared the brightness to that of a direct connection to the battery.

    Does the test light illuminate brightly? 

    Yes 

    1. Go to step  6.

    No 

    1. Repair the (A935) Fused B+ circuit.
    2. Perform PCM VERIFICATION TEST .
  6. (F342) MAIN RELAY OUTPUT CIRCUITS 
    Fig 6: Checking Main Relay Output Circuits
    GC0054156Courtesy of CHRYSLER LLC

    Turn the ignition on.

    Using a jumper wire, jumper across the Main Relay from (K542) Main Relay Output circuit and the (A14) Fused B+ circuit.

    NOTE: When checking circuits at the Powertrain Control Module (PCM), be careful not to damage or distort the connector terminals. Improper measurement technique could result in poor pin to terminal contact.

    With a 12-volt test light connected to ground, probe the (F342) Main Relay Output circuits in the PCM harness connector.

    NOTE: The test light should be illuminated and bright. Compared the brightness to that of a direct connection to the battery.

    Does the test light illuminate brightly at both terminals? 

    Yes 

    1. Go to step  8.

    No 

    1. Go to step  7.
  7. (K542) MAIN RELAY OUTPUT CIRCUIT 
    Fig 7: Checking Main Relay Output Circuit In TIPM Harness Connector
    GC0054157Courtesy of CHRYSLER LLC

    Jumper wire still installed.

    Disconnect the C8 TIPM harness connector.

    Using a 12-volt test light connected to ground, probe the (K542) Main Relay Output circuit in the TIPM harness connector.

    NOTE: The test light should be illuminated and bright. Compared the brightness to that of a direct connection to the battery.

    Does the test light illuminate brightly? 

    Yes 

    1. Repair the (K542) Main Relay Output circuit between the TIPM and the Main Relay. Inspect the related fuses.
    2. Perform PCM VERIFICATION TEST .

    No 

    1. Repair the (F342) Main Relay Output circuit(s).
    2. Perform PCM VERIFICATION TEST .
  8. MAIN RELAY OUTPUT 

    Turn the ignition off.

    Remove one end of the jumper wire.

    Connect the PCM harness connector.

    Turn the ignition on.

    Return the jumper wire across the Main Relay.

    Using a scan tool, attempt to communication with the PCM.

    Were you able to communication with the PCM? 

    Yes 

    1. Go to step  9.

    No 

    1. Go to step  11.
  9. MAIN RELAY 
    Fig 8: Checking Main Relay Control Circuit In Main Relay Connector
    GC0054158Courtesy of CHRYSLER LLC
    NOTE: To continue the following test, leave the jumper wire in place with the ignition on.

    Using the scan tool, actuate the Main Relay.

    Using a 12-volt test light connected to battery voltage, probe the (K51) Main Relay Control circuit in the Main Relay connector.

    Does the test light illuminate and flash on and off? 

    Yes 

    1. Replace the Main Relay.
    2. Perform PCM VERIFICATION TEST .

    No 

    1. Go to step  10.
  10. (K51) MAIN RELAY CONTROL CIRCUIT 
    Fig 9: Checking Main Relay Control Circuit For Open
    GC0054159Courtesy of CHRYSLER LLC

    Turn the ignition off.

    Disconnect the PCM harness connector.

    Disconnect the C1 PCM harness connector.

    NOTE: When checking circuits at the Powertrain Control Module (PCM), be careful not to damage or distort the connector terminals. Improper measurement technique could result in poor pin to terminal contact.

    Measure the resistance of the (K51) Main Relay Control circuit between the PCM harness connector and the Main relay connector.

    Is the resistance below 5.0 ohms? 

    Yes 

    1. Repair the open in the (K51) Main Relay Control circuit.
    2. Perform PCM VERIFICATION TEST .

    No 

    1. Replace and program the Powertrain Control Module per Service Information.
    2. Perform PCM VERIFICATION TEST .
  11. (D65) CAN C BUS (+) CIRCUIT OPEN 
    Fig 10: Measuring Resistance
    GC0053279Courtesy of CHRYSLER LLC

    Turn the ignition off.

    Disconnect the TIPM harness connector.

    NOTE: When checking circuits at the Powertrain Control Module (PCM), be careful not to damage or distort the connector terminals. Improper measurement technique could result in poor pin to terminal contact.

    Measure the resistance of the (D65) CAN C Bus (+) circuit between the TIPM connector and the PCM harness connector.

    Is the resistance below 5.0 ohms? 

    Yes 

    1. Go to step  12.

    No 

    1. Repair the (D65) CAN C Bus (+) circuit for an open.
    2. Perform PCM VERIFICATION TEST .
  12. (D64) CAN C BUS (-) CIRCUIT OPEN 
    Fig 11: Checking CAN C Bus (-) Circuit For Open
    GC0053280Courtesy of CHRYSLER LLC
    NOTE: When checking circuits at the Powertrain Control Module (PCM), be careful not to damage or distort the connector terminals. Improper measurement technique could result in poor pin to terminal contact.

    Measure the resistance of the (D64) CAN C Bus (-) circuit between the TIPM connector and the PCM harness connector.

    Is the resistance below 5.0 ohms? 

    Yes 

    1. Replace and program the Powertrain Control Module in accordance with the service information.
    2. Perform PCM VERIFICATION TEST .

    No 

    1. Repair the (D64) CAN C Bus (-) circuit for an open.
    2. Perform PCM VERIFICATION TEST .