LEMON Manuals: Even more car manuals for everyone: 1960-2025
Home >> Dodge and Ram >> 2008 >> Durango 2WD V8-4.7L >> Repair and Diagnosis >> Diagrams >> Connector Views >> Power Distribution Module >> Module-Front Control
April 5, 2026: LEMON Manuals is launched! Read the announcement.

Module-Front Control




Component ID: 175
Component : MODULE-FRONT CONTROL

Connector:
Name : MODULE-FRONT CONTROL C1
Color : BLACK
# of pins : 24




Pin Circuit Description
1 Z116 18BK/VT GROUND
2 D55 20WT/OR CAN B BUS (+)
3 D54 20WT CAN B BUS (-)
4 F924 20PK/YL FUSED IGNITION SWITCH OUTPUT (START)
5 D52 20WT/LB CAN C DIAGNOSTIC (+)
6 D51 20PK/RD CAN C DIAGNOSTIC (-)
7 - -
8 D65 20YL/RD CAN C BUS (+)
9 D64 20WT/LB CAN C BUS (-)
10 B20 20DG/OR BRAKE FLUID LEVEL SWITCH SENSE
11 C18 20LB/BR A/C PRESSURE SIGNAL
12 - -
13 - -
14 W17 18BR/LG REAR WIPER PARK SWITCH SENSE
15 - -
16 T103 20YL/OR 5 VOLT SUPPLY
17 D201 20WT/DG MODE SENSOR A
18 W1 20BR/TN FRONT WASHER PUMP MOTOR CONTROL
19 - -
20 - -
21 L50 20WT/TN BRAKE LAMP SWITCH OUTPUT
22 Z117 18BK/WT GROUND
23 - -
24 Z965 18BK GROUND

Component Location - 9






Connector:
Name : MODULE-FRONT CONTROL C2
Color : BLACK
# of pins : 12




Pin Circuit Description
1 L44 18WT/TN RIGHT LOW BEAM DRIVER
2 P807 20OR INVERTER SWITCH SIGNAL
3 - -
4 G31 20VT/OR AAT SIGNAL
5 G931 20VT/BR SENSOR GROUND
6 L43 18WT/DB LEFT LOW BEAM DRIVER
7 L33 18WT/LG LEFT HIGH BEAM DRIVER
8 L60 18WT/TN RIGHT TURN SIGNAL
9 - -
10 L61 18WT/LG LEFT TURN SIGNAL
11 Z947 18BK GROUND
12 L34 18WT/GY RIGHT HIGH BEAM DRIVER

Component Location - 9






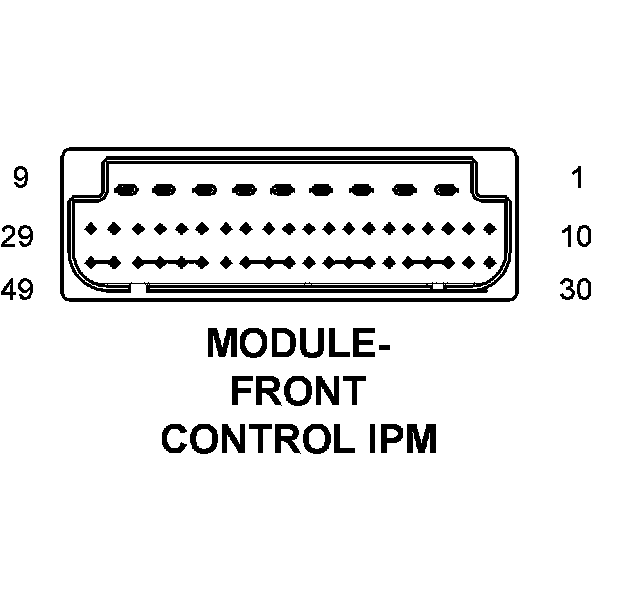
Connector:
Name : MODULE-FRONT CONTROL IPM
Color :
# of pins : 49




Pin Circuit Description
1 Z921 14BK GROUND
2 A908 18RD FUSED B(+)
3 A906 18RD FUSED B(+)
4 A905 18RD FUSED B(+)
5 A907 18RD FUSED B(+)
6 A909 14RD FUSED B(+)
7 L1 18WT/RD BACKUP LAMP FEED
8 T101 14DG SHIFT MOTOR (+)
9 T102 14YL SHIFT MOTOR (-)
10 C115 20DB DEFOGGER RELAY CONTROL
11 W20 18BR/YL REAR WASHER PUMP MOTOR CONTROL
12 W10 18BR FRONT WASHER PUMP MOTOR CONTROL
13 F1 20PK/DG FUSED IGNITION SWITCH OUTPUT (OFF-RUN-START)
14 K617 20BR RUN/START RELAY CONTROL
15 A920 14RD FUSED B(+)
16 C229 20DB FRONT BLOWER CONTROL
17 F202 20PK/GY FUSED IGNITION SWITCH OUTPUT (RUN-START)
18 Z118 18BK/YL GROUND
19 Z909 18BK GROUND
20 - -
21 L656 20WT/DG RIGHT TRAILER TOW BRAKE LAMP RELAY CONTROL
22 L655 20WT/OR LEFT TRAILER TOW BRAKE LAMP RELAY CONTROL
23 - -
24 Z909 18BK GROUND
25 Z118 18BK/YL GROUND
26 L139 20WT/YL FOG LAMP RELAY CONTROL
27 W5 20BR/LG ON/OFF WIPER RELAY CONTROL
28 W12 20BR/OR REAR WIPER RELAY CONTROL
29 W2 20BR/LG HIGH/LOW WIPER RELAY CONTROL
30 A955 14RD ASD RELAY OUTPUT
31 W7 20BR/GY FRONT WIPER PARK SWITCH SENSE
32 Z909 18BK GROUND
33 Z118 18BK/YL GROUND
34 L62 18VT/GY RIGHT TURN SIGNAL
35 G180 20VT/YL FCM SENSOR RETURN
36 - -
37 - -
38 P305 20LG/LB ACCESSORY DELAY RELAY CONTROL
39 N201 20DB/LG LOW SPEED RADIATOR FAN RELAY CONTROL
40 - -
41 Z118 18BK/YL GROUND
42 - -
43 L63 18WT/DG LEFT TURN SIGNAL
44 G70 20VT/LB HOOD AJAR SWITCH SENSE
45 - -
46 P201 20LG/DB ADJUSTABLE PEDALS RELAY CONTROL
47 X4 20DG/WT HORN RELAY CONTROL
48 L779 20WT/LB PARK LAMP RELAY CONTROL
49 N112 20DB/OR HIGH SPEED RADIATOR FAN RELAY CONTROL

Component Location - 9