LEMON Manuals: Even more car manuals for everyone: 1960-2025
Home >> Dodge and Ram >> 2008 >> Magnum Base >> Repair and Diagnosis (Single Page) >> Accessories & Equipment >> Anti-Theft Systems >> Vehicle Theft Security System - Electrical Diagnostics >> Vehicle Theft Security - Electrical Diagnostics >> DTC Troubleshooting >> B1A44-Security Receiver Sensor Circuit Open >> Diagnostic Test
April 5, 2026: LEMON Manuals is launched! Read the announcement.

Diagnostic Test

  1. 1) TEST FOR INTERMITTENT CONDITION 

    Turn the ignition on.

    With the scan tool, record and erase DTC's.

    Turn the ignition off and remove the key from the ignition.

    Close all doors and arm the VTSS and wait one minute.

    Disarm the VTSS turn the ignition on and wait one minute.

    With the scan tool, read DTC's.

    Does the scan tool display B1A44-SECURITY RECEIVER SENSOR CIRCUIT OPEN? 

    Yes 

    1. Go To  2).

    No 

    1. The conditions that caused this code to set are not present at this time. Using the wiring diagram/schematic as a guide, inspect the wiring and connectors.
    2. Perform BODY VERIFICATION TEST - VER 1 .
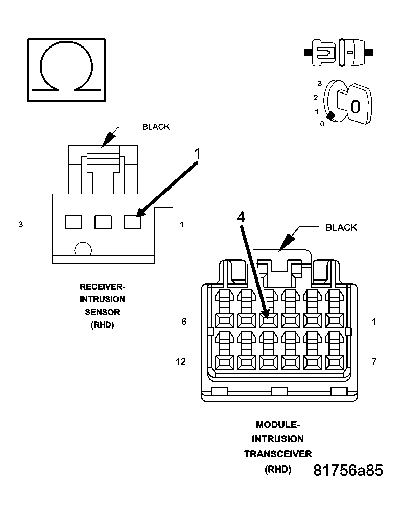
  2. 2) CHECK THE (G460) INTRUSION RECEIVER SENSOR SIGNAL CIRCUIT VOLTAGE 
    Fig 1: Measuring Voltage Between Intrusion Receiver Sensor Signal & Intrusion Receiver Sensor Ground Circuits
    GC0040876Courtesy of CHRYSLER LLC

    Disconnect the Intrusion Sensor Receiver connector.

    NOTE: Check connectors - Clean/repair as necessary.

    Turn the ignition on.

    With the scan tool actuate the Intrusion Sensor Receiver.

    Measure the voltage between (G460) Intrusion Receiver Sensor Signal circuit and (G946) Intrusion Receiver Sensor Ground circuit.

    Is the voltage above 10.0 volts 

    Yes 

    1. Go To  3).

    No 

    1. Go To  4).
  3. 3) CHECK THE INTRUSION SENSOR RECEIVER 

    Turn the ignition off.

    Install a known good Intrusion Sensor Receiver.

    Turn the ignition on.

    With the scan tool erase DTC's.

    Turn the ignition off and remove the key from the ignition.

    Close all doors and arm the VTSS and wait one minute.

    Disarm the VTSS turn the ignition on and wait one minute.

    With the scan tool, read DTC's.

    Does the scan tool display B1A44-SECURITY RECEIVER SENSOR CIRCUIT OPEN? 

    Yes 

    1. Replace the Intrusion Transceiver Module in accordance with the Service Information.
    2. Perform BODY VERIFICATION TEST - VER 1 .

    No 

    1. Replace the original Intrusion Sensor Receiver.
    2. Perform BODY VERIFICATION TEST - VER 1 .
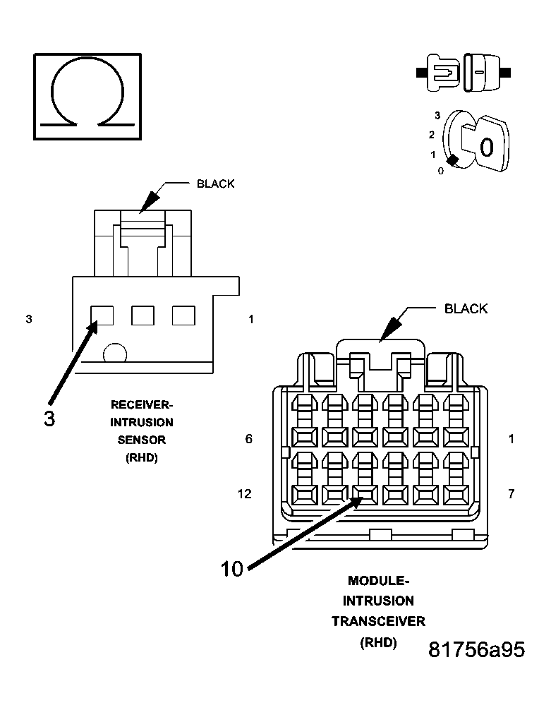
  4. 4) CHECK THE (G460) INTRUSION RECEIVER SENSOR SIGNAL WIRE 
    Fig 2: Measuring Resistance Of Intrusion Receiver Sensor Signal Circuit
    GC0040877Courtesy of CHRYSLER LLC

    Turn the ignition off.

    Disconnect the Intrusion Transceiver Module connector.

    Measure the resistance of the (G460) Intrusion Receiver Sensor Signal circuit between the Intrusion Sensor Receiver connector and the Intrusion Transceiver Module connector.

    Is the resistance below 5.0 ohms? 

    Yes 

    1. Repair the (G460) Intrusion Receiver Sensor Signal circuit for an open.
    2. Perform BODY VERIFICATION TEST - VER 1 .

    No 

    1. Go To  5).
    2. Perform BODY VERIFICATION TEST - VER 1 .
  5. 5) CHECK THE (G946) SENSOR GROUND WIRE FOR AN OPEN 
    Fig 3: Measuring Resistance Of Intrusion Receiver Sensor Ground Circuit
    GC0040878Courtesy of CHRYSLER LLC

    Ensure Ignition is off.

    Measure the resistance of the (G946) Intrusion Receiver Sensor Ground circuit from the Intrusion Sensor Receiver connector to the Intrusion Transceiver Module connector.

    Is the resistance below 5.0 ohms? 

    Yes 

    1. Replace the Intrusion Transceiver Module in accordance with the Service Information.
    2. Perform BODY VERIFICATION TEST - VER 1 .

    No 

    1. Repair the (G946) Intrusion Receiver Sensor Ground circuit for an open.
    2. Perform BODY VERIFICATION TEST - VER 1 .