LEMON Manuals: Even more car manuals for everyone: 1960-2025
Home >> Dodge and Ram >> 2008 >> Magnum Base >> Repair and Diagnosis (Single Page) >> Accessories & Equipment >> Communication Devices >> Electronic Control Modules - Electrical Diagnostics >> Electronic Control Modules - Electrical Diagnostics >> DTC Troubleshooting >> U0193-Lost Communication With Traffic Information Receiver Module >> Diagnostic Test
April 5, 2026: LEMON Manuals is launched! Read the announcement.

Diagnostic Test

  1. VERIFY DTC IS ACTIVE 
    NOTE: Ensure the IOD fuse is installed and battery voltage is between 10 and 16 volts before proceeding.

    With the scan tool, read active DTCs.

    Is this DTC active? 

    Yes 

    1. Go To  2.

    No 

    1. Refer to the *STORED LOST COMMUNICATION DTCS  diagnostic procedure.
  2. CHECK FOR ANY OF THE FOLLOWING ACTIVE DTCS 

    With the scan tool, read active DTCs from all modules.

    NOTE: Check for TIPM configuration, CAN B or C hardware electrical, VIN Missing/Mismatch, battery or ignition related DTCs.

    Does the scan tool display any active DTCs to the conditions listed above? 

    Yes 

    1. Diagnose and repair the DTC. Refer to appropriate ELECTRICAL DIAGNOSTICS article.

    No 

    1. Go To  3.
  3. VERIFY THAT THE TIRM IS ACTIVE ON THE BUS 

    Turn the ignition on.

    With the scan tool, select ECU View.

    NOTE: A red X will be next to the module that is not communicating, indicating that the module is not active on the Bus network. A green check indicates that the module is active on the Bus network.

    Verify that the TIRM is active on the bus.

    Is the TIRM active on the bus? 

    Yes 

    1. Replace and program the Totally Integrated Power Module in accordance with the service information.
    2. Perform BODY VERIFICATION TEST - VER 1 .

    No 

    1. Go To  4.
  4. (A300) FUSED B(+) CIRCUIT OPEN 
    Fig 1: Checking Fused B(+) Circuit
    GC0040691Courtesy of CHRYSLER LLC

    Turn the ignition off.

    Disconnect the Traffic Information Receiver Module harness connector.

    Using a 12-volt test light connected to ground, check the (A300) Fused B(+) circuit.

    Does the test light illuminate brightly? 

    Yes 

    1. Go To  5.

    No 

    1. Repair the (A300) Fused B(+) circuit for an open or short.
    2. Perform BODY VERIFICATION TEST - VER 1 .
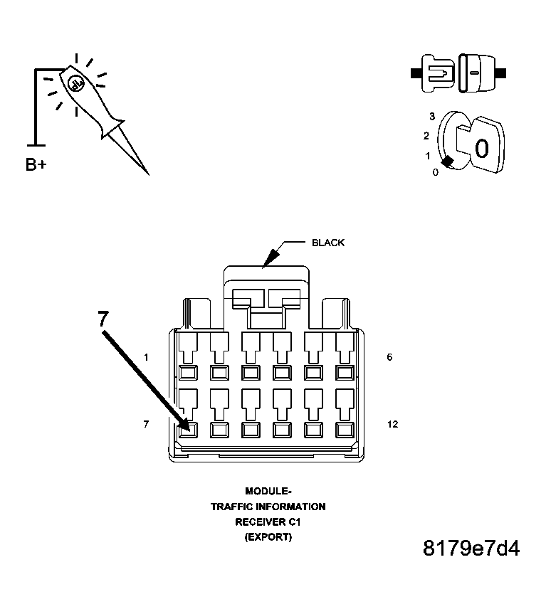
  5. (Z909) GROUND CIRCUIT OPEN 
    Fig 2: Checking Ground Circuit
    GC0040692Courtesy of CHRYSLER LLC

    Using a 12-volt test light connected to 12-volts, check the (Z909) ground circuit.

    Does the test light illuminate brightly? 

    Yes 

    1. Go To  6.

    No 

    1. Repair the (Z909) ground circuit for an open.
    2. Perform BODY VERIFICATION TEST - VER 1 .
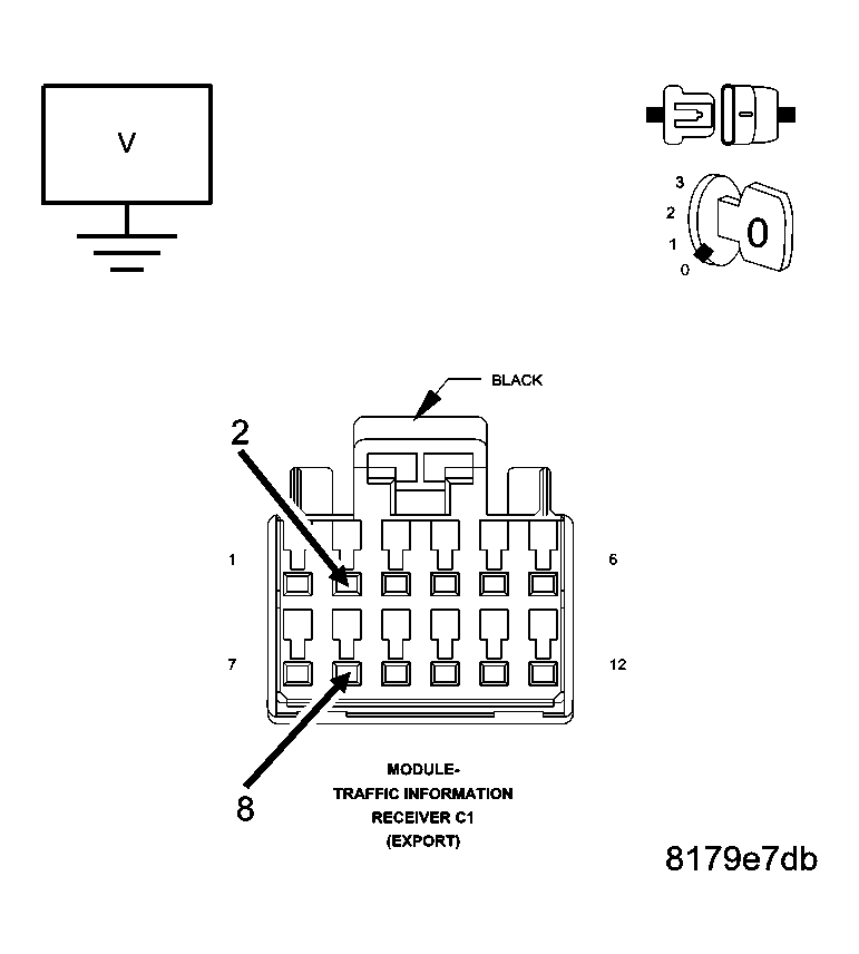
  6. (D55) AND (D54) CAN B BUS CIRCUITS OPEN 
    Fig 3: Checking CAN B(+) Circuit & CAN B BUS(-) Circuit
    GC0040693Courtesy of CHRYSLER LLC
    NOTE: One open circuit will not cause this condition.

    Measure the voltage between the (D54) CAN B Bus (-) circuit and ground.

    Measure the voltage between the (D55) CAN B Bus (+) circuit and ground.

    Is there any voltage present on either circuit? 

    Yes 

    1. Replace the Traffic Information Receiver Module in accordance with the service information.
    2. Perform BODY VERIFICATION TEST - VER 1 .

    No 

    1. Repair the (D55) and (D54) CAN B Bus circuits for an open. Inspect the connector for damage.
    2. Perform BODY VERIFICATION TEST - VER 1 .